The following pages detail the three different network configuration types: free running/line timing, external timing/line timing, and external timing.
For initial SONET deployment with DS1 and/or DS3 low-speed interfaces, minimum first cost may be a primary concern. The free running/line timing network can operate without an external clock source, so the expense of connecting to one is eliminated. This configuration may be useful for initial access transport and customer location applications, and also meets the needs of an end-office trunk facility. This configuration should not be used to provide OC-n timing distribution or where SONET interconnections to other SONET networks are needed.
The local Alcatel-Lucent 1665 DMXtend times its transmitted signals at the low- and high-speed interfaces from the internal ±4.6 ppm of the Stratum 3 timing generator. The remote Alcatel-Lucent 1665 DMXtend recovers timing from the incoming OC-n signal and uses this timing for its transmitted signals.
Certain interconnected equipment may be sensitive to such jitter and this configuration should not be used in cases where it would cause a problem for that equipment. In particular, downstream equipment containing Stratum 3 or better clocks could be sensitive to this jitter.
The figure below shows free running/line timed configuration in a ring network.

The figure below shows various Alcatel-Lucent 1665 DMXtend shelves in line timing mode. The top portion of the figure shows the present mode of operation where line timing references must be derived from optical lines entering the Main network interface circuit packs.
The bottom portion of the figure represents Alcatel-Lucent 1665 DMXtend's capability to derive timing references from optical lines entering both the Main and tributary interface circuit packs. Line timing source cannot be derived from an LNW705 circuit pack. Line timing from tributary interfaces is supported. Alcatel-Lucent 1665 DMXtend can utilize tributary line timing when equipped with VLF Mains (LNW84/LNW141), Non-VLF Mains (all other Main interface optical packs).
As shown in the top right of the figure below, the only two shelves that can serve as line timing sources in the present mode of operation are the two furthest to the right. This is because they are connected Main to Main, while the other shelves are transmitting optical signals from tributary interfaces to Main interfaces (or vice versa). The bottom portion of the figure shows how tributary line timing allows any Alcatel-Lucent 1665 DMXtend shelf in the topology pictured to serve as the line timing source.

The external timing/line timing configuration integrates access transport and customer location networks into the digital synchronization network as required by the SONET standard. This application is ideal for networks where only one location has a building integrated timing supply (BITS) clock, for example, access transport. The network is synchronized to a local central office clock via DS1 references. The local office clock should be Stratum 3 or better, with timing traceable to a primary reference source. The local Alcatel-Lucent 1665 DMXtend times its transmitted signals at the low- and high- speed interfaces from the internal oscillator that is locked on the external reference. The remote Alcatel-Lucent 1665 DMXtend recovers timing from the incoming OC-n (OC-3/12/48/192, tributary or Main interface) signal and uses this timing for its transmitted signals.
External timing is required when EC-1 low-speed interfaces are used to interconnect the local Alcatel-Lucent 1665 DMXtend with other SONET equipment. Thus, the external timing/line timing configuration should be the long-term goal for all access transport and customer location applications.
In a ring topology, synchronization messaging allows automatic synchronization reconfiguration in the event of a fiber or equipment failure.
The figure below shows external timing/line timing in a ring configuration.

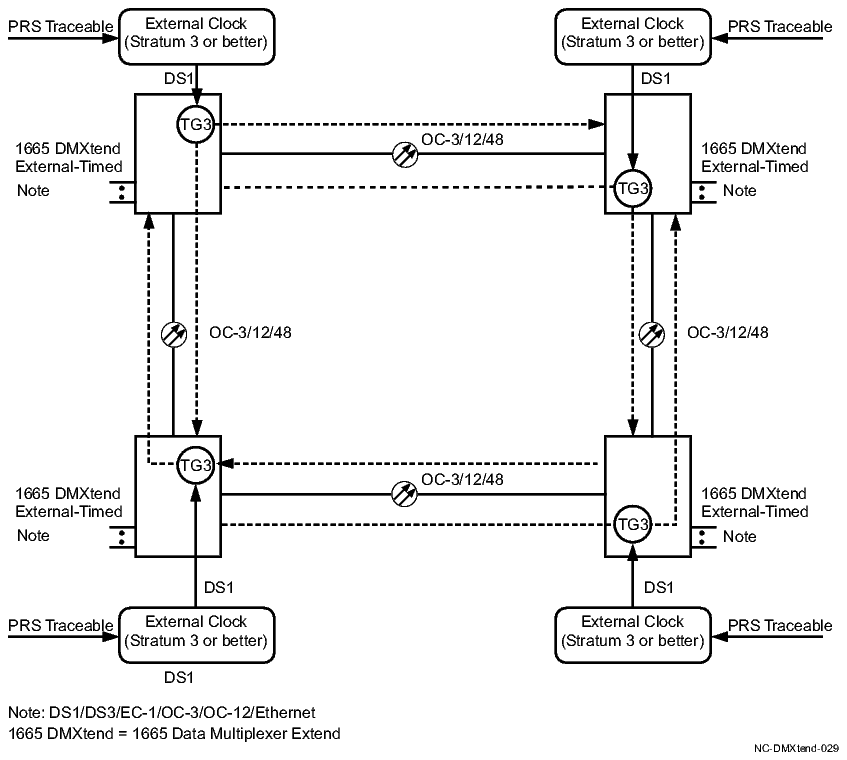
The external timing configuration uses external DS1 or E1 timing to each Alcatel-Lucent 1665 DMXtend in the network. Since it requires local office clocks at each site, it is most suited to interoffice applications. An Alcatel-Lucent 1665 DMXtend network may have all DS1/E1 references traceable to a common primary reference source (for example, out-state trunking) referred to as synchronous, or to multiple primary reference sources (for example, a carrier-to-carrier interface). The multiple primary reference source is referred to as plesiochronous operation. The figure below shows an external timing configuration.
A tributary signal (for example, DS1) that traverses several plesiochronous regions may encounter increased STS-1 and VT pointer adjustments compared to that encountered in a synchronous environment. These pointer adjustments may increase jitter on the tributary when dropped from the SONET network. While standard jitter generation limits are perfectly acceptable for most service needs, some data services or other equipment may be particularly sensitive to jitter-induced degradations. Therefore, it is generally desirable to minimize the number of plesiochronous regions within a network, through Stratum 1 clock traceability and line timing of remote SONET elements.

External timing may be combined with the DS1/E1 timing output feature as shown in the figure below (E1 not pictured). The DS1/E1 timing output feature and plesiochronous operation are mutually exclusive. Each of the network topologies (linear, hubbing, ring) can use external timing.

| September 2013 | Copyright © 2013 Alcatel-Lucent. All rights reserved. |