Pathway: Manage MC ring groups

Stages
NE preconfiguration
 

Configure physical connectivity between the two BSAs and the ring nodes, as shown in Figure 45-6, MC ring group preconfiguration . Each port must be operationally up.

Figure 45-6: MC ring group preconfiguration
MC ring group preconfiguration

Configure a routing protocol on each BSA to enable IP communication; see Chapter 28, Routing protocol configuration for information about configuring routing protocols.


Configure an MVPLS for RNCV on the BSAs; see Chapter 77, VPLS management for information about configuring MVPLS.


Create an MC peer group that has the two BSAs as members and has MC ring synchronization enabled; see Chapter 40, MC peer groups for information about MC peer groups.


In the MC peer group, create an MC synchronization group that specifies each BSA access port. The MC synchronization group can synchronize the port or a VLAN range. See Chapter 44, MC synchronization groups for information about MC synchronization groups.


Configure each ring node with the VLAN tag used for BFD to enable BFD communication through the ring and make each BSA SAP operational.


MC ring group configuration
 

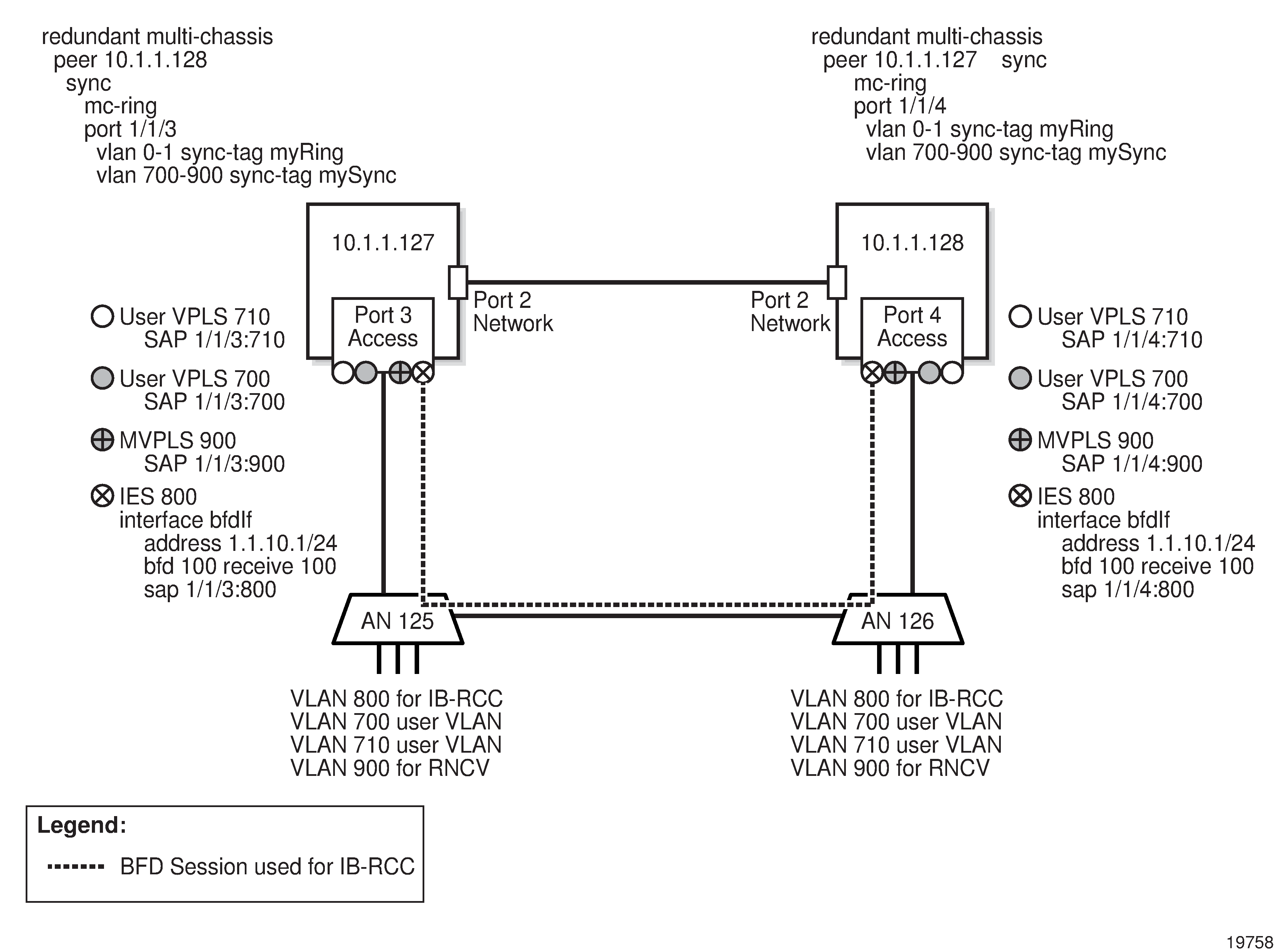
Create an MC ring group that contains the BSAs, which are shown as 10.1.1.127 and 10.1.1.128 in Figure 45-7, MC ring configuration . For each ring node within the ring group, you must specify the management IP address of a ring node as the destination IP address and assign one VLAN for connectivity checking, which is shown in Figure 45-7, MC ring configuration as VLAN 900; see To create an MC ring group for more information.

Figure 45-7: MC ring configuration
MC ring configuration

Create the user VPLS and assign a SAP to each of the two BSA access ports. You can configure a protecting SAP on each BSA to provide SAP-level redundancy, if required; see Chapter 77, VPLS management for information about protecting SAPs.


If the VPLS is to send traffic to an IES or a VPRN service, perform the following steps.

  1. Create a spoke SDP from each VPLS site in the MC ring group to the IES or VPRN service.

  2. Configure traffic forwarding to the IES or VPRN service; see To configure L3 forwarding from a VPLS or MVPLS to an IES or VPRN service .


10 

If the VPLS is to send traffic to redundant VLL Epipes, perform the following steps.

  1. Create a redundant VLL Epipe from each VPLS site in the MC ring group to the BSA that is the common endpoint of the VLL Epipes.

  2. Configure traffic forwarding to each VLL Epipe service; see To configure an MC ring group for redundant VLL Epipe access .


11 

Turn up the MC ring.

At this point, the following statements apply to the Figure 45-7, MC ring configuration configuration.

  • VPLS SAP 700 is operationally up on BSA 10.1.1.127 and operationally down on BSA 10.1.1.128.

  • VPLS SAP 710 is operationally down on BSA 10.1.1.127 and operationally up on BSA 10.1.1.128.

  • The operational state of the ring is Connected.

To test the configuration, you can shut down an access-node port in the ring to break the ring. As a result, the BSA SAPs should remain operationally up, but the operational state of the ring changes to Broken.