EVPN-IFF BGP Attribute Propagation Between Families

This chapter provides information about EVPN-IFF BGP attribute propagation between families .

Topics in this chapter include:

Applicability

The information and MD-CLI configuration in this chapter are based on SR OS Release 22.7.R1. EVPN Interface-ful (EVPN-IFF) BGP attribute propagation between BGP families based on uniform propagation is supported in SR OS Release 21.2.R1 and later.

For more information on routed VPLS in EVPN, see chapters EVPN for VXLAN Tunnels (Layer 3) and EVPN for MPLS Tunnels in Routed VPLS .

Overview

SR OS allows multiple BGP owners in the same VPRN service to receive or advertise IP prefixes contained in the VPRN route table. A VPRN route table can simultaneously install and process IPv4 or IPv6 prefixes for the following owners:

  • EVPN Interface-ful (EVPN-IFF)
  • EVPN Interface-less (EVPN-IFL)
  • VPN-IP (also referred to as IP-VPN routes)
  • IP (also referred to as BGP PE-CE routes)

EVPN-IFF routes are EVPN IP-prefix routes, otherwise known as route type 5 (RT-5) routes, that are imported and exported based on the configuration of the R-VPLS services attached to the VPRN. To enable the EVPN-IFF model, the command configure service vpls <..> bgp-evpn routes ip-prefix advertise true needs to be configured. By default, BGP attributes are re-originated when a prefix is propagated to and from an EVPN-IFF route. However, BGP attributes can be used to influence routing (for example, local preference, Autonomous System (AS) path, communities, and so on), and therefore, SR OS supports EVPN-IFF BGP attribute propagation to other BGP families (uniform propagation), as described in draft-ietf-bess-evpn-ipvpn-interworking.

The following CLI command is used to enable EVPN-IFF BGP attribute propagation and EVPN-IFF best path selection:

[ex:/configure service system bgp evpn]
A:admin@PE-4# ip-prefix-routes ?
 
 ip-prefix-routes
 
 d-path-length-ignore  - Ignore D-PATH length for BGP path selection of EVPN-IFF
 iff-attribute-        - Enable uniform propagation of BGP attributes
  uniform-propagation
 iff-bgp-path-         - Enable BGP path selection for EVPN-IFF routes
  selection

The iff-bgp-path-selection command cannot be enabled when iff-attribute-uniform-propagation is disabled.

When iff-attribute-uniform-propagation is enabled on a node:

  • the following BGP path attributes are propagated:
    • AS path
    • domain path (D-PATH), supported in SR OS Release 21.10.R1 and later
    • IBGP-only attributes, when advertising to an IBGP neighbor: local preference, originator ID, cluster ID
    • Multiple Exit Discriminator (MED)
    • communities, large communities, extended communities
  • the following BGP path attributes are not propagated across families:
    • any type 0x06 extended communities supported by RT-5 routes:
      • MAC mobility extended community
      • EVPN router MAC extended community
    • BGP encapsulation extended community
    • Route Target extended community
    • BGP tunnel encapsulation attribute
    • BGP prefix-SID attribute used in RT-5 routes and VPN-IP routes for Segment Routing over IPv6 dataplane (SRv6) services
  • IBGP-only attributes are only propagated to IBGP neighbors; EBGP-only attributes only to EBGP neighbors
  • routes received with well-known communities, such as no-advertise or no-export(-subconfed), are sent or not sent depending on the community values
  • BGP path attributes are propagated even when doing route leaking between routing instances

If multiple EVPN-IFF routes for the same prefix are received for the same VPRN, they are by default ordered and selected based on the lowest R-VPLS Ifindex, Route Distinguisher (RD), and Ethernet tag.

When iff-bgp-path-selection is enabled, EVPN-IFF routes with the same or different RD are selected based on regular BGP path selection rules in the following order:

  1. valid route wins over invalid route (invalid routes are looped routes or routes where the originator ID matches the receiving router)
  2. lowest origin validation state (origin validation state: valid is preferred to origin validation state: not found; origin validation state: not found is preferred to origin validation state: invalid) – applicable to IPv4, IPv6, or BGP Labeled Unicast (BGP-LU) routes
  3. lowest Routing Table Manager (RTM) preference
  4. highest local preference
  5. shortest D-PATH
  6. lowest Accumulated Interior Gateway Protocol (AIGP) metric (AIGP is not supported for EVPN-IFL, EVPN-IFF, or IP-VPN routes)
  7. shortest AS path
  8. lowest origin (origin: IGP is preferred to origin: EGP; origin: EGP is preferred to origin: incomplete)
  9. lowest MED (routes without MED are considered as zero or infinity based on the configuration of the always-compare-med command)
  10. lowest owner type (owner type: BGP-label is preferred to owner type: BGP; owner type: BGP is preferred to owner type: BGP-VPN) with BGP-VPN referring to VPN-IP and EVPN-IFL
  11. EBGP wins over IBGP
  12. lowest route-table or tunnel-table cost to the next-hop
    Note: The ignore-nh-metric command is not supported for EVPN-IFF.
  13. lowest next-hop type – a next-hop resolved to a tunnel-table entry is considered as a lower type than a next-hop resolved to a route-table entry
  14. lowest router ID – applicable to IBGP peers
  15. shortest cluster list length – applicable to IBGP peers
  16. lowest IP address – IP address refers to the peer that advertised the route
  17. EVPN-IFL wins over IPVPN
  18. next-hop check (IPv4 next-hop wins over IPv6, then lowest next-hop wins) - The next-hop check is a tiebreaker if BGP receives the same prefix for VPN-IPv6 and EVPN-IFL. An IPv6 prefix received as VPN-IPv6 has an IPv6 next-hop whereas the same IPv6 prefix received as EVPN-IFL can have an IPv4 next-hop.
  19. lowest RD for route-table selection
  20. lowest path ID (add-path)

Configuration

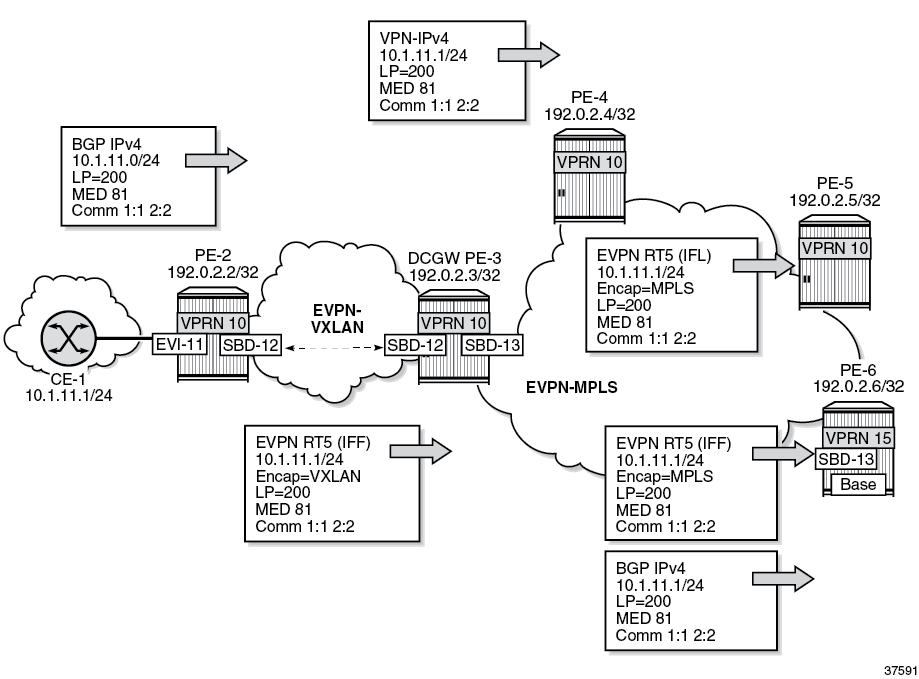
Example topology shows the example topology with PE-3 as Data Center Gateway (DCGW) between an EVPN-VXLAN network and an EVPN-MPLS network. Routed VPLS is configured on PE-2, PE-3, and PE-6. Supplementary broadcast domain "SBD-12" is configured in the EVPN-VXLAN network between PE-2 and PE-3; "SBD-13" in the EVPN-MPLS network between PE-3 and PE-6. On PE-2, Ethernet VPN instance "EVI-11" is configured toward CE-1.

Figure 1. Example topology
The example topology with PE-3 as Data Center Gateway (DCGW) between an EVPN-VXLAN network and an EVPN-MPLS network

CE-1 advertises prefix 10.1.11.0/24 to BGP neighbor 10.0.0.2 in VPRN 10 on PE-2. PE-2 sends an EVPN-IFF route to DCGW PE-3. PE-3 forwards the prefix 10.1.11.0/24 as VPN-IPv4 route to PE-4, as EVPN-IFL route to PE-5, as EVPN-IFF route to PE-6, and as IPv4 route to PE-6.

The initial configuration includes the following:

  • Cards, MDAs, ports
  • Router interfaces on all PEs
  • IS-IS on the router interfaces
  • LDP on the router interfaces on PE-3, PE-4, PE-5, and PE-6

On the PEs, BGP is configured for the EVPN address family. Between PE-3 and PE-4, both the VPN-IPv4 and the EVPN address family are configured. The configuration on PE-3 is as follows:

# on PE-3:
configure {
    router "Base" {
        autonomous-system 64496
        bgp {
            vpn-apply-export true
            vpn-apply-import true
            rapid-withdrawal true
            peer-ip-tracking true
            rapid-update {
                evpn true
            }
            group "internal" {
                peer-as 64496
            }
            group "internal1" {
                peer-as 64496
                family {
                    evpn true
                }
            }
            neighbor "192.0.2.2" {
                group "internal1"
            }
            neighbor "192.0.2.4" {
                group "internal"
                family {
                    vpn-ipv4 true
                    evpn true
                }
            }
            neighbor "192.0.2.5" {
                group "internal"
                family {
                    evpn true
                }
            }
            neighbor "192.0.2.6" {
                group "internal"
                family {
                    evpn true
                }
            }
        }

On CE-1, BGP is configured in VPRN 11 for the IPv4 address family. The export policy adds communities "1:1" and "2:2" and sets the MED to a value of 81.

# on CE-1:
configure {
    policy-options {
        community "1:1_2:2" {
            member "1:1" { }
            member "2:2" { }
        }
        policy-statement "export-vnf-to-all" {
            entry 10 {
                from {
                    protocol {
                        name [direct direct-interface]
                    }
                }
                action {
                    action-type accept
                    bgp-med {
                        set 81
                    }
                    community {
                        add ["1:1_2:2"]
                    }
                }
            }
        }
    }
    service {
        vprn "VPRN 11" {
            admin-state enable
            service-id 11
            customer "1"
            autonomous-system 64501
            bgp {
                split-horizon true
                export {
                    policy ["export-vnf-to-all"]
                }
                group "CE-1-PE-2" {
                    type external
                    peer-as 64496
                }
                neighbor "10.0.0.2" {
                    group "CE-1-PE-2"
                    ebgp-default-reject-policy {
                        import false
                    }
                }
            }
            interface "int-CE-1-PE-2" {
                ipv4 {
                    primary {
                        address 10.0.0.1
                        prefix-length 24
                    }
                }
                sap 1/1/2:11 {
                }
            }
            interface "test" {
                ipv4 {
                    primary {
                        address 10.1.11.1
                        prefix-length 24
                    }
                }
                sap 1/1/2:12 {
                }
            }

On PE-2, VPRN 10 has R-VPLS interface "int-EVI-11" toward CE-1 and R-VPLS interface "int-SBD-12" toward PE-3. BGP is configured toward neighbor 10.0.0.1 on CE-1 and the import policy sets the local preference (LP) to 200, as follows:

# on PE-2:
configure {
    policy-options {
        policy-statement "local-preference-200" {
            entry 10 {
                action {
                    action-type accept
                    local-preference 200
                }
            }
        }
    }
    service {
        vprn "VPRN 10" {
            admin-state enable
            service-id 10
            customer "1"
            autonomous-system 64496
            bgp {
                split-horizon true
                local-as {
                    as-number 64496
                }
                import {
                    policy ["local-preference-200"]
                }
                group "PE-2-CE-1" {
                    type external
                    peer-as 64501
                }
                neighbor "10.0.0.1" {
                    group "PE-2-CE-1"
                    ebgp-default-reject-policy {
                        export false
                    }
                }
            }
            interface "int-EVI-11" {
                ipv4 {
                    primary {
                        address 10.0.0.2
                        prefix-length 24
                    }
                    vrrp 1 {
                        backup [10.0.0.2]
                        owner true
                        passive true
                    }
                }
                vpls "EVI-11" {
                }
            }
            interface "int-SBD-12" {
                vpls "SBD-12" {
                    evpn-tunnel {
                    }
                }
            }
        }
        vpls "EVI-11" {
            admin-state enable
            service-id 11
            customer "1"
            routed-vpls {
            }
            sap 1/1/1:11 {
            }
        }
        vpls "SBD-12" {
            admin-state enable
            service-id 12
            customer "1"
            vxlan {
                instance 1 {
                    vni 12
                }
            }
            routed-vpls {
            }
            bgp-evpn {
                evi 12
                routes {
                    mac-ip {
                        advertise false
                    }
                    ip-prefix {
                        advertise true      # enable EVPN-IFF
                    }
                }
                vxlan 1 {
                    admin-state enable
                    vxlan-instance 1
                }
            }
        }

On PE-3, VPRN 10 is configured with:

  • three interfaces:
    • R-VPLS interface "int-SBD-12" toward PE-2
    • R-VPLS interface "int-SBD-13" toward PE-6
    • interface "int-VPRN10-PE-3-to-PE-6" to the base router of PE-6.
  • BGP-IPVPN for the exchange of VPN-IPv4 routes with PE-4
  • BGP-EVPN to propagate EVPN-IFL routes to PE-5 and EVPN-IFF routes to PE-6
  • BGP to propagate BGP IPv4 routes to the base router on PE-6. The export policy is only required in the BGP configuration.
# on PE-3:
configure {
    policy-options {
        prefix-list "10.1.0.0" {
            prefix 10.1.0.0/16 type longer {
            }
        }
        policy-statement "export-bgp" {
            entry 10 {
                from {
                    prefix-list ["10.1.0.0"]
                }
                action {
                    action-type accept
                }
            }
        }
    } 
    service {
        vpls "SBD-12" {
            admin-state enable
            description "EVPN-VXLAN VPLS for EVPN tunnel to PE-2"
            service-id 12
            customer "1"
            vxlan {
                instance 1 {
                    vni 12
                }
            }
            routed-vpls {
            }
            bgp-evpn {
                evi 12
                routes {
                    mac-ip {
                        advertise false
                    }
                    ip-prefix {
                        advertise true      # enable EVPN-IFF
                    }
                }
                vxlan 1 {
                    admin-state enable
                    vxlan-instance 1
                }
            }
        }
        vpls "SBD-13" {
            admin-state enable
            description "EVPN-MPLS VPLS for EVPN tunnel to PE-6"
            service-id 13
            customer "1"
            routed-vpls {
            }
            bgp 1 {
            }
            bgp-evpn {
                evi 13
                routes {
                    mac-ip {
                        advertise false
                    }
                    ip-prefix {
                        advertise true      # enable EVPN-IFF
                    }
                }
                mpls 1 {
                    admin-state enable
                    auto-bind-tunnel {
                        resolution any
                    }
                }
            }
        }
        vprn "VPRN 10" {
            admin-state enable
            service-id 10
            customer "1"
            autonomous-system 64496
            bgp-evpn {
                mpls 1 {
                    admin-state enable
                    route-distinguisher "192.0.2.3:10"
                    vrf-target {
                        community "target:64496:10"
                    }
                    auto-bind-tunnel {
                        resolution any
                    }
                }
            }
            bgp-ipvpn {
                mpls {
                    admin-state enable
                    route-distinguisher "192.0.2.3:10"
                    vrf-target {
                        community "target:64496:10"
                    }
                    auto-bind-tunnel {
                        resolution any
                    }
                }
            }
            bgp {
                rapid-withdrawal true
                export {
                    policy ["export-bgp"]
                }
                group "base router - PE-6" {
                    family {
                        ipv4 true
                    }
                }
                neighbor "10.15.16.6" {
                    group "base router - PE-6"
                    type internal
                    peer-as 64496
                }
            }
            interface "int-SBD-12" {
                vpls "SBD-12" {
                    evpn-tunnel {
                    }
                }
            }
            interface "int-SBD-13" {
                vpls "SBD-13" {
                    evpn-tunnel {
                    }
                }
            }
            interface "int-VPRN10-PE-3-to-PE-6" {
                ipv4 {
                    primary {
                        address 10.15.16.3
                        prefix-length 24
                    }
                }
                sap 1/1/3:13 {
                }
            }
        }

On PE-4, VPRN 10 is configured with BGP-IPVPN, as follows. BGP between PE-3 and PE-4 is configured for the VPN-IPv4 address family.

# on PE-4:
configure {
    service {
        vprn "VPRN 10" {
            admin-state enable
            service-id 10
            customer "1"
            bgp-ipvpn {
                mpls {
                    admin-state enable
                    route-distinguisher "192.0.2.4:10"
                    vrf-target {
                        community "target:64496:10"
                    }
                    auto-bind-tunnel {
                        resolution any
                    }
                }
            }

On PE-5, VPRN 10 is configured with BGP-EVPN, as follows:

# on PE-5:
configure {
    service {
        vprn "VPRN 10" {
            admin-state enable
            service-id 10
            customer "1"
            bgp-evpn {
                mpls 1 {
                    admin-state enable
                    route-distinguisher "192.0.2.5:10"
                    vrf-target {
                        community "target:64496:10"
                    }
                    auto-bind-tunnel {
                        resolution any
                    }
                }
            }
            bgp {
            }

In the base router of PE-6, BGP is configured to neighbor 10.15.16.3 on PE-3. VPRN 15 is configured with R-VPLS interface "int-SBD-13" toward PE-3. The configuration is as follows:

# on PE-6:
configure {
    router "Base" {
        interface "int-PE-6-to-VPRN10-PE-3" {
            port 1/1/1:13
            ipv4 {
                primary {
                    address 10.15.16.6
                    prefix-length 24
                }
            }
        }
        bgp {
            group "PE-6-CE" {
                family {
                    ipv4 true
                }
            }
            neighbor "10.15.16.3" {
                group "PE-6-CE"
                type internal
                peer-as 64496
                local-as {
                    as-number 64496
                }
            }
        }
    }
    service {
        vpls "SBD-13" {
            admin-state enable
            service-id 13
            customer "1"
            routed-vpls {
            }
            bgp 1 {
            }
            bgp-evpn {
                evi 13
                routes {
                    mac-ip {
                        advertise false
                    }
                    ip-prefix {
                        advertise true     
                    }
                }
                mpls 1 {
                    admin-state enable
                    auto-bind-tunnel {
                        resolution any
                    }
                }
            }
        }
        vprn "VPRN 15" {
            admin-state enable
            service-id 15
            customer "1"
            autonomous-system 64502
            interface "int-SBD-13" {
                vpls "SBD-13" {
                    evpn-tunnel {
                    }
                }
            }
        }    

Default behavior

By default, BGP path attributes are re-originated when a prefix is propagated to and from an EVPN-IFF route. EVPN-IFF BGP path attributes are re-originated by PE-2 and PE-3 shows that PE-2 receives an IPv4 route for prefix 10.1.11.0/24 with non-default BGP path attributes, whereas PE-2 propagates the prefix as an EVPN-IFF route with default path attributes.

Figure 2. EVPN-IFF BGP path attributes are re-originated by PE-2 and PE-3
PE-2 receives an IPv4 route for prefix 10.1.11.0/24 with non-default BGP path attributes, whereas PE-2 propagates the prefix as an EVPN-IFF route with default path attributes

VPRN 10 on PE-2 received a BGP IPv4 route for prefix 10.1.11.0/24 with LP 200, MED 81, and communities "1:1" and "2:2":

[/]
A:admin@PE-2# show router 10 bgp routes 10.1.11.0/24 hunt
===============================================================================
 BGP Router ID:192.0.2.2        AS:64496       Local AS:64496
===============================================================================
 Legend -
 Status codes  : u - used, s - suppressed, h - history, d - decayed, * - valid
                 l - leaked, x - stale, > - best, b - backup, p - purge
 Origin codes  : i - IGP, e - EGP, ? - incomplete
 
===============================================================================
BGP IPv4 Routes
===============================================================================
-------------------------------------------------------------------------------
RIB In Entries
-------------------------------------------------------------------------------
Network        : 10.1.11.0/24
Nexthop        : 10.0.0.1
Path Id        : None
From           : 10.0.0.1
Res. Protocol  : LOCAL                  Res. Metric    : 0
Res. Nexthop   : 10.0.0.1
Local Pref.    : 200                    Interface Name : int-EVI-11
Aggregator AS  : None                   Aggregator     : None
Atomic Aggr.   : Not Atomic             MED            : 81
AIGP Metric    : None                   IGP Cost       : 0
Connector      : None
Community      : 1:1 2:2
Cluster        : No Cluster Members
Originator Id  : None                   Peer Router Id : 255.0.0.0
Fwd Class      : None                   Priority       : None
Flags          : Used Valid Best IGP In-RTM
Route Source   : External
AS-Path        : 64501
Route Tag      : 0
Neighbor-AS    : 64501
Orig Validation: NotFound
Source Class   : 0                      Dest Class     : 0
Add Paths Send : Default
RIB Priority   : Normal
Last Modified  : 00h08m14s
 
-------------------------------------------------------------------------------
RIB Out Entries
-------------------------------------------------------------------------------
-------------------------------------------------------------------------------
Routes : 1
===============================================================================

PE-2 propagates prefix 10.1.11.0/24 as an EVPN-IFF route to PE-3 with default BGP attributes: LP 100, no MED, and without the communities "1:1" and "2:2":

[/]
A:admin@PE-2# show router bgp routes evpn ip-prefix prefix 10.1.11.0/24 hunt
===============================================================================
 BGP Router ID:192.0.2.2        AS:64496       Local AS:64496
===============================================================================
 Legend -
 Status codes  : u - used, s - suppressed, h - history, d - decayed, * - valid
                 l - leaked, x - stale, > - best, b - backup, p - purge
 Origin codes  : i - IGP, e - EGP, ? - incomplete
 
===============================================================================
BGP EVPN IP-Prefix Routes
===============================================================================
-------------------------------------------------------------------------------
RIB In Entries
-------------------------------------------------------------------------------
 
-------------------------------------------------------------------------------
RIB Out Entries
-------------------------------------------------------------------------------
Network        : n/a
Nexthop        : 192.0.2.2
Path Id        : None
To             : 192.0.2.3
Res. Nexthop   : n/a
Local Pref.    : 100                    Interface Name : NotAvailable
Aggregator AS  : None                   Aggregator     : None
Atomic Aggr.   : Not Atomic             MED            : None
AIGP Metric    : None                   IGP Cost       : n/a
Connector      : None
Community      : target:64496:12 mac-nh:02:13:ff:ff:ff:49
                 bgp-tunnel-encap:VXLAN
Cluster        : No Cluster Members
Originator Id  : None                   Peer Router Id : 192.0.2.3
Origin         : IGP
AS-Path        : No As-Path
EVPN type      : IP-PREFIX
ESI            : ESI-0
Tag            : 0
Gateway Address: 02:13:ff:ff:ff:49
Prefix         : 10.1.11.0/24
Route Dist.    : 192.0.2.2:12
MPLS Label     : VNI 12
Route Tag      : 0
Neighbor-AS    : n/a
Orig Validation: N/A
Source Class   : 0                      Dest Class     : 0
 
-------------------------------------------------------------------------------
Routes : 1
===============================================================================

Uniform propagation for EVPN-IFF BGP path attributes to different BGP families

Enable iff-attribute-uniform-propagation and iff-best-path-selection on PE-2 as follows:

# on PE-2:
configure {
    service {
        system {
            bgp {
                evpn {
                    ip-prefix-routes
                        iff-attribute-uniform-propagation
                        iff-bgp-path-selection
                    }
                }
            }

In a similar configuration, iff-attribute-uniform-propagation and iff-bgp-path-selection are enabled on the other PEs.

The following command shows that uniform propagation for EVPN-IFF BGP path attributes and BGP path selection are enabled:

[/]
A:admin@PE-2# show service system bgp-evpn
 
===============================================================================
System BGP EVPN Information
===============================================================================
Eth Seg Route Dist.               : <none>
Eth Seg Oper Route Dist.          : <none>
Eth Seg Oper Route Dist Type      : none
Ad Per ES Route Target            : evi-rt
Etree
  Leaf                            : Disabled
Mcast Leave Sync Prop             : 5
Attribute Uniform Prop            : Enabled
BGP Path Selection                : Enabled
D-Path Length Ignore              : Disabled
===============================================================================

Uniform propagation for EVPN-IFF BGP path attributes between families shows the uniform propagation for EVPN-IFF BGP path attributes between families in the same Virtual Routing and Forwarding (VRF).

Figure 3. Uniform propagation for EVPN-IFF BGP path attributes between families
The uniform propagation for EVPN-IFF BGP path attributes between families in the same Virtual Routing and Forwarding

With the uniform propagation for EVPN-IFF BGP path attributes enabled, PE-2 propagates EVPN-IFF route 10.1.11.0/24 to PE-3 with LP 200, MED 81, and communities "1:1" and "2:2". The following EVPN-IFF route is received at PE-3:

[/]
A:admin@PE-3# show router bgp routes evpn ip-prefix prefix 10.1.11.0/24 hunt
===============================================================================
 BGP Router ID:192.0.2.3        AS:64496       Local AS:64496
===============================================================================
 Legend -
 Status codes  : u - used, s - suppressed, h - history, d - decayed, * - valid
                 l - leaked, x - stale, > - best, b - backup, p - purge
 Origin codes  : i - IGP, e - EGP, ? - incomplete
 
===============================================================================
BGP EVPN IP-Prefix Routes
===============================================================================
-------------------------------------------------------------------------------
RIB In Entries
-------------------------------------------------------------------------------
Network        : n/a
Nexthop        : 192.0.2.2
Path Id        : None
From           : 192.0.2.2
Res. Nexthop   : 192.168.23.1
Local Pref.    : 200                    Interface Name : int-PE-3-PE-2
Aggregator AS  : None                   Aggregator     : None
Atomic Aggr.   : Not Atomic             MED            : 81
AIGP Metric    : None                   IGP Cost       : 10
Connector      : None
Community      : 1:1 2:2 target:64496:12 mac-nh:02:13:ff:ff:ff:49
                 bgp-tunnel-encap:VXLAN
Cluster        : No Cluster Members
Originator Id  : None                   Peer Router Id : 192.0.2.2
Flags          : Used Valid Best IGP
Route Source   : Internal
AS-Path        : 64501
EVPN type      : IP-PREFIX
ESI            : ESI-0
Tag            : 0
Gateway Address: 02:13:ff:ff:ff:49
Prefix         : 10.1.11.0/24
Route Dist.    : 192.0.2.2:12
MPLS Label     : VNI 12
Route Tag      : 0
Neighbor-AS    : 64501
Orig Validation: N/A
Source Class   : 0                      Dest Class     : 0
Add Paths Send : Default
Last Modified  : 00h05m09s
 
-------------------------------------------------------------------------------
---snip---

With the uniform propagation for EVPN-IFF BGP path attributes enabled, PE-3 propagates VPN-IPv4 route 10.1.11.0/24 to PE-4 with LP 200, MED 81, and communities "1:1" and "2:2". The following VPN-IPv4 route is received at PE-4:

[/]
A:admin@PE-4# show router bgp routes 10.1.11.0/24 vpn-ipv4 hunt
===============================================================================
 BGP Router ID:192.0.2.4        AS:64496       Local AS:64496
===============================================================================
 Legend -
 Status codes  : u - used, s - suppressed, h - history, d - decayed, * - valid
                 l - leaked, x - stale, > - best, b - backup, p - purge
 Origin codes  : i - IGP, e - EGP, ? - incomplete
 
===============================================================================
BGP VPN-IPv4 Routes
===============================================================================
-------------------------------------------------------------------------------
RIB In Entries
-------------------------------------------------------------------------------
Network        : 10.1.11.0/24
Nexthop        : 192.0.2.3
Route Dist.    : 192.0.2.3:10           VPN Label      : 524281
Path Id        : None
From           : 192.0.2.3
Res. Nexthop   : n/a
Local Pref.    : 200                    Interface Name : int-PE-4-PE-3
Aggregator AS  : None                   Aggregator     : None
Atomic Aggr.   : Not Atomic             MED            : 81
AIGP Metric    : None                   IGP Cost       : 10
Connector      : None
Community      : 1:1 2:2 target:64496:10
Cluster        : No Cluster Members
Originator Id  : None                   Peer Router Id : 192.0.2.3
Fwd Class      : None                   Priority       : None
Flags          : Used Valid Best IGP
Route Source   : Internal
AS-Path        : 64501
Route Tag      : 0
Neighbor-AS    : 64501
Orig Validation: N/A
Source Class   : 0                      Dest Class     : 0
Add Paths Send : Default
Last Modified  : 00h06m17s
VPRN Imported  :  10
 
-------------------------------------------------------------------------------
RIB Out Entries
-------------------------------------------------------------------------------
-------------------------------------------------------------------------------
Routes : 1
===============================================================================

PE-3 propagates EVPN-IFL route 10.1.11.0/24 to PE-5 with LP 200, MED 81, and communities "1:1" and "2:2". The following EVPN-IFL route is received at PE-5:

[/]
A:admin@PE-5# show router bgp routes evpn ip-prefix prefix 10.1.11.0/24 hunt
===============================================================================
 BGP Router ID:192.0.2.5        AS:64496       Local AS:64496
===============================================================================
 Legend -
 Status codes  : u - used, s - suppressed, h - history, d - decayed, * - valid
                 l - leaked, x - stale, > - best, b - backup, p - purge
 Origin codes  : i - IGP, e - EGP, ? - incomplete
 
===============================================================================
BGP EVPN IP-Prefix Routes
===============================================================================
-------------------------------------------------------------------------------
RIB In Entries
-------------------------------------------------------------------------------
Network        : n/a
Nexthop        : 192.0.2.3
Path Id        : None
From           : 192.0.2.3
Res. Nexthop   : 192.168.35.1
Local Pref.    : 200                    Interface Name : int-PE-5-PE-3
Aggregator AS  : None                   Aggregator     : None
Atomic Aggr.   : Not Atomic             MED            : 81
AIGP Metric    : None                   IGP Cost       : 10
Connector      : None
Community      : 1:1 2:2 target:64496:10 bgp-tunnel-encap:MPLS
Cluster        : No Cluster Members
Originator Id  : None                   Peer Router Id : 192.0.2.3
Flags          : Used Valid Best IGP
Route Source   : Internal
AS-Path        : 64501
EVPN type      : IP-PREFIX
ESI            : ESI-0
Tag            : 0
Gateway Address: 00:00:00:00:00:00
Prefix         : 10.1.11.0/24
Route Dist.    : 192.0.2.3:10
MPLS Label     : LABEL 524280
Route Tag      : 0
Neighbor-AS    : 64501
Orig Validation: N/A
Source Class   : 0                      Dest Class     : 0
Add Paths Send : Default
Last Modified  : 00h06m52s
 
-------------------------------------------------------------------------------
RIB Out Entries
-------------------------------------------------------------------------------
-------------------------------------------------------------------------------
Routes : 1
===============================================================================

PE-3 propagates EVPN-IFF route 10.1.11.0/24 to PE-6 with LP 200, MED 81, and communities "1:1" and "2:2". The following EVPN-IFF route is received at PE-6:

[/]
A:admin@PE-6# show router bgp routes evpn ip-prefix prefix 10.1.11.0/24 hunt
===============================================================================
 BGP Router ID:192.0.2.6        AS:64496       Local AS:64496
===============================================================================
 Legend -
 Status codes  : u - used, s - suppressed, h - history, d - decayed, * - valid
                 l - leaked, x - stale, > - best, b - backup, p - purge
 Origin codes  : i - IGP, e - EGP, ? - incomplete
 
===============================================================================
BGP EVPN IP-Prefix Routes
===============================================================================
-------------------------------------------------------------------------------
RIB In Entries
-------------------------------------------------------------------------------
Network        : n/a
Nexthop        : 192.0.2.3
Path Id        : None
From           : 192.0.2.3
Res. Nexthop   : 192.168.36.1
Local Pref.    : 200                    Interface Name : int-PE-6-PE-3
Aggregator AS  : None                   Aggregator     : None
Atomic Aggr.   : Not Atomic             MED            : 81
AIGP Metric    : None                   IGP Cost       : 10
Connector      : None
Community      : 1:1 2:2 target:64496:13 mac-nh:02:17:ff:ff:ff:4a
                 bgp-tunnel-encap:MPLS
Cluster        : No Cluster Members
Originator Id  : None                   Peer Router Id : 192.0.2.3
Flags          : Used Valid Best IGP
Route Source   : Internal
AS-Path        : 64501
EVPN type      : IP-PREFIX
ESI            : ESI-0
Tag            : 0
Gateway Address: 02:17:ff:ff:ff:4a
Prefix         : 10.1.11.0/24
Route Dist.    : 192.0.2.3:13
MPLS Label     : LABEL 524283
Route Tag      : 0
Neighbor-AS    : 64501
Orig Validation: N/A
Source Class   : 0                      Dest Class     : 0
Add Paths Send : Default
Last Modified  : 00h07m20s

-------------------------------------------------------------------------------
RIB Out Entries
-------------------------------------------------------------------------------
-------------------------------------------------------------------------------
Routes : 1
===============================================================================

PE-3 propagates BGP IPv4 route 10.1.11.0/24 to PE-6 with LP 200, MED 81, and communities "1:1" and "2:2". The following IPv4 route is received at PE-6:

[/]
A:admin@PE-6# show router bgp routes 10.1.11.0/24 hunt
===============================================================================
 BGP Router ID:192.0.2.6        AS:64496       Local AS:64496
===============================================================================
 Legend -
 Status codes  : u - used, s - suppressed, h - history, d - decayed, * - valid
                 l - leaked, x - stale, > - best, b - backup, p - purge
 Origin codes  : i - IGP, e - EGP, ? - incomplete
 
===============================================================================
BGP IPv4 Routes
===============================================================================
-------------------------------------------------------------------------------
RIB In Entries
-------------------------------------------------------------------------------
Network        : 10.1.11.0/24
Nexthop        : 10.15.16.3
Path Id        : None
From           : 10.15.16.3
Res. Protocol  : LOCAL                  Res. Metric    : 0
Res. Nexthop   : 10.15.16.3
Local Pref.    : 200                    Interface Name : int-PE-6-to-VPRN10-PE*
Aggregator AS  : None                   Aggregator     : None
Atomic Aggr.   : Not Atomic             MED            : 81
AIGP Metric    : None                   IGP Cost       : 0
Connector      : None
Community      : 1:1 2:2
Cluster        : No Cluster Members
Originator Id  : None                   Peer Router Id : 192.0.2.3
Fwd Class      : None                   Priority       : None
Flags          : Used Valid Best IGP In-RTM
Route Source   : Internal
AS-Path        : 64501
Route Tag      : 0
Neighbor-AS    : 64501
Orig Validation: NotFound
Source Class   : 0                      Dest Class     : 0
Add Paths Send : Default
RIB Priority   : Normal
Last Modified  : 00h07m37s
  
-------------------------------------------------------------------------------
RIB Out Entries
-------------------------------------------------------------------------------
-------------------------------------------------------------------------------
Routes : 1
===============================================================================
* indicates that the corresponding row element may have been truncated.

EVPN-IFF BGP path attributes exported to leaked EVPN routes

Example topology shows the example topology with two VPRNs on DCGW PE-3 where routes are leaked.

Figure 4. Example topology
The example topology with two VPRNs on DCGW PE-3 where routes are leaked

The uniform propagation for EVPN-IFF BGP path attributes is enabled on all PEs.

BGP path attributes are propagated in leaked EVPN routes shows that CE-1 exports an IPv4 route for prefix 10.1.1.1/32 to PE-1. This route has non-default BGP attributes; for example, MED 88, AS path 64502 64505 64504, and community "11:11" "color:00:55". PE-1 exports this route as an EVPN-IFF route to PE-3. PE-3 forwards this route as EVPN-IFL route to PE-5. On PE-3, the route is leaked from VPRN 20 to VPRN 30. The BGP path attributes are propagated to the leaked EVPN routes, except those attributes that are not expected to be propagated, such as the router’s MAC extended community. PE-3 advertises an EVPN-IFF route for prefix 10.1.1.1/32 to PE-2.

Figure 5. BGP path attributes are propagated in leaked EVPN routes
CE-1 exports an IPv4 route for prefix 10.1.1.1/32 to PE-1

In a similar way, CE-2 exports IPv4 prefix 10.2.2.2/32 to PE-2 with non-default BGP path attributes. PE-2 advertises this prefix as an EVPN-IFF route with the same BGP path attributes. PE-3 leaks the route from VPRN 30 to VPRN 20 while preserving the BGP path attributes. PE-3 advertises an EVPN-IFF route for prefix 10.2.2.2/32 to PE-1 with the same BGP path attributes. PE-3 also advertises the prefix as EVPN-IFL route to PE-5 with the same BGP path attributes. For brevity, the routes for prefix 10.2.2.2/32 are not shown here.

In this example, VPRN "CE-1" is configured as follows. The export policy sets the MED, prepends some AS numbers to the AS path, and adds the communities "11:11" and "color:00:55".

# on CE-1:
configure {
    policy-options {
        community "11:11" {
            member "11:11" { }
        }
        community "color:00:55" {
            member "color:00:55" { }
        }
        policy-statement "export-vnf-to-all-2" {
            entry 10 {
                from {
                    protocol {
                        name [direct direct-interface]
                    }
                }
                action {
                    action-type next-entry
                    as-path-prepend {
                        as-path 64504
                    }
                    bgp-med {
                        set 88
                    }
                    community {
                        add ["11:11" "color:00:55"]
                    }
                }
            }
            entry 20 {
                from {
                    protocol {
                        name [direct direct-interface]
                    }
                }
                action {
                    action-type accept
                    as-path-prepend {
                        as-path 64505
                    }
                }
            }
        }
    }    
    service {
        vprn "CE-1" {
            admin-state enable
            service-id 23
            customer "1"
            autonomous-system 64502
            bgp {
                local-as {
                    as-number 64502
                }
                export {
                    policy ["export-vnf-to-all-2"]
                }
                group "PE-1-CE-1" {
                }
                neighbor "10.2.0.254" {
                    group "PE-1-CE-1"
                    type external
                    peer-as 64496
                    ebgp-default-reject-policy {
                        import false
                    }
                }
            }
            interface "int-CE-1-PE-1" {
                ipv4 {
                    primary {
                        address 10.2.0.1
                        prefix-length 24
                    }
                }
                sap 1/2/2:21 {
                }
            }
            interface "loopback" {
                loopback true
                ipv4 {
                    primary {
                        address 10.1.1.1
                        prefix-length 32
                    }
                }
            }
        }

On PE-1, an import policy sets the LP to a value of 200. VPRN 20 has R-VPLS interface "int-EVI-21" toward CE-1 and R-VPLS interface "int-SBD-22" toward PE-2.

# on PE-1:
configure {
    policy-options {
        policy-statement "local-preference-200" {
            entry 10 {
                action {
                    action-type accept
                    local-preference 200
                }
            }
        }
    }    
    service {
        vpls "EVI-21" {
            admin-state enable
            service-id 21
            customer "1"
            routed-vpls {
            }
            sap 1/2/1:21 {
            }
        }
        vpls "SBD-22" {
            admin-state enable
            service-id 22
            customer "1"
            vxlan {
                instance 1 {
                    vni 22
                }
            }
            routed-vpls {
            }
            bgp 1 {
            }
            bgp-evpn {
                evi 22
                routes {
                    mac-ip {
                        advertise false
                    }
                    ip-prefix {
                        advertise true
                    }
                }
                vxlan 1 {
                    admin-state enable
                    vxlan-instance 1
                }
            }
        }
        vprn "VPRN 20" {
            admin-state enable
            service-id 20
            customer "1"
            autonomous-system 64496
            bgp {
                local-as {
                    as-number 64496
                }
                import {
                    policy ["local-preference-200"]
                }
                group "PE-1-CE" {
                    type external
                    peer-as 64502
                }
                neighbor "10.2.0.1" {
                    group "PE-1-CE"
                    ebgp-default-reject-policy {
                        export false
                    }
                }
            }
            interface "int-EVI-21" {
                ipv4 {
                    primary {
                        address 10.2.0.254
                        prefix-length 24
                    }
                    vrrp 1 {
                        backup [10.2.0.254]
                        owner true
                        passive true
                    }
                }
                vpls "EVI-21" {
                }
            }
            interface "int-SBD-22" {
                vpls "SBD-22" {
                    evpn-tunnel {
                    }
                }
            }
        }

The configuration on PE-2 is similar with VPRN 30, R-VPLS "EVI-31", and R-VPLS "SBD-32".

PE-3 has two VPRNs: "VPRN 20" and "VPRN 30". Export policy "leak-color-55-into-30" is used to leak routes with color community "color:00:55" from VPRN 20 to VPRN 30. The configuration is as follows:

# on PE-3:
configure {
    policy-options {
        community "RT64496:20" {
            member "target:64496:20" { }
        }
        community "RT64496:30" {
            member "target:64496:30" { }
        }
        community "color:00:55" {
            member "color:00:55" { }
        }
        policy-statement "leak-color-55-into-20" {
            entry 10 {
                from {
                    community {
                        name "color:00:55"
                    }
                }
                action {
                    action-type accept
                    community {
                        add ["RT64496:20" "RT64496:30"]
                    }
                }
            }
        }
        policy-statement "leak-color-55-into-30" {
            entry 10 {
                from {
                    community {
                        name "color:00:55"
                    }
                }
                action {
                    action-type accept
                    community {
                        add ["RT64496:20" "RT64496:30"]
                    }
                }
            }
        }
    }
    service {
        vpls "SBD-22" {
            admin-state enable
            service-id 22
            customer "1"
            vxlan {
                instance 1 {
                    vni 22
                }
            }
            routed-vpls {
            }
            bgp-evpn {
                evi 22
                routes {
                    mac-ip {
                        advertise false
                    }
                    ip-prefix {
                        advertise true
                    }
                }
                vxlan 1 {
                    admin-state enable
                    vxlan-instance 1
                }
            }
        }
        vprn "VPRN 20" {
            admin-state enable
            service-id 20
            customer "1"
            autonomous-system 64496
            bgp-evpn {
                mpls 1 {
                    admin-state enable
                    route-distinguisher "192.0.2.3:20"
                    vrf-export {
                        policy ["leak-color-55-into-30"]
                    }
                    vrf-target {
                        import-community "target:64496:20"
                    }
                    auto-bind-tunnel {
                        resolution any
                    }
                }
            }
            interface "int-SBD-22" {
                vpls "SBD-22" {
                    evpn-tunnel {
                    }
                }
            }
        }
        vpls "SBD-32" {
            admin-state enable
            service-id 32
            customer "1"
            vxlan {
                instance 1 {
                    vni 32
                }
            }
            routed-vpls {
            }
            bgp-evpn {
                evi 32
                routes {
                    mac-ip {
                        advertise false
                    }
                    ip-prefix {
                        advertise true
                    }
                }
                vxlan 1 {
                    admin-state enable
                    vxlan-instance 1
                }
            }
        }
        vprn "VPRN 30" {
            admin-state enable
            service-id 30
            customer "1"
            autonomous-system 64496
            bgp-evpn {
                mpls 1 {
                    admin-state enable
                    route-distinguisher "192.0.2.3:30"
                    vrf-export {
                        policy ["leak-color-55-into-20"]
                    }
                    vrf-target {
                        import-community "target:64496:30"
                    }
                    auto-bind-tunnel {
                        resolution any
                    }
                }
            }
            interface "int-SBD-32" {
                vpls "SBD-32" {
                    evpn-tunnel {
                    }
                }
            }
        }

PE-3 exports the prefix route as EVPN-IFL to PE-5. On PE-5, VPRN 40 is configured as follows:

# on PE-5:
configure {
    policy-options {
        community "RT64496:20" {
            member "target:64496:20" { }
        }
        community "RT64496:30" {
            member "target:64496:30" { }
        }
        policy-statement "vrf-40-export" {
            entry 10 {
                from {
                    protocol {
                        name [direct direct-interface]
                    }
                }
                action {
                    action-type accept
                    community {
                        add ["RT64496:20" "RT64496:30"]
                    }
                }
            }
        }
        policy-statement "vrf-40-import" {
            entry 10 {
                from {
                    community {
                        name "RT64496:20"
                    }
                }
                action {
                    action-type accept
                }
            }
            entry 20 {
                from {
                    community {
                        name "RT64496:30"
                    }
                }
                action {
                    action-type accept
                }
            }
        }
    }
    service {
        vprn "VPRN 40" {
            admin-state enable
            service-id 40
            customer "1"
            autonomous-system 64496
            bgp-evpn {
                mpls 1 {
                    admin-state enable
                    route-distinguisher "192.0.2.5:40"
                    vrf-export {
                        policy ["vrf-40-export"]
                    }
                    vrf-import {
                        policy ["vrf-40-import"]
                    }
                    auto-bind-tunnel {
                        resolution any
                    }
                }
            }
            interface "loopback" {
                loopback true
                ipv4 {
                    primary {
                        address 10.5.5.5
                        prefix-length 32
                    }
                }
            }

CE-1 exports an IPv4 route for prefix 10.1.1.1/32 to PE-1 with community "color:00:55" and other non-default BGP path attributes. The route table for VPRN 20 on PE-1 includes an BGP IPv4 route for prefix 10.1.1.1/32:

[/]
A:admin@PE-1# show router 20 route-table 10.1.1.1/32
 
===============================================================================
Route Table (Service: 20)
===============================================================================
Dest Prefix[Flags]                            Type    Proto     Age        Pref
      Next Hop[Interface Name]                                    Metric
-------------------------------------------------------------------------------
10.1.1.1/32                                   Remote  BGP       00h03m25s  170
       10.2.0.1                                                     0
-------------------------------------------------------------------------------
No. of Routes: 1

PE-1 propagates prefix 10.1.1.1/32 in an EVPN-IFF route. On PE-3, the route table includes an EVPN-IFF route for prefix 10.1.1.1/32:

[/]
A:admin@PE-3# show router 20 route-table 10.1.1.1/32
 
===============================================================================
Route Table (Service: 20)
===============================================================================
Dest Prefix[Flags]                            Type    Proto     Age        Pref
      Next Hop[Interface Name]                                    Metric
-------------------------------------------------------------------------------
10.1.1.1/32                                   Remote  EVPN-IFF  00h03m28s  169
       int-SBD-22 (ET-02:0f:ff:ff:ff:53)                            0
-------------------------------------------------------------------------------
No. of Routes: 1

PE-3 forwards prefix 10.1.1.1/32 as an EVPN-IFL to PE-5. On PE-5, the route table includes an EVPN-IFL route for prefix 10.1.1.1/32:

[/]
A:admin@PE-5# show router 40 route-table
 
===============================================================================
Route Table (Service: 40)
===============================================================================
Dest Prefix[Flags]                            Type    Proto     Age        Pref
      Next Hop[Interface Name]                                    Metric
-------------------------------------------------------------------------------
10.1.1.1/32                                   Remote  EVPN-IFL  00h03m59s  170
       192.0.2.3 (tunneled)                                         10
10.2.2.2/32                                   Remote  EVPN-IFL  00h03m56s  170
       192.0.2.3 (tunneled)                                         10
10.5.5.5/32                                   Local   Local     00h04m03s  0
       loopback                                                     0
-------------------------------------------------------------------------------
No. of Routes: 3

In a similar way, PE-5 received an EVPN-IFL route for prefix 10.2.2.2/32. Prefix 10.5.5.5/32 is local to VPRN 40 on PE-5 and is advertised to PE-3 as EVPN-IFL route.

On PE-3, routes with community "color:00:55" are leaked between VPRN 20 and VPRN 30. PE-1 and PE-3 have forwarded the route with the original BGP path attributes, so this community is preserved and the route for prefix 10.1.1.1/32 is leaked to VPRN 30, as shown in the following route table. The next hop is R-VPLS "SBD-22" in local VPRN 20.

[/]
A:admin@PE-3# show router 30 route-table
 
===============================================================================
Route Table (Service: 30)
===============================================================================
Dest Prefix[Flags]                            Type    Proto     Age        Pref
      Next Hop[Interface Name]                                    Metric
-------------------------------------------------------------------------------
10.1.1.1/32                                   Remote  EVPN-IFL  00h04m23s  169
       Local VRF [20:int-SBD-22]                                    0
10.2.2.2/32                                   Remote  EVPN-IFF  00h04m15s  169
       int-SBD-32 (ET-02:13:ff:ff:ff:5d)                            0
10.3.0.0/24                                   Remote  EVPN-IFF  00h04m34s  169
       int-SBD-32 (ET-02:13:ff:ff:ff:5d)                            0
10.5.5.5/32                                   Remote  EVPN-IFL  00h04m22s  170
       192.0.2.5 (tunneled)                                         10
-------------------------------------------------------------------------------
No. of Routes: 4

PE-3 propagates prefix 10.1.1.1/32 as an EVPN-IFF route to PE-2, so the route table for VPRN 30 on PE-2 includes an entry for prefix 10.1.1.1/32 with next hop "SBD-32" toward VPRN 30 on PE-3:

[/]
A:admin@PE-2# show router 30 route-table

===============================================================================
Route Table (Service: 30)
===============================================================================
Dest Prefix[Flags]                            Type    Proto     Age        Pref
      Next Hop[Interface Name]                                    Metric
-------------------------------------------------------------------------------
10.1.1.1/32                                   Remote  EVPN-IFF  00h06m05s  169
       int-SBD-32 (ET-02:17:ff:ff:ff:5d)                            0
10.2.2.2/32                                   Remote  BGP       00h05m57s  170
       10.3.0.1                                                     0
10.3.0.0/24                                   Local   Local     00h06m57s  0
       int-EVI-31                                                   0
10.5.5.5/32                                   Remote  EVPN-IFF  00h06m04s  169
       int-SBD-32 (ET-02:17:ff:ff:ff:5d)                            0
-------------------------------------------------------------------------------
No. of Routes: 4

The following show commands illustrate that the BGP path attributes are propagated. VPRN 20 on PE-1 receives an IPv4 route for prefix 10.1.1.1/32 from CE-1 with LP 200, MED 88, AS path 64502 64505 64504, and communities "1:1" "color:00:55", as follows:

[/]
A:admin@PE-1# show router 20 bgp routes 10.1.1.1/32 hunt  
===============================================================================
 BGP Router ID:192.0.2.1        AS:64496       Local AS:64496      
===============================================================================
 Legend -
 Status codes  : u - used, s - suppressed, h - history, d - decayed, * - valid
                 l - leaked, x - stale, > - best, b - backup, p - purge
 Origin codes  : i - IGP, e - EGP, ? - incomplete
 
===============================================================================
BGP IPv4 Routes
===============================================================================
-------------------------------------------------------------------------------
RIB In Entries
-------------------------------------------------------------------------------
Network        : 10.1.1.1/32
Nexthop        : 10.2.0.1
Path Id        : None                   
From           : 10.2.0.1
Res. Protocol  : LOCAL                  Res. Metric    : 0
Res. Nexthop   : 10.2.0.1
Local Pref.    : 200                    Interface Name : int-EVI-21
Aggregator AS  : None                   Aggregator     : None
Atomic Aggr.   : Not Atomic             MED            : 88
AIGP Metric    : None                   IGP Cost       : 0
Connector      : None
Community      : 11:11 color:00:55
Cluster        : No Cluster Members
Originator Id  : None                   Peer Router Id : 192.0.2.1
Fwd Class      : None                   Priority       : None
Flags          : Used Valid Best IGP In-RTM 
Route Source   : External
AS-Path        : 64502 64505 64504 
Route Tag      : 0                      
Neighbor-AS    : 64502
Orig Validation: NotFound               
Source Class   : 0                      Dest Class     : 0
Add Paths Send : Default                
RIB Priority   : Normal                 
Last Modified  : 00h06m22s              
  
-------------------------------------------------------------------------------
---snip---

PE-1 forwards an EVPN-IFF route to PE-3 for prefix 10.1.1.1/32 with the original BGP path attributes, as follows:

[/]
A:admin@PE-1# show router bgp routes 10.1.1.1/32 evpn ip-prefix hunt
===============================================================================
 BGP Router ID:192.0.2.1        AS:64496       Local AS:64496
===============================================================================
 Legend -
 Status codes  : u - used, s - suppressed, h - history, d - decayed, * - valid
                 l - leaked, x - stale, > - best, b - backup, p - purge
 Origin codes  : i - IGP, e - EGP, ? - incomplete
 
===============================================================================
BGP EVPN IP-Prefix Routes
===============================================================================
---snip---
-------------------------------------------------------------------------------
RIB Out Entries
-------------------------------------------------------------------------------
---snip---
 
Network        : n/a
Nexthop        : 192.0.2.1
Path Id        : None                   
To             : 192.0.2.3
Res. Nexthop   : n/a
Local Pref.    : 200                    Interface Name : NotAvailable
Aggregator AS  : None                   Aggregator     : None
Atomic Aggr.   : Not Atomic             MED            : 88
AIGP Metric    : None                   IGP Cost       : n/a
Connector      : None
Community      : 11:11 target:64496:22 mac-nh:02:0f:ff:ff:ff:53
                 bgp-tunnel-encap:VXLAN color:00:55
Cluster        : No Cluster Members
Originator Id  : None                   Peer Router Id : 192.0.2.3
Origin         : IGP                    
AS-Path        : 64502 64505 64504 
EVPN type      : IP-PREFIX              
ESI            : ESI-0
Tag            : 0                      
Gateway Address: 02:0f:ff:ff:ff:53
Prefix         : 10.1.1.1/32
Route Dist.    : 192.0.2.1:22           
MPLS Label     : VNI 22                 
Route Tag      : 0                      
Neighbor-AS    : 64502
Orig Validation: N/A                    
Source Class   : 0                      Dest Class     : 0
---snip---

PE-3 forwards an EVPN-IFL route for prefix 10.1.1.1/32 to PE-5, so PE-5 receives the following route with the original BGP path attributes:

[/]
A:admin@PE-5# show router bgp routes evpn ip-prefix prefix 10.1.1.1/32 hunt
===============================================================================
 BGP Router ID:192.0.2.5        AS:64496       Local AS:64496
===============================================================================
 Legend -
 Status codes  : u - used, s - suppressed, h - history, d - decayed, * - valid
                 l - leaked, x - stale, > - best, b - backup, p - purge
 Origin codes  : i - IGP, e - EGP, ? - incomplete
 
===============================================================================
BGP EVPN IP-Prefix Routes
===============================================================================
-------------------------------------------------------------------------------
RIB In Entries
-------------------------------------------------------------------------------
Network        : n/a
Nexthop        : 192.0.2.3
Path Id        : None                   
From           : 192.0.2.3
Res. Nexthop   : 192.168.35.1
Local Pref.    : 200                    Interface Name : int-PE-5-PE-3
Aggregator AS  : None                   Aggregator     : None
Atomic Aggr.   : Not Atomic             MED            : 88
AIGP Metric    : None                   IGP Cost       : 10
Connector      : None
Community      : 11:11 target:64496:20 target:64496:30
                 bgp-tunnel-encap:MPLS color:00:55
Cluster        : No Cluster Members
Originator Id  : None                   Peer Router Id : 192.0.2.3
Flags          : Used Valid Best IGP 
Route Source   : Internal
AS-Path        : 64502 64505 64504 
EVPN type      : IP-PREFIX              
ESI            : ESI-0
Tag            : 0                      
Gateway Address: 00:00:00:00:00:00
Prefix         : 10.1.1.1/32
Route Dist.    : 192.0.2.3:20           
MPLS Label     : LABEL 524282           
Route Tag      : 0                      
Neighbor-AS    : 64502
Orig Validation: N/A                    
Source Class   : 0                      Dest Class     : 0
Add Paths Send : Default                
Last Modified  : 00h10m47s              
  
-------------------------------------------------------------------------------
RIB Out Entries
-------------------------------------------------------------------------------
-------------------------------------------------------------------------------
Routes : 1
===============================================================================

On PE-3, the route for prefix 10.1.1.1/32 is leaked from VPRN 20 to VPRN 30. Prefix 10.1.1.1/32 is then advertised to PE-2 in the new context but preserves the BGP path attributes, so PE-2 receives the following route:

[/]
A:admin@PE-2# show router bgp routes evpn ip-prefix prefix 10.1.1.1/32 hunt
===============================================================================
 BGP Router ID:192.0.2.2        AS:64496       Local AS:64496
===============================================================================
 Legend -
 Status codes  : u - used, s - suppressed, h - history, d - decayed, * - valid
                 l - leaked, x - stale, > - best, b - backup, p - purge
 Origin codes  : i - IGP, e - EGP, ? - incomplete
 
===============================================================================
BGP EVPN IP-Prefix Routes
===============================================================================
-------------------------------------------------------------------------------
RIB In Entries
-------------------------------------------------------------------------------
---snip---
Network        : n/a
Nexthop        : 192.0.2.3
Path Id        : None                   
From           : 192.0.2.3
Res. Nexthop   : 192.168.23.2
Local Pref.    : 200                    Interface Name : int-PE-2-PE-3
Aggregator AS  : None                   Aggregator     : None
Atomic Aggr.   : Not Atomic             MED            : 88
AIGP Metric    : None                   IGP Cost       : 10
Connector      : None
Community      : 11:11 target:64496:32 mac-nh:02:17:ff:ff:ff:5d
                 bgp-tunnel-encap:VXLAN color:00:55
Cluster        : No Cluster Members
Originator Id  : None                   Peer Router Id : 192.0.2.3
Flags          : Used Valid Best IGP 
Route Source   : Internal
AS-Path        : 64502 64505 64504 
EVPN type      : IP-PREFIX              
ESI            : ESI-0
Tag            : 0                      
Gateway Address: 02:17:ff:ff:ff:5d
Prefix         : 10.1.1.1/32
Route Dist.    : 192.0.2.3:32           
MPLS Label     : VNI 32                 
Route Tag      : 0                      
Neighbor-AS    : 64502
Orig Validation: N/A                    
Source Class   : 0                      Dest Class     : 0
Add Paths Send : Default                
Last Modified  : 00h08m17s              
---snip---

Conclusion

SR OS nodes can be configured to propagate EVPN-IFF BGP path attributes between families to influence the path selection, as per draft-ietf-bess-evpn-ipvpn-interworking.