Route policies

This chapter provides information about configuring route policies.

Topics in this chapter include:

Configuring route policies

This section contains information about the following topics:

Route policies are used to manage the label database for MPLS and to control entries to the routing table for dynamic routing (see Routing policy and MPLS).

For routing, the 7705 SAR supports two databases to store routes. The routing database (RIB) is composed of the routing information learned by the routing protocols, including static routes. The forwarding database (FIB) is composed of the routes actually used to forward traffic through a router. In addition, link-state databases are maintained by interior gateway protocols (IGPs) such as OSPF and IS-IS. See the 7705 SAR Routing Protocols Guide for information about OSPF, IS-IS, and other routing protocols.

Routing protocols calculate the best route to each destination and place these routes in the forwarding table. The routes in the forwarding table are used to forward IP packets to neighbors.

As an example, operators can configure a routing policy that will not place routes associated with a specific origin in the routing table. These routes will not be used to forward data packets and these routes are not advertised by the routing protocol to neighbors.

Routing policies control the size and content of the routing tables, the routes that are advertised, and the best route to take to reach a destination. Careful planning is essential to implement route policies that can affect the flow of routing information throughout the network. Before configuring and applying a route policy, operators should develop an overall plan and strategy to accomplish their intended routing actions.

There are no default route policies. Each policy must be created explicitly and applied. Policy parameters are modifiable.

Routing policy and MPLS

Route policies can be used to manage the MPLS label database.

When used to manage the label database, route policies can be configured to determine which labels should be learned or advertised; for example, labels from a specified neighbor can be added to the label information base (LIB), while labels advertised by certain other neighbors can be discarded. Label learning of MPLS packets and, as a result, how the MPLS packets are forwarded, are based on the defined policies, if there are any. If no route policies are defined, all advertised labels received from neighbors are learned and placed in the LIB.

See the ‟Label Distribution Protocol” section in the 7705 SAR MPLS Guide for more information about how routing policies can be used as LDP import or export policies to control the label bindings that an LSR accepts from, or advertises to, its peers.

Policy statements

Route policies contain policy statements containing ordered entries that contain match conditions and actions that the user specifies. The entries should be sequenced from the most explicit to the least explicit. Packet forwarding and routing can be implemented according to defined policies. Policy-based routing allows the user to dictate where traffic can be routed, through specific paths, or whether to forward or drop the traffic. Route policies can match a given route policy entry and continue searching for other matches within either the same route policy or the next route policy.

The process can stop when the first complete match is found and the router executes the action defined in the entry, either to accept or reject packets that match the criteria or proceed to the next entry or the next policy. Matching criteria can be based on source, destination, or particular properties of a route. Route policies can be constructed to support multiple stages to the evaluation and setting various route attributes.

Other matching conditions can be provided by specifying criteria such as:

  • autonomous system (AS) path policy options – a combination of AS numbers and regular expression operators

  • community list – a group sharing a common property

  • prefix list – a named list of prefixes

  • to and from criteria – a route’s destination and source

Default action behavior

The default action of a policy applies to a route when the route does not match any of the entries of the policy. If a policy does not have any match entries, all routes are subject to the default action. If no default action is specified and the policy is the last one in a chain of policies, the default action is determined by the protocol that called the policy.

If a default action is defined for one or more of the configured route policies, the default action is handled as follows:

  • The default action can be set to all available action states, including accept, reject, next-entry, and next-policy.

  • If the action states accept or reject, the policy evaluation terminates and the appropriate result is returned.

  • If a default action is defined and no matches occurred with the entries in the policy, the default action is used.

  • If a default action is defined and one or more matches occurred with the entries of the policy, the default action is not used.

Denied IP prefixes

The following IP address prefixes are not allowed by the routing protocols and the Route Table Manager and are not populated within the forwarding table:

  • 0.0.0.0/8 or longer

  • 127.0.0.0/8 or longer

  • 224.0.0.0/4 or longer

  • 240.0.0.0/4 or longer

Any other prefixes that need to be filtered can be filtered explicitly using route policies.

Controlling route flapping

Route flapping is defined as recurring changes of an advertised route between nodes. That is, the advertised route alternates (flaps) back and forth between two paths. This is typically caused by network problems that cause intermittent route failures. Route flap is defined in RFC 2439.

Route damping is a controlled acceptance of unstable routes from BGP peers so that any ripple effect caused by route flapping across BGP AS border routers is minimized. The rationale is to delay the use of unstable routes (flapping routes) to forward data and advertisements until the route stabilizes.

The Nokia implementation of route damping is based on the following parameters:

  • Figure of Merit – a route is assigned a Figure of Merit (FoM), which is proportional to the frequency of flaps. The FoM algorithm can characterize a route’s behavior over a period of time. See Damping for more information about FoM and damping.

  • route flap – a route flap is not limited to the withdrawn route. It also applies to any change in the AS path or the next hop of a reachable route. A change in AS path or next hop indicates that the intermediate AS or the route-advertising peer is not suppressing flapping routes at the source or during the propagation. Even if the route is accepted as a stable route, the data packets destined for the route could experience unstable routing because of the unstable AS path or next hop.

  • suppress threshold – when the configured suppress threshold is exceeded, the route is suppressed and not advertised to other peers. The state of the route is considered to be down from the perspective of the routing protocol.

  • reuse threshold – when the FoM value falls below the configured reuse threshold and the route is still reachable, the route is advertised to other peers. The FoM value decays exponentially after a route is suppressed.

The two events that could trigger the route flapping algorithm are:

  • route flapping – if a route flap is detected within a configured maximum route flap history time, the route’s FoM is initialized and the route is marked as a potentially unstable route. Every time a route flaps, the FoM is increased and the route is suppressed if the FoM crosses the suppress threshold.

  • route reuse timer trigger – a suppressed route’s FoM decays exponentially. When it crosses the reuse threshold, the route is eligible for advertisement if it is still reachable.

If the route continues to flap, the FoM, with respect to time scale, looks like a sawtooth waveform with the exponential rise and decay of FoM. To control flapping, the following parameters can be configured:

  • half-life – the half-life value is the time, expressed in minutes, required for a route to remain stable in order for one half of the FoM value to be reduced. For example, if the half-life value is 6 (min) and the route remains stable for 6 min, then the new FoM value is 3. After another 6 min passes and the route remains stable, the new FoM value is 1.5.

  • max-suppress – the maximum suppression time, expressed in minutes, is the maximum amount of time that a route can remain suppressed

  • suppress – if the FoM value exceeds the configured integer value, the route is suppressed for use or inclusion in advertisements

  • reuse – if the FoM value falls below the configured reuse value, the route can be reused

Regular expressions

The ability to perform a filter match in the AS-PATH is supported. This feature allows customers to configure match criteria for specific sequences within the AS path so that they can be filtered out before cluttering the service provider’s routing information base (RIB).

The 7705 SAR uses regular expression strings to specify match criteria for:

  • an AS path string; for example, ‟100 200 300”, where 100, 200, and 300 are AS numbers

  • a community string; for example, ‟100:200”, where 100 is the AS number and 200 is the community value

A regular expression is expressed as a combination of Terms and Operators. Regular expressions should always be enclosed in quotes.

The 7705 SAR also supports community expressions that allow the use of AND, OR, and NOT logical operators. For more information, see Community expressions.

Terms

A term for an AS path regular expression is:

  • an elementary term; for example, an AS number ‟200”

  • a range term composed of two elementary terms separated by the ‟-” character, such as ‟200-300”

  • the ‟.” dot wildcard character, which matches any elementary term

  • a regular expression enclosed in parentheses ‟( )”

  • a regular expression enclosed in square brackets used to specify a set of choices of elementary or range terms; for example, [100-300 400] matches any AS number between 100 and 300 or the AS number 400

A term for a community string regular expression is a string that is evaluated character by character and is composed of:

  • an elementary term, which for a community string is any single digit, such as ‟4”

  • a range term composed of two elementary terms separated by the ‟-” character, such as ‟2-3”

  • a colon ‟:” to delimit the AS number from the community value

  • the ‟.” dot wildcard character, which matches any elementary term or ‟:”

  • a regular expression enclosed in parentheses ‟( )”

  • a regular expression enclosed in square brackets, which is used to specify a set of choices of elementary or range terms; for example, [1-3 7] matches any single digit between 1 and 3 or the digit 7

Operators

The regular expression operators are listed in the following table.

Table 1. Regular expression operators

Operator

Description

|

Matches the term on alternate sides of the pipe

.

Matches any elementary term or ‟:” community string

*

Matches multiple occurrences of the term

?

Matches 0 or 1 occurrence of the term

+

Matches 1 or more occurrence of the term

( )

Used to parenthesize so a regular expression is considered as one term

[ ]

Used to demarcate a set of elementary or range terms

-

Used between the start and end of a range

{m,n}

Matches at least m and at most n repetitions of the term

{m}

Matches exactly m repetitions of the term

{m,}

Matches m or more repetitions of the term

:

Delimits the AS number from the community value – only allowed for communities

^

Matches the beginning of the string – only allowed for communities

$

Matches the end of the string – only allowed for communities

\

An escape character to indicate that the following character is a match criteria and not a grouping delimiter

Examples of AS path and community string regular expressions are listed in the following table.

Table 2. AS path and community regular expression examples

AS path to match criteria

Regular expression

Examples of matches

Null AS path

null 1

Null AS path

AS path is 11

11

11

AS path is 11 22 33

11 22 33

11 22 33

Zero or more occurrences of AS number 11

11*

Null AS path 11

11 11

11 11

11 11 … 11

Path of any length that begins with AS numbers 11, 22, 33

11 22 33 .*

11 22 33

11 22 33 400 500 600

Path of any length that ends with AS numbers 44, 55, 66

.* 44 55 66

44 55 66

100 44 55 66

100 200 44 55 66

100 200 300 44 55 66

100 200 300 … 44 55 66

One occurrence of the AS numbers 100 and 200, followed by one or more occurrences of the number 33

100 200 33+

100 200 33

100 200 33 33

100 200 33 33 33

100 200 33 33 33 … 33

One occurrence of the AS number 11, followed by one or more occurrences of AS number 22, followed by one or more occurrences of AS number 33

11+ 22+ 33+

11 22 33

11 11 22 33

11 11 22 22 33

11 11 22 22 33 33

11 ... 11 22 ... 22 33 ... 33

Path whose second AS number must be 11 or 22

(. 11) | (. 22) .*

or

. (11 | 22) .*

100 11

200 22 300 400

Path of length one or two whose second AS number may be 11 or 22

. (11 | 22)?

100

200 11

300 22

Path whose first AS number is 100 and second AS number is either 11 or 22

100 (11 | 22) .*

100 11

100 22 200 300

AS path 11, 22, or 33

[11 22 33]

11

22

33

Range of AS numbers to match a single AS number

10-14

Null AS path 10 or 11 or 12

[10-12]*

Null AS path 10 or 11 or 12 10 10 or 10 11 or 10 12

11 10 or 11 11 or 11 12

12 10 or 12 11 or 12 12

Zero or one occurrence of AS number 11

11? or 11{0,1}

Null AS path

11

One through four occurrences of AS number 11

11{1,4}

 11

11 11

11 11 11

11 11 11 11

One through four occurrences of AS number 11 followed by one occurrence of AS number 22

11{1,4} 22

11 22

11 11 22

11 11 11 22

11 11 11 11 22

Path of any length, except nonexistent, whose second AS number can be anything, including nonexistent

. .* or . .{0,}

100

100 200

11 22 33 44 55

AS number is 100 and community value is 200

^100:200$

100:200

AS number is 11 or 22 and community value is any number

^((11)|(22)):(.*)$

11:100

22:100

11:200

AS number is 11 and community value is any number that starts with 1

^11:(1.*)$

11:1

11:100

11:1100

AS number is any number and community value is any number that ends with 1, 2, or 3

^(.*):(.*[1-3])$

11:1

100:2002

333:55553

AS number is 11 or 22 and community value is any number that starts with 3 and ends with 4, 5 or 9

^((11)|(22)):(3.*[459])$

11:34

22:3335

11:3777779

AS number is 11 or 22 and community value ends in 33 or 44

[^((11|22)):(.*((33)|(44)))$

11:33

22:99944

22:555533

Note:

  1. The null keyword matches an empty AS path.

Community expressions

A community expression is a collection of community IDs separated by AND, OR, and NOT operations. A community expression is not the same as a regular expression. A community expression must be enclosed within quotes (‟expression”) and may include parentheses to group expressions. An example of a community expression CLI command is:

config>router>policy-option>community "comm-name" expression "(2:2 AND 3:3) AND 4:4 AND NOT(1:1)"

For more information, see the community command description.

BGP and OSPF route policy support

BGP and OSPF require route policy support. The following figures show how route policies are evaluated in each protocol. BGP route policy diagram shows BGP support, which applies a route policy as an internal part of the BGP route selection process. OSPF export route policy diagram shows OSPF support for export policies, which applies routing policies at the edge of the protocol to control only the routes that are announced to or accepted from the Routing Table Manager (RTM). OSPF import route policy diagram shows OSPF support for import policies, which applies import routing policies to control which routes are added to the OSPF route table after SPF is run.

Figure 1. BGP route policy diagram
Figure 2. OSPF export route policy diagram
Figure 3. OSPF import route policy diagram

BGP route policies

The Nokia implementation of BGP uses route policies extensively. The implied or default route policies can be overridden by customized route policies. The default BGP properties, with no route policies configured, function as follows:

  • accept all BGP routes into the RTM for consideration

  • announce all used BGP learned routes to other BGP peers

  • announce none of the IGP, static, or local routes to BGP peers

Readvertised route policies

Occasionally, within the network and as applicable to the VPRN service, BGP routes may be readvertised from BGP into OSPF and IS-IS. OSPF export policies (policies control which routes are exported to OSPF) are not handled by the main OSPF task but are handled by a separate task or an RTM task that filters the routes before they are presented to the main OSPF task.

Route policies for BGP next-hop resolution and peer tracking

The 7705 SAR can attach a route policy to the BGP next-hop resolution process and can allow a route policy to be associated with the optional BGP peer-tracking function. These two features are supported for BGP and VPRN BGP services.

BGP next-hop resolution policy overview

BGP next-hop resolution is a fundamental part of BGP protocol operation. It determines the best matching route (or tunnel) for the BGP next-hop address and uses information about this resolving route when running the best-path selection algorithm and programming the forwarding table. Attaching a policy to BGP next-hop resolution provides additional control over which IP routes in the routing table can become resolving routes.

See Route policy support for BGP next-hop resolution for details.

BGP peer tracking policy overview

Peer tracking is a BGP feature that triggers teardown of a BGP session if there is no IP reachability to the neighbor address or if the best matching IP route is rejected by the peer-tracking policy. This feature is configurable down to the peer level and is disabled by default. Peer tracking accelerates routing reconvergence when a failure leads to hold-timer expiry on the BGP session. BFD for BGP sessions has a similar function and is often used instead of peer tracking.

In the BGP implementation, an IPv4 or IPv6 neighbor address is considered reachable by the peer-tracking algorithm if there is any active and eligible IP route that matches the neighbor address. Policy support for peer tracking is useful so that the network administrator can restrict the set of eligible routes used to determine the reachability of an IPv4 or IPv6 BGP neighbor address when peer tracking is enabled.

See Route policy support for BGP peer tracking for details.

Route policy support for BGP next-hop resolution

A route policy can be used for BGP next-hop resolution through the use of the policy command in the config>router>bgp>next-hop-resolution and config>service>vprn>bgp>next-hop-resolution contexts. The policy command specifies the route policy to be used.

If the BGP configuration references a next-hop resolution policy (for example, policy1) and BGP has an unlabeled unicast IPv4 or IPv6 route with IPv4 or IPv6 next-hop address nh1 that is resolvable by an IP route from the RTM, BGP determines the resolving route for nh1 as follows.

  1. BGP looks for the most specific IP route in the candidate set that matches nh1 (call this route R1). If there is no matching, route the BGP route is unresolved and the process is exited.

  2. If R1 is rejected by an entry or the default-action of policy1, the route is unresolved and the process is exited.

  3. If R1 is accepted by an entry or the default-action of policy1, R1 is the resolving route.

All policy actions are supported in a next-hop resolution policy; however, the following points should be noted:

  • next-policy is ignored and matching routes are handled as per the default-action. Chaining multiple policies is not supported by this feature.

  • next-entry is supported and causes evaluation of the policy to continue on to the next entry or the default-action is applied if this is the last entry

  • no route attributes are modified as part of an accept action. The route is accepted but no modification of the AIGP metric, AS path, community, damping parameters, local preference, MED, next-hop, origin, and so on, occurs.

When no default-action is explicitly configured by the user, the implicit default-action is accept.

All from match conditions are supported in a next-hop resolution policy except as noted below:

  • family is ignored. When resolving an IPv4 BGP route, only IPv4 routes are eligible for resolving the next hop and when resolving an IPv6 BGP route, only IPv6 routes are eligible for resolving the next hop. This logic cannot be changed by policy.

  • group-address, host-ip, and source-address are ignored because they pertain only to multicast routes

The default next-hop resolution policy, used when the configuration has no policy, is equivalent to a user-configured policy with no entries and a default-action of accept.

It is possible to add, remove, or change the next-hop resolution policy at any time, without requiring BGP to first be shut down. The new policy is processed immediately and any indirect next-hop resolution changes that result from the new policy are immediately pushed down to the datapath.

Route policy support for BGP peer tracking

A route policy can be used for BGP peer tracking through the use of the peer-tracking-policy command in the config>router>bgp and config>service>vprn>bgp contexts. The policy command specifies the route policy to be used.

If the command references a policy (for example, policy1) and peer tracking is enabled with a BGP neighbor A having IPv4 or IPv6 address p1, the route BGP uses to determine the reachability of p1 is determined as follows.

  1. BGP initializes the set of candidate IP routes to all active routes installed in the forwarding table, excluding aggregate routes.

  2. BGP looks for the most specific IP route in the candidate set that matches p1 (call this route R1). If there is no matching route, the peer is unreachable and the process is exited.

  3. If R1 is a BGP route or R1 is rejected by an entry or the default-action of policy1, the peer is unreachable and the process is exited.

  4. If R1 is accepted by an entry or the default-action of policy1, the peer is reachable via R1.

If the above algorithm determines that the peer is unreachable, the BGP session with A is closed after a 1-second delay to dampen route flaps and stays closed until there is a route R1 that is accepted (that is, meets the step 4 condition). Reachability is evaluated before a new session is established, whenever the most specific route that matches the neighbor address changes, and whenever there is a change to the peer-tracking policy.

All policy actions are supported in a peer-tracking policy; however, the following points should be noted:

  • next-policy is ignored and matching routes are handled per the default-action. Chaining multiple policies is not supported by this feature.

  • next-entry is supported and causes evaluation of the policy to continue on to the next entry or the default-action is applied if this is the last entry

  • no route attributes are modified as part of an accept action. The route is accepted but no modification of the AIGP metric, AS path, community, damping parameters, local preference, MED, next-hop, origin, and so on, occurs.

When no default-action is explicitly configured by the user, the implicit default-action is accept.

All from match conditions are supported in a peer-tracking policy except as noted below:

  • family is ignored. When determining the reachability of an IPv4 peer address, only IPv4 routes are eligible and when determining the reachability of an IPv6 peer address, only IPv6 routes are eligible. This logic cannot be changed by policy.

  • group-address, host-ip, and source-address are ignored because they pertain only to multicast routes

The default peer-tracking policy, used when the configuration has no peer-tracking policy, is equivalent to a user-configured policy with no entries and a default-action of accept.

It is possible to add, remove, or change the peer-tracking policy at any time, without requiring BGP to first be shut down. The new policy is processed immediately and this may trigger one or more sessions to be torn down.

When to use route policies

The following are examples of when to configure and apply unique route policies:

  • to control the protocol to allow all routes to be imported into the routing table. This enables the routing table to learn about particular routes to enable packet forwarding and redistributing of routes into other routing protocols.

  • to control the export of a protocol’s learned active routes

  • to enable the MP-BGP routing protocol to announce active routes learned from another routing protocol (that is, the static routes configured in the 7705 SAR). This function is sometimes called route redistribution.

  • to allow unique behaviors to control route characteristics; for example, change the route preference, AS path, or community values to manipulate or control the route selection

  • to control BGP route flapping by use of route flap damping

Troubleshooting the FIB

Adapter cards that are installed in a 7705 SAR-8 Shelf V2 or 7705 SAR-18 chassis may have different hardware limitations with respect to IPv4 and IPv6 FIB routing. Alarms may be generated on the node when IPv4 or IPv6 routing faults related to scaling, capability, or a datapath route lookup problem are detected on an adapter card. The following table lists the applicable alarms.

Table 3. FIB alarms

Alarm

Description

‟Class MDA Module : runtime event, details: Fatal FIB_STATUS_IPV6_UNSUPPORTED_SUBNET_MASK Error Detected!”

A /65 to /127 IPv6 route was downloaded to an adapter card without hardware support

‟Class MDA Module : runtime event, details: Fatal FIB_STATUS_IPV4_SCALE_EXCEEDED Error Detected!”

The total number of IPv4 routes in the FIB exceeds the adapter card hardware capability

‟Class MDA Module : runtime event, details: Fatal FIB_STATUS_IPV4_VRF_SCALE_EXCEEDED Error Detected!”

The total number of IPv4 routing instances in the FIB (for example, number of VPRNs) exceeds the adapter card hardware capability

‟Class MDA Module : runtime event, details: Fatal FIB_STATUS_IPV6_SCALE_EXCEEDED Error Detected!”

The total number of IPv6 routes in the FIB exceeds the adapter card hardware capability

‟Class MDA Module : runtime event, details: Fatal FIB_STATUS_IPV6_VRF_SCALE_EXCEEDED Error Detected!”

The total number of IPv6 routing instances in the FIB (for example, number of VPRNs) exceeds the adapter card hardware capability

‟Class MDA Module : runtime event, details: Fatal FIB_STATUS_IPV4_DP_LOOKUP_FAULT Error Detected!”

The software has detected faults with datapath IPv4 route lookups

If any of the alarms in the table are generated, the IPv4 or IPv6 datapath on the adapter card operates in a random way. For example, traffic may continue to flow as expected in some cases, but in other cases, traffic could be blackholed or misrouted.

The show router fib 1 ipv4 summary and show router fib 1 ipv6 summary commands can be used to confirm that the FIB limits are exceeded.

For example:

# show router fib 1 ipv4 summary
 
===============================================================================
FIB Summary
===============================================================================
                              Active                                          
-------------------------------------------------------------------------------
Static                        0                                               
Direct                        142                                             
HOST                          0                                               
BGP                           0                                               
BGP VPN                       38569                                           
OSPF                          234                                             
ISIS                          486                                             
RIP                           0                                                
Aggregate                     0                                               
Sub Mgmt                      0                                               
-------------------------------------------------------------------------------
Total Installed               39431                                           
-------------------------------------------------------------------------------
Current Occupancy             120%                                            
Overflow Count                0                                               
Suppressed by Selective FIB   0
Occupancy Threshold Alerts
    Alert Raised 1 Times; Last Alert 11/30/2016 07:50:46
===============================================================================

To restore a FIB that is in a failed state, the user must do the following.

  1. If possible, resolve the condition that led to the alarm being generated. For example, for scaling alarms, reduce the size of the routing table below the maximum for the affected adapter card.

  2. Execute the tools perform mda-table-refresh command to restore the FIB. Refer to the 7705 SAR OAM and Diagnostics Guide, ‟Tools Perform Commands” for a command description.

    Wait a few minutes to ensure that no new alarm is raised; if there are no new alarms, the fault has been successfully resolved.

    If a new alarm is raised, this indicates that the adapter card must be replaced.

Alternatively, when an alarm is generated, replace the card with a new adapter card that supports the higher scaling limit (for scaling alarms) or replace the card to resolve persistent datapath lookup faults.

Route policy configuration process overview

The following figure displays the process to provision basic route policy parameters.

Figure 4. Route policy configuration and implementation flow

Configuration notes

When configuring policy statements, the policy statement name must be unique.

Route policy configuration overview

Route policies allow you to configure routing according to specifically defined policies. You can create policies and entries to allow or deny paths based on parameters such as source address, destination address, protocol, and community list.

Policies can be as simple or complex as required. A simple policy can block routes for a specific location or IP address. More complex policies can be configured using numerous policy statement entries containing matching conditions to specify whether to accept or reject the route, control how a series of policies are evaluated, and manipulate the characteristics associated with a route.

When to create routing policies

Route policies are created in the config>router context. There are no default route policies. Each route policy must be explicitly created and applied. Applying route policies can introduce more efficiency as well as more complexity to the capabilities of the 7705 SAR.

Route policies are used to control which MPLS labels should be learned or advertised. Based on the configured routing policy, MPLS labels from certain neighbors can be discarded.

Route policies are also used to control the size and content of the BGP, OSPF, and IS-IS routing tables, the routes that are advertised, and the best route to take to reach a destination.

Route policies can be created to control:

  • a protocol to export all the active routes learned by that protocol

  • route characteristics to control which route is selected to act as the active route to reach a destination and advertise the route to neighbors

  • the protocol to import all routes into the routing table. A routing table must learn about particular routes to be able to forward packets and redistribute to other routing protocols.

  • damping

Before a route policy is applied, analyze the policy’s purpose and be aware of the results (and consequences) when packets match the specified criteria and the associated actions and default actions, if specified, are executed. Membership reports can be filtered based on a specific source address.

Default route policy actions

Routing protocols have default behaviors for the import and export of routing information.

For BGP, OSPF, and IS-IS, the default route policy actions are as follows:

  • BGP

    • import – all routes from BGP peers are accepted and passed to the BGP route selection process

    • export (internal routes) – all active BGP routes are advertised to BGP peers

    • export (external routes) – all non-BGP learned routes are not advertised to BGP peers

  • OSPF

    • import – all OSPF routes are accepted from OSPF neighbors

    • export (internal routes) – all OSPF routes are automatically advertised to all neighbors

    • export (external routes) – all non-OSPF learned routes are not advertised to OSPF neighbors

  • IS-IS

    • import – not applicable; all IS-IS routes are accepted from IS-IS neighbors and cannot be controlled by route policies

    • export (internal routes) – all IS-IS routes are automatically advertised to all neighbors

    • export (external routes) – all non-IS-IS learned routes are not advertised to IS-IS neighbors

Policy evaluation

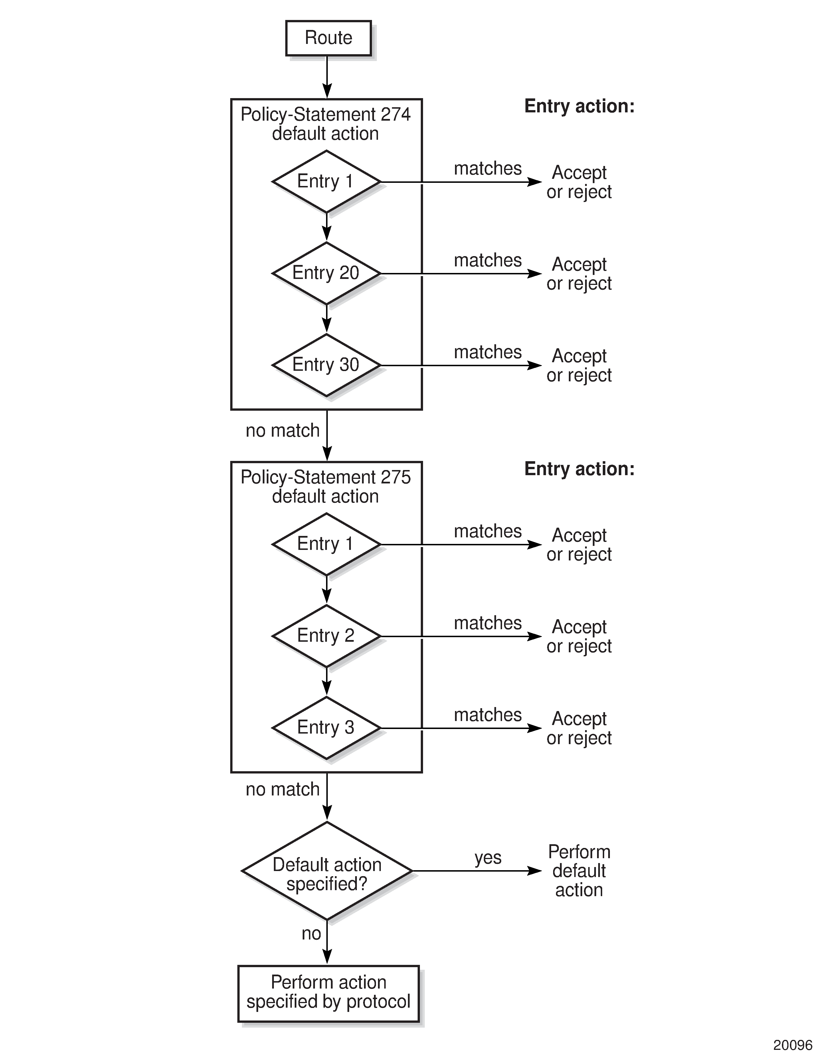
Routing policy statements can consist of one or several entries. The entries specify the matching criteria. A label is compared to the first entry in the policy statement. If it matches, the specified entry action is taken, either accepted or rejected. If the action is to accept or reject the label, that action is taken and the evaluation of the label ends.

If the label does not match the first entry, the label is compared to the next entry (if more than one is configured) in the policy statement. If there is a match with the second entry, the specified action is taken. If the action is to accept or reject the label, that action is taken and the evaluation of the label ends, and so on.

Each route policy statement can have a default-action clause defined. If a default action is defined for one or more of the configured route policies, the default action should be handled in the following ways.

  • The process stops when the first complete match is found and executes the action defined in the entry.

  • If the packet does not match any of the entries, the system executes the default action specified in the policy statement.

Route policies can also match a given route policy entry and continue to search for other entries within either the same route policy or the next route policy by specifying the next-entry or next-policy option in the entry’s action command. Policies can be constructed to support multiple states to the evaluation and setting of various route attributes.

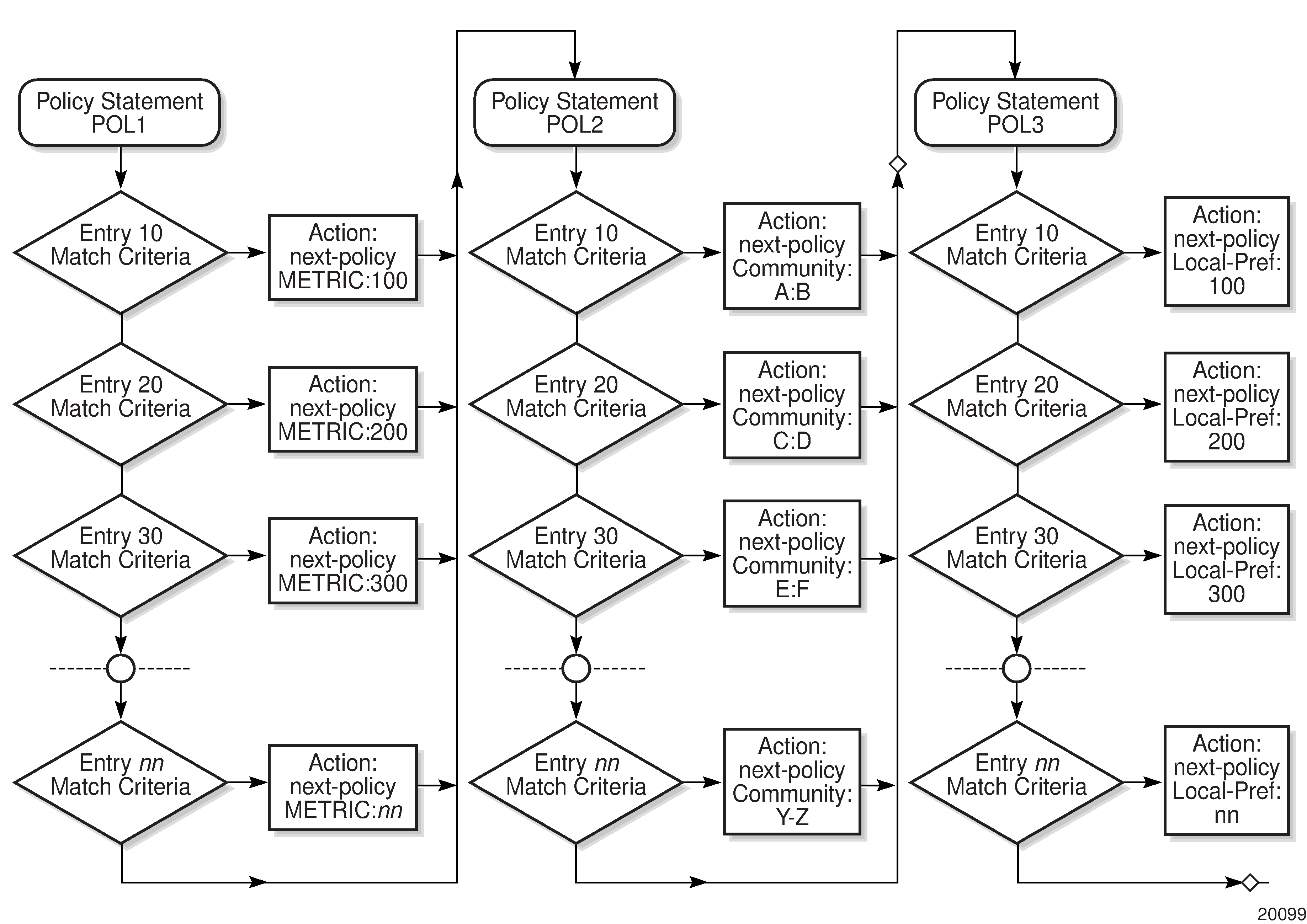
Route policy process example shows an example of the route policy process.

Next entry and next policy logic example shows the next-entry and next-policy route policy processes. The next-entry logic is that for each policy statement, the process checks each entry until the first match is hit, at which point the appropriate action is taken, which could be next-policy.

Figure 5. Route policy process example

Figure 6. Next entry and next policy logic example

Damping

Damping initiates controls when routes flap. Route flapping occurs when an advertised route between nodes alternates (flaps) back and forth between two paths because of network problems that cause intermittent route failures. To limit processing requirements, the amount of routing state change updates propagated must be reduced. Thus, when a route flaps beyond a configured value (the suppress value), then that route is removed from the routing table and routing protocols until the value falls below the reuse value.

A route can be suppressed according to the Figure of Merit (FoM) value. The FoM is a value that is added to a route each time it flaps. A new route begins with an FoM value of 0.

Damping is optional. If damping is configured, the following parameter values must be explicitly specified because there are no default values:

  • suppress

  • half-life

  • reuse

  • max-suppress

When a route’s FoM value exceeds the suppress value, the route is removed from the routing table. The route is considered to be stable when the FoM drops below the reuse value by means of the specified half-life parameter. The route is then returned to the routing tables. When routes have higher FoM and half-life values, they are suppressed for longer periods of time. The following figure depicts an example of a flapping route, the suppress threshold, the half-life decay (time), and reuse threshold. The peaks represent route flaps, and the slopes represent half-life decay.

Figure 7. Damping example

Basic route policy configuration

This section provides information about configuring route policies and shows configuration examples of common tasks.

The minimum route policy parameters that need to be configured are:

  • policy statement with the following parameters specified:

    • at least one entry

    • entry action

The following is an example of route policy configuration, including examples for defining community members, community expressions, and the as-path regular expressions.

A:ALU-B>config>router>policy-options# info
----------------------------------------------
       community "all-types" members "5000:[1-6][1-9][0-9]"
       community "all-normal" members "5000:[1-5][1-9][0-9]"
       community "comm-expression-1" expression "target:1234:111 OR target:1234:222"
       community "comm-expression-2" expression "target:555:100 AND target:555:600"
. . .
       as-path "Outside madeup paths" expression ".* 5001 .*"
       as-path "Outside Internet paths" expression ".* 5002 .*"
       policy-statement "RejectOutsideASPaths"
           entry 1
               from
                   protocol bgp
                   as-path "Outside madeup paths"
               exit
               action reject
               exit
           exit
           entry 2
               from
                   protocol bgp
                   as-path "Outside Internet paths"
               exit
               action reject
               exit
           exit
           entry 3
               from
                   protocol ospf
               exit
               to
                   protocol bgp
               exit
               action reject
               exit
           exit
           entry 4
               from
                   protocol isis
               exit
               to
                   protocol bgp
               exit
               action reject
               exit
           exit
           default-action accept
           exit
       exit
       policy-statement "aggregate-customer-peer-only"
           entry 1
               from
                   community "all-customer-announce"
               exit
               action accept
               exit
           exit
           default-action reject
           exit
           exit
----------------------------------------------
A:ALU-B>config>router>policy-options#

Configuring route policy components

Use the CLI syntax displayed below to configure the following:

CLI syntax:
config>router>policy-options
    begin
    commit
    abort
    prefix-list name
        prefix ip-prefix/mask [exact | longer | through length | prefix-length-range length1-length2]
    policy-statement name
        description text
        default-action {accept | next-entry | next-policy | reject}
        entry entry-id
            description text
            action {accept | next-entry |next-policy | reject}
            from
                neighbor {ip_address | prefix-list name}
                prefix-list name [name...up to 5 max]

Beginning the policy statement

Use the following CLI syntax to begin a policy statement configuration. In order for a policy statement to be complete, an entry must be specified (see Configuring an entry).

CLI syntax:
config>router>policy-options
    begin
    policy-statement name
       description text

The following error message displays if you try to enter a policy options command without entering begin first.

A:ALU-B>config>router>policy-options# policy-statement ‟allow all”
MINOR: CLI The policy-options must be in edit mode by calling begin before any
changes can be made.

The following example displays policy statement configuration command usage. These commands are configured in the config>router context.

Example:
config>router# policy-options
policy-options# begin

There are no default policy statement options. All parameters must be explicitly configured.

Creating a route policy

To enter the mode to create or edit route policies, you must enter the begin keyword at the config>router>policy-options prompt. Other editing commands include:

  • the commit command, which saves changes made to route policies during a session

  • the abort command, which discards changes that have been made to route policies during a session

Use the following CLI syntax to enter edit mode:

CLI syntax:
config>router>policy-options
    begin

The following example displays some commands to configure a policy statement. Policy option commands are configured in the config>router context. Use the commit command to save the changes.

Example:
config>router>policy-options# begin
policy-options# policy-statement "allow all"
policy-options>policy-statement$ description "General Policy"
policy-options>policy-statement>default# entry 1
policy-options>policy-statement>entry$ action accept
policy-options>policy-statement>entry# exit
policy-options>policy-statement# exit
policy-options# commit

The following error message displays if you try to modify a policy option without entering begin first.

A:ALU-B>config>router>policy-options# policy-statement ‟allow all”
MINOR: CLI The policy-options must be in edit mode by calling begin before any 
changes can be made.


A:ALU-B>config>router>policy-options# info
#------------------------------------------
# Policy
#------------------------------------------

        policy-options
            begin
            policy-statement "allow all"
        description "General Policy"
        ...
            exit
    exit
----------------------------------------------
A:ALU-B>config>router>policy-options#

Configuring a default action

Specifying a default action is optional. The default action controls those packets not matching any policy statement entries. The default action is applied only to those routes that do not match any policy entries.

If no default action is specified and there is no match, the packets are accepted.

A policy statement must include at least one entry (see Configuring an entry).

To enter the mode to create or edit route policies, you must enter the begin keyword at the config>router>policy-options prompt. Other editing commands include:

  • the commit command, which saves changes made to route policies during a session

  • the abort command, which discards changes made to route policies during a session

CLI syntax:
config>router>policy-options
    begin
    commit
    abort
    policy-statement name
        default-action {accept |next-entry | next-policy | reject}
            aigp-metric metric
            aigp-metric metric add
            aigp-metric igp
            as-path {add | replace} name
            as-path-prepend as-path [repeat]
            community {add | remove | replace} name [name...(up to 28 max)]
            damping {name | none}
            local-preference local-preference
            metric {add | subtract} metric
            metric set {igp | metric}
            next-hop ip-address
            next-hop-self
            origin {igp | egp |incomplete}
            preference preference
            tag tag
            type type

The following example displays default action configuration command usage. These commands are configured in the config>router>policy-options context.

Example:
config>router>policy-options# policy-statement "1"
policy-statement$ default-action accept

The following example displays the default action configuration:

A:ALU-B>config>router>policy-options# info
----------------------------------------------
            policy-statement "1"
                default-action accept
                    as-path add "saratoga"
                    community add "365"
                    damping "flaptest"
                    metric igp
                         next-hop 10.10.10.104 
                exit
                     type 1
            exit
----------------------------------------------
A:ALU-B>config>router>policy-options#

Configuring an entry

An entry action must be specified. The other parameters in the entry>action context are optional.

The from>community and from>community expression commands are mutually exclusive for a specific entry. The last community command entered overwrites any previous community command.

CLI syntax:
config>router>policy-options
    begin
    commit
    abort
    policy-statement name
        entry entry-id
            action {accept | next-entry | next-policy | reject}
                aigp-metric metric
                aigp-metric metric add
                aigp-metric igp
                as-path {add | replace} name
                as-path-prepend as-path [repeat]
                community {add | remove | replace} name [name...(up to 28 max)]
                damping {name | none}
                local-preference local-preference
                metric {add | subtract} metric
                metric set {igp | metric}
                next-hop ip-address
                next-hop-self
                origin {igp | egp |incomplete}
                preference preference
                tag tag
                type type
            description description-string
            from
                area area-id
                as-path {add | replace} name
                community comm-name
                community expression expression
                external
                family [ipv4] [vpn-ipv4] 
                group-address prefix-list-name
                interface interface-name
                level {1 | 2}
                neighbor {ip-address | prefix-list name}
                origin {igp | egp | incomplete | any}
                prefix-list name [name...(up to 5 max)]
                protocol protocol [all | instance instance]
                source-address ip-address 
                tag tag
                type type
            to
                level {1 | 2}
                neighbor {ip-address | prefix-list name}
                prefix-list name [name...(up to 5 max)]
                protocol protocol [all | instance instance]

The following example displays entry command usage. These commands are configured in the config>router>policy-options context.

Example:
config>router>policy-options# policy-statement "1"
policy-statement# entry 1
policy-statement>entry$ to
policy-statement>entry>to# protocol bgp
policy-statement>entry>to# neighbor 10.10.10.104
policy-statement>entry>to# exit
policy-statement>entry# action accept
policy-statement>entry>action# exit
policy-statement>entry# exit
policy-statement# entry 2
policy-statement>entry$ from
policy-statement>entry>from# protocol ospf
policy-statement>entry>from# exit
policy-statement>entry$ to
policy-statement>entry>to# protocol ospf
policy-statement>entry>to# neighbor 10.10.0.91
policy-statement>entry>to# exit
policy-statement>entry# action accept
policy-statement>entry>action# exit

The following example displays entry parameters and includes the default action parameters that were displayed in the previous section.

A:ALU-B>config>router>policy-options# info
----------------------------------------------
            policy-statement "1"
                entry 1
                    to
                         protocol bgp
                         neighbor 10.10.10.104
                    exit
                    action accept
                    exit
                exit
                entry 2
                    from
                        protocol ospf
                    exit
                    to
                        protocol ospf
                        neighbor 10.10.0.91
                    exit
                    action accept
                    exit
                exit
                default-action accept
                    . . .
                exit
            exit
----------------------------------------------

Configuring an AS path (policy-option)

An AS path is defined by a regular expression in the config>router>policy-options context. Once defined, it can be added, removed, or replaced in a policy statement as part of a default action, an entry action, or an entry from (source) definition. See Configuring a default action and Configuring an entry.

The following example displays as-path command usage.

A:ALU-B>config>router># info
----------------------------------------------
    . . .
       as-path "Outside madeup paths" expression ".* 5001 .*"
       as-path "Outside Internet paths" expression ".* 5002 .*"
    . . .
----------------------------------------------
A:ALU-B>config>router># 

Configuring a community list or expression

Community lists are composed of a group of destinations that share a common property. Community lists allow you to administer actions on a configured group instead of having to execute identical commands for each member.

Community expressions are logical expressions composed of community lists (community IDs) separated by AND, OR, and NOT operations. Community expressions provide flexible matching of communities.

Community lists and expressions must be enclosed within quotes.

The following example displays community list and community expression configurations:

A:ALU-B>config>router>policy-options# info
----------------------------------------------
     community "eastern" members "100:200"
     community "western" members "100:300"
     community "northern" members "100:400"
     community "southern" members "100:500"
     community "headquarters" members "100:1000"
     community "manor" expression "target:100:111"
     community "manor2" expression "target:100:111 AND target:100:555"
     policy-statement "1"
          entry 1
               to
                    protocol bgp
                    neighbor 10.10.10.104
               exit
          entry 10
               from
                    community expression "NOT ([eastern] OR [western])"
               exit
               action accept
....
----------------------------------------------

Configuring damping

Observe the following when configuring damping.

  • For each damping profile, all parameters must be configured.

  • The suppress value must be greater than the reuse value (see Damping example).

  • Damping is enabled in the config>router>bgp context at the BGP global, group, and neighbor levels. If damping is enabled but route policy does not specify a damping profile, the default damping profile is used. This default profile is always present and consists of the following parameters:

    • half-life: 15 min

    • max-suppress: 60 min

    • reuse: 750

    • suppress: 3000

Use the following CLI syntax to configure damping:

CLI syntax:
config>router>policy-options
    damping name
        half-life minutes
        max-suppress minutes
        reuse integer
        suppress integer

The following example displays damping configuration command usage.

Example:
config>router>policy-options#
config>router>policy-options#damping damptest123
config>router>policy-options#damping# max-suppress 60
config>router>policy-options#damping# half-life 15
config>router>policy-options#damping# re-use 750
config>router>policy-options#damping# suppress 1000
config>router>policy-options#damping# exit
config>router>policy-options#

The following example displays a damping configuration:

A:ALU-B>config>router>policy-options# info
----------------------------------------------
     damping "damptest123"
          half-life 15
          max-suppress 60
          reuse 750
          suppress 1000
     exit
----------------------------------------------
A:ALU-B>config>router>policy-options#

Configuring a prefix list

Use the following CLI syntax to configure a prefix list:

CLI syntax:
config>router>policy-options
    prefix-list name
        prefix ip-prefix/prefix-length [exact |longer | through length | prefix-length-range length1-length2]

The following example displays prefix list configuration command usage. These commands are configured in the config>router context.

Example:
config>router>policy-options# prefix-list
policy-options# prefix-list western
policy-options>prefix-list# prefix 10.10.0.1/8
policy-options>prefix-list# prefix 10.10.0.2/8
policy-options>prefix-list# prefix 10.10.0.3/8
policy-options>prefix-list# prefix 10.10.0.4/8

The following example displays the prefix list configuration.

A:ALU-B>config>router>policy-options# info
----------------------------------------------
            prefix-list "western"
                    prefix 10.10.0.1/8 exact
                    prefix 10.10.0.2/8 exact
                    prefix 10.10.0.3/8 exact
                    prefix 10.10.0.4/8 exact
            exit
----------------------------------------------
A:ALU-B>config>router>policy-options>#

Configuring PIM join/register policies

Join policies are used in Protocol Independent Multicast (PIM) configurations to prevent the transport of multicast traffic across a network and the dropping of packets at a router at the edge of the network. PIM join filters reduce the potential for denial of service (DoS) attacks and PIM state explosion—large numbers of join messages forwarded to each router on the RPT, resulting in memory consumption.

Register policies are used to prevent any unwanted sources from transmitting multicast streams. You can apply register policies at the RP or at the edge so that register data does not travel unnecessarily over the network toward the RP.

For information about importing a join/register policy into a PIM configuration, see the ‟PIM-SM routing policies” and ‟Importing PIM join/register policies” sections in the 7705 SAR Routing Protocols Guide.

Configuring a PIM join or register policy follows the same process as that for any other policy. However, when configuring an entry, include the entry>from>group-address and entry>from>source-address commands. See Configuring an entry for the CLI syntax.

The (*,G) or (S,G) information is used to forward unicast or multicast packets:

  • group-address matches the group in join/prune messages

      group-address 239.255.50.208/16 exact

  • source-address matches the source in join/prune messages

      source-address 239.255.150.208/16 longer

  • interface matches any join message received on the specified interface

      interface port 1/1/1

  • neighbor matches any join message received from the specified neighbor

      neighbor 10.10.10.10

The following example displays the command usage for a PIM join policy named ‟pim_join”. The policy does not allow join messages for group 239.50.50.208/32 and source 239.255.150.208/16, but does allow other join messages. These commands are configured in the config>router context.

Example:
policy-options# begin
policy-options# policy-statement pim_join
policy-options>policy-statement$ entry 10
policy-options>policy-statement>entry$ from
policy-options>policy-statement>entry>from$ group-address 239.255.50.208/16
policy-options>policy-statement>entry>from$ source-address 239.255.150.208/16
policy-options>policy-statement>entry>from$ exit
policy-options>policy-statement>entry# action reject
policy-options>policy-statement>entry#

The following example displays a PIM register policy that allows registration for (*,239,255.0.0/8). These commands are configured in the config>router context.

Example:
policy-options# policy-statement reg_pol
policy-options>policy-statement$ entry 10
policy-options>policy-statement>entry$ from
policy-options>policy-statement>entry>from$ group-address 239.255.0.0/8
policy-options>policy-statement>entry# action accept
policy-options>policy-statement>entry>action# exit
policy-options>policy-statement>entry# exit
policy-options>policy-statement# exit

The following example displays the PIM join and register policy configurations:

A:ALA-B>config>router>policy-options# info
----------------------------------------------
...
     policy-statement "pim_join"
          entry 10
               from
                    group-address "239.50.50.208/32"
                    source-address 239.255.150.208
               exit
               action reject
          exit
     exit
     policy-statement "reg_pol"
          entry 10
               from
                    group-address "239.255.0.0/8"
               exit
               action accept
          exit
     exit
...
----------------------------------------------

Configuring bootstrap message import and export policies

Bootstrap import and export policies are used to control the flow of bootstrap messages to and from the rendezvous point (RP).

The following configuration example specifies that there should be no BSR messages received or sent out of interface port 1/1/1. These commands are configured in the config>router context.

Example:
policy-options# policy-statement pim_import_policy
policy-options>policy-statement$ entry 10
policy-options>policy-statement>entry$ from
policy-options>policy-statement>entry>from$ interface port 1/1/1
policy-options>policy-statement>entry>from$ exit
policy-options>policy-statement>entry# action reject
policy-options>policy-statement>entry# exit
policy-options>policy-statement# exit
Example:
policy-options# policy-statement pim_export_policy
policy-options>policy-statement$ entry 10
policy-options>policy-statement>entry$ to
policy-options>policy-statement>entry>to$ interface port 1/1/1
policy-options>policy-statement>entry# action reject
policy-options>policy-statement>entry# exit
policy-options>policy-statement# exit

The following configuration example illustrates the application of the policies to PIM. Up to five import and five export policies can be specified.

Example:
config>router>pim>rp# bootstrap-import pim_import_policy
config>router>pim>rp# bootstrap-export pim_export_policy

Configuring LDP-to-segment routing stitching policies

Use the following CLI syntax to configure route policy options to support LDP-to-segment routing (SR) stitching.

CLI syntax:
config>router>policy-options
    begin
    prefix-list name
        prefix ip-prefix/prefix-length [exact | longer | through length | prefix-length-range length1-length2]
    policy-statement name
        entry entry-id
            from
                protocol isis
                prefix-list name
            to
                protocol ldp
            action {accept | next-entry | next-policy | reject}

The following is an example of LDP-to-SR stitching route policy options configuration.

Example:
config>router>policy-options# begin
config>router>policy-options# prefix-list "prefixes"
config>router>policy-options>prefix-list$ prefix 198.51.100.0/24 longer
config>router>policy-options>prefix-list# exit
config>router>policy-options# policy-statement "export-SR"
config>router>policy-options>policy-statement# entry 10
config>router>policy-options>policy-statement>entry# from protocol isis
config>router>policy-options>policy-statement>entry# from prefix-list "prefixes"
config>router>policy-options>policy-statement>entry>from# exit
config>router>policy-options>policy-statement>entry# to protocol ldp
config>router>policy-options>policy-statement>entry> to# exit
config>router>policy-options>policy-statement>entry# action accept
config>router>policy-options>policy-statement>entry>action# exit
config>router>policy-options>policy-statement>entry# exit
config>router>policy-options# commit
config>router>policy-options# exit

The following example displays the LDP-to-SR stitching route policy options configuration.

A:NOK-1 Dut-B>config>router>policy-options# info
----------------------------------------------
        ...
            prefix-list "prefixes"
                prefix 198.51.100.0/24 longer
            exit
            policy-statement "export-SR"
                entry 10
                    from
                        protocol isis
                        prefix-list "prefixes"
                    exit
                    to
                        protocol ldp
                    exit
                    action accept
                    exit
                exit
            exit
----------------------------------------------
A:NOK-1 Dut-B>config>router>policy-options#

Route policy configuration management tasks

This section describes the following route policy configuration management tasks:

Editing policy statements and parameters

Route policy statements can be edited to modify, add, or delete parameters. To enter edit mode, you must enter the begin keyword at the config>router>policy-options prompt. Other editing commands include:

  • the commit command, which saves changes made to route policies during a session

  • the abort command, which discards changes that have been made to route policies during a session

The following example displays some commands to configure a policy statement. These commands are configured in the config>router>policy-options context.

Example:
config>router>policy-options# begin
policy-options# policy-statement "1"
policy-statement# description "Level 1"
policy-statement# entry 4
policy-statement>entry$ description ‟new entry”
policy-statement>entry# from
policy-statement>entry>from$ prefix-list ‟from hq”
policy-statement>entry>from# exit
policy-statement>entry# action reject
policy-statement>entry# commit
policy-statement>entry# exit

The following example displays the changed configuration.

A:ALU-B>config>router>policy-options>policy-statement# info
----------------------------------------------
                description "Level 1"
                entry 1
                    from
                        neighbor 10.10.10.104
                    exit
                    action accept
                    exit
                exit
                entry 2
                    from
                        prefix-list list1
                    exit
                    from
                        neighbor 10.10.0.91
                    exit
                    action accept
                    exit
                exit
                entry 4
                    description "new entry"
                    from
                        prefix-list ‟from hq”
                    exit
                    action reject
                exit
                default-action accept
                exit
----------------------------------------------
A:ALU-B>config>router>policy-options>policy-statement# 

Deleting an entry

Use the following CLI syntax to delete a policy statement entry:

CLI syntax:
config>router>policy-options
    begin
    commit
    abort
    policy-statement name
        no entry entry-id

The following example displays the commands required to delete a policy statement entry.

Example:
config>router>policy-options# begin
policy-options# policy-statement "1"
policy-options>policy-statement# no entry 4
policy-options>policy-statement# commit

Deleting a policy statement

Use the following CLI syntax to delete a policy statement:

CLI syntax:
config>router>policy-options
    begin
    commit
    abort
    no policy-statement name

The following example displays the commands required to delete a policy statement.

Example:
config>router>policy-options# begin
policy-options# no policy-statement 1
policy-options# commit

Route policy command reference

Command hierarchies

Route policy configuration commands

config 
    - [no] router 
        - [no] policy-options
            - abort
            - as-path name expression regular-expression 
            - no as-path name 
            - begin
            - commit
            - community name members comm-id [comm-id … (up to 15 max)]
            - community name expression expression [exact] 
            - no community name [members comm-id] 
            - [no] damping name
                - half-life minutes
                - no half-life 
                - max-suppress minutes
                - no max-suppress 
                - reuse integer
                - no reuse 
                - suppress integer
                - no suppress
            - [no] policy-statement name
                - default-action {accept | next-entry | next-policy | reject}
                - no default-action
                    - aigp-metric metric
                    - aigp-metric metric add
                    - aigp-metric igp
                    - no aigp-metric
                    - as-path {add | replace} name
                    - no as-path 
                    - as-path-prepend as-number [repeat]
                    - no as-path-prepend
                    - community add name [name...(up to 28 max)]
                    - community remove name [name...(up to 28 max)]
                    - community replace name [name...(up to 28 max)]
                    - no community 
                    - damping {name | none}
                    - no damping 
                    - local-preference local-preference
                    - no local-preference 
                    - metric {add | subtract} metric
                    - metric set {igp | metric}
                    - no metric
                    - next-hop ip-address
                    - no next-hop 
                    - [no] next-hop-self 
                    - origin {igp | egp | incomplete}
                    - no origin 
                    - preference preference
                    - no preference
                    - tag tag 
                    - no tag
                    - type type
                    - no type
                - description description-string
                - no description
                - entry entry-id
                - no entry
                    - action {accept | next-entry | next-policy | reject}
                    - no action
                        - aigp-metric metric
                        - aigp-metric metric add
                        - aigp-metric igp
                        - no aigp-metric
                        - as-path {add | replace} name
                        - no as-path 
                        - as-path-prepend as-number [repeat]
                        - no as-path-prepend
                        - community {add name | remove name | replace name} [name...(up to 28 max)] 
                        - no community 
                        - damping {name | none}
                        - no damping 
                        - local-preference local-preference
                        - no local-preference 
                        - metric {add | subtract} metric
                        - metric set {igp | metric}
                        - no metric
                        - next-hop ip-address
                        - no next-hop 
                        - [no] next-hop-self 
                        - origin {igp | egp | incomplete}
                        - no origin 
                        - preference preference
                        - no preference
                        - tag tag
                        - no tag
                        - type type
                        - no type
                    - description description-string
                    - no description
                    - [no] from
                        - area area-id
                        - no area
                        - as-path name
                        - no as-path 
                        - community comm-name
                        - community expression expression
                        - no community 
                        - [no] external
                        - family [ipv4] [vpn-ipv4] [ipv6] [vpn-ipv6] [mvpn-ipv4] [route-target] [evpn] [label-ipv4] [label-ipv6] [bgp-ls] 
                        - no family 
                        - group-address prefix-list-name 
                        - no group-address 
                        - interface interface-name
                        - no interface 
                        - level {1 | 2}
                        - no level
                        - neighbor {ip-address | prefix-list name}
                        - no neighbor
                        - origin {igp | egp | incomplete | any}
                        - no origin 
                        - prefix-list name [name...(up to 5 max)]
                        - no prefix-list
                        - protocol protocol [all | {instance instance}]
                        - protocol bgp bgp-label 
                        - no protocol
                        - source-address ip-address
                        - no source-address
                        - tag tag
                        - no tag
                        - type type
                        - no type
                    - [no] to
                        - level {1 | 2}
                        - no level
                        - neighbor {ip-address | prefix-list name}
                        - no neighbor
                        - prefix-list name [name...(up to 5 max)]
                        - no prefix-list
                        - protocol protocol [all | {instance instance}]
                        - protocol bgp bgp-label 
                        - no protocol
            - [no] prefix-list name
                - [no] prefix ip-prefix/prefix-length [exact | longer | through length | prefix-length-range length1-length2]
        - [no] triggered-policy

Show commands

show
    - router router-name
        - policy [name | damping name | prefix-list name | as-path name | community name | admin] 

Command descriptions

Configuration commands

Generic commands
abort
Syntax

abort

Context

config>router>policy-options

Description

This command discards changes made to a route policy.

Default

n/a

begin
Syntax

begin

Context

config>router>policy-options

Description

This command enters the mode to create or edit route policies.

Default

n/a

commit
Syntax

commit

Context

config>router>policy-options

Description

This command saves changes made to a route policy.

Default

n/a

description
Syntax

description description-string

no description

Context

config>router>policy-options>policy-statement

config>router>policy-options>policy-statement>entry

Description

This command creates a text description that is stored in the configuration file to help identify the contents of the entity.

The no form of the command removes the string from the configuration.

Default

n/a

Parameters
description-string

the description character string. Allowed values are any string up to 80 characters long composed of printable, 7-bit ASCII characters. If the string contains special characters (such as #, $, or spaces), the entire string must be enclosed within double quotes.

Route policy options
as-path
Syntax

as-path name expression regular-expression

no as-path name

Context

config>router>policy-options

Description

This command creates a route policy AS path regular expression statement to use in route policy entries. See Regular expressions for information.

The no form of the command deletes the AS path regular expression statement.

Default

no as-path

Parameters
name

the AS path regular expression name. Allowed values are any string up to 32 characters long composed of printable, 7-bit ASCII characters. If the string contains special characters (such as #, $, or spaces), the entire string must be enclosed within double quotes.

regular-expression

the AS path regular expression (any string or null)

Values

any string up to 256 characters long composed of printable, 7-bit ASCII characters. If the string contains special characters (such as #, $, or spaces), the entire string must be enclosed within double quotes.

null – the AS path expressed as an empty regular expression string

community
Syntax

community name members comm-id [comm-id...(up to 15 max)]

community name expression expression [exact]

no community name [members comm-id]

Context

config>router>policy-options

Description

This command creates a route policy community list to use in route policy entries.

The community name expression form of the command extends the community name members form by allowing the community list structure to support AND, OR, and NOT operators.

When the community name members command is used, community lists operate with implicit AND support only, and all communities must match to provide a positive match, as shown in the following example, where the only routes that match include all three communities:

  • community ‟north” members ‟target:1234:111” ‟target:1234:222” ‟target:1234:333”

Using the community name expression command allows for configuration of a community expression using Boolean operators to provide flexible matching of communities. The AND operator provides functionality equivalent to the community name members command; the OR operator allows an OR match of communities; and the NOT operator allows inverted matches. If required, operators may be chained (for example, AND NOT) or enclosed within parentheses. The entire expression must be enclosed within quotation marks.

  • community ‟north2” expression ‟target:1234:111 AND target:1234:222 AND target: 1234:333”

  • community ‟south” expression ‟target:1234:111 OR target:1234:222”

  • community ‟east” expression ‟target:1234:1.1 AND NOT target:1234:191”

  • community ‟west” expression ‟[community list A] OR ([community list B] AND [community list C])”

The first example above demonstrates the implementation of AND operators, which is equivalent to the members syntax (that is, ‟north” and ‟north2” are equivalent). The second example shows the OR operator, which matches a route that has target:1234:111 or target:1234:222. The third example shows the combined AND NOT operators, which matches a route that matches the regular expression for target:1234:1.1 except for target:1234.191, where ‟1.1” means any match of 111, 121, 131, 141, 151, 161, 171, 181, or 191. The fourth example shows the grouping of lists B and C through the use of parentheses.

The no form of the command deletes the community list or the provided community ID.

Default

no community

Parameters
name

the community list or expression name. Allowed values are any string up to 32 characters long composed of printable, 7-bit ASCII characters. If the string contains special characters (such as #, $, or spaces), the entire string must be enclosed within double quotes.

comm-id

the community ID. Up to 15 community ID strings can be specified with a total maximum of 72 characters. A community ID can be specified in four different forms:

  • 2byte-asnumber:comm-val

  • reg-ex

  • ext-comm

  • well-known-comm

Values

2byte-asnumber:comm-val – the 2byte-asnumber is the    Autonomous System Number (ASN) and comm-val is the    community value, where:

          2byte-asnumber:       0 to 65535

          comm-val:                 0 to 65535

reg-ex – a regular expression string. Allowed values are any string up to 72 characters long composed of printable, 7-bit ASCII characters. If the string contains special characters (such as #, $, or spaces), the entire string must be enclosed within double quotes. See Regular expressions for information.

ext-comm – the extended community, where ext-comm is defined as: type:{ip-address:comm-val | reg-ex1&reg-ex2 | ip-address&reg-ex2 | 2byte-asnumber:ext-comm-val | 4byte-asnumber:comm-val}, and where:

          type:     target or origin (keywords that denote the                        community as an extended community of                        type route target or route origin, respectively)

          ip-address:             a.b.c.d

          comm-val:              0 to 65535

          2byte-asnumber:    0 to 65535

          ext-comm-val:        0 to 4294967295

          4byte-asnumber:    0 to 4294967295

          reg-ex1:                 a regular expression string, 63                                         characters maximum (see reg-ex,                                         above)

          reg-ex2:                a regular expression string, 63                                        characters maximum (see reg-ex,                                        above)

well-known-comm – one of the keywords null, no-export,    no-export-subconfed, no-advertise

expression

a logical community expression containing terms and operators. It can contain sub-expressions enclosed in parentheses. Allowed values are any string up to 900 characters long composed of printable, 7-bit ASCII characters. If the string contains special characters (such as #, $, or spaces), the entire string must be enclosed within double quotes.

Values

expression is one of the following:

     expression {AND | OR} expression

     [NOT] (expression)

     [NOT] comm-id

exact

the community expression only matches the route with the specified expression. Without the exact keyword, a community expression evaluates to be true if any member is present.

policy-options
Syntax

[no] policy-options

Context

config>router

Description

This command enables the context to configure route policies. Route policies are applied to the routing protocol.

The no form of the command deletes the route policy configuration.

Default

n/a

policy-statement
Syntax

[no] policy-statement name

Context

config>router>policy-options

Description

This command enables the context to configure a route policy statement.

Route policy statements control the flow of routing information from a specific protocol or protocols.

The policy-statement is a logical grouping of match and action criteria. A single policy-statement can affect routing in one or more protocols and/or one or more protocols’ peers/neighbors. A single policy-statement can also affect the export of routing information.

The no form of the command deletes the policy statement.

Default

no policy-statement

Parameters
name

the route policy statement name. Allowed values are any string up to 32 characters long composed of printable, 7-bit ASCII characters. If the string contains special characters (such as #, $, or spaces), the entire string must be enclosed within double quotes.

triggered-policy
Syntax

[no] triggered-policy

Context

config>router

Description

This command triggers route policy re-evaluation.

By default, when a change is made to a policy in the config router policy-options context and then committed, the change is effective immediately. However, there may be circumstances where the changes should or must be delayed; for example, when a policy change is implemented that would affect every BGP peer on a 7705 SAR. It is more effective to control changes on a peer-by-peer basis.

If the triggered-policy command is enabled and a given peer is established, and you want the peer to remain up, then, in order for a change to a route policy to take effect, a clear command with the soft or soft-inbound option must be used. In other words, when a triggered-policy is enabled, any routine policy change or policy assignment change within the protocol will not take effect until the protocol is reset or a clear command is issued to re-evaluate route policies; for example, clear router bgp neighbor x.x.x.x soft. This keeps the peer up, and the change made to a route policy is applied only to that peer, or group of peers.

Default

disabled – dynamic route policy is enabled; policy-option configuration changes take effect immediately

Route policy damping commands
damping
Syntax

[no] damping name

Context

config>router>policy-options

Description

This command creates a context to configure a route damping profile to use in route policy entries.

If damping is enabled and the route policy does not specify a damping profile, the default damping profile is used. This default profile is always present and consists of the following parameters:

  • Half-life: 15 m

  • Max-suppress: 60 m

  • Suppress-threshold: 3000

  • Reuse-threshold: 750

The no form of the command deletes the named route damping profile and uses the default damping profile.

Default

no damping

Parameters
name

the damping profile name. Allowed values are any string up to 32 characters long composed of printable, 7-bit ASCII characters. If the string contains special characters (such as #, $, or spaces), the entire string must be enclosed within double quotes.

half-life
Syntax

half-life minutes

no half-life

Context

config>router>policy-options>damping

Description

This command configures the half-life value for the route damping profile.

The half-life value is the time, expressed in minutes, required for a route to remain stable in order for the Figure of Merit (FoM) value to be reduced by one half; for example, if the half-life value is 6 and the route remains stable for 6 min, then the new FoM value is 3. After another 3 min pass and the route remains stable, the new FoM value is 1.5.

When the FoM value falls below the reuse threshold, the route is once again considered valid and can be reused or included in route advertisements.

The no form of the command removes the half-life parameter from the damping profile and uses the value from the default profile.

Default

no half-life

Parameters
minutes

the half-life in minutes, expressed as a decimal integer

Values

1 to 45

Default

15

max-suppress
Syntax

max-suppress minutes

no max-suppress

Context

config>router>policy-options>damping

Description

This command configures the maximum suppression value for the route damping profile.

This value indicates the maximum time, expressed in minutes, that a route can remain suppressed.

The no form of the command removes the maximum suppression parameter from the damping profile and uses the value from the default profile.

Default

no max-suppress

Parameters
minutes

the maximum suppression time, in minutes, expressed as a decimal integer

Values

1 to 720

Default

60

reuse
Syntax

reuse integer

no reuse

Context

config>router>policy-options>damping

Description

This command configures the reuse value for the route damping profile. This value must be less than the suppress value.

When the Figure of Merit (FoM) value falls below the reuse threshold, the route is once again considered valid and can be reused or included in route advertisements.

The no form of the command removes the reuse parameter from the damping profile and uses the value from the default profile.

Default

no reuse

Parameters
integer

the reuse value, expressed as a decimal integer

Values

1 to 20000

Default

750

suppress
Syntax

suppress integer

no suppress

Context

config>router>policy-options>damping

Description

This command configures the suppression value for the route policy damping profile. This value must be greater than the reuse value

A route is suppressed when it has flapped frequently enough to increase the Figure of Merit (FoM) value so that it exceeds the suppress threshold limit. When the FoM value exceeds the suppress threshold limit, the route is removed from the route table or inclusion in advertisements.

The no form of the command removes the suppress parameter from the damping profile and uses the value from the default profile.

Default

no suppress

Parameters
integer

the suppress value expressed as a decimal integer

Values

1 to 20000

Default

3000

Route policy prefix commands
prefix-list
Syntax

[no] prefix-list name

Context

config>router>policy-options

Description

This command creates a context to configure a prefix list to use in route policy entries.

An empty prefix list can be configured for preprovisioning. This empty prefix list does find a match when referred to by a policy. When removing member prefixes from a prefix list, the prefix list does not automatically get removed when the last member is removed. If required, an empty prefix list must be explicitly removed using the no form of the command.

The no form of the command deletes the named prefix list.

Default

n/a

Parameters
name

the prefix list name. Allowed values are any string up to 32 characters long composed of printable, 7-bit ASCII characters. If the string contains special characters (such as #, $, or spaces), the entire string must be enclosed within double quotes.

prefix
Syntax

[no] prefix ip-prefix/prefix-length [exact | longer | through length | prefix-length-range length1-length2]

Context

config>router>policy-options>prefix-list

Description

This command creates a prefix entry in the route policy prefix list.

The no form of the command deletes the prefix entry from the prefix list.

Parameters
ip-prefix/prefix-length

the IPv4 or IPv6 prefix for the prefix list entry

exact

the prefix list entry only matches the route with the specified ip-prefix and prefix-length values

longer

the prefix list entry matches any route that matches the specified ip-prefix and has a prefix-length value greater than the specified prefix-length

length

the prefix list entry matches any route that matches the specified ip-prefix and has a prefix-length value within the specified length values

Values

0 to 128 (length > prefix-length)

length1 - length2

a route must match the most significant bits and have a prefix-length value within the given range

Values

0 to 128 (length2 > length1 > prefix-length)

Route policy entry match commands
entry
Syntax

entry entry-id

no entry

Context

config>router>policy-options>policy-statement

Description

This command enables the context to edit route policy entries within the route policy statement.

Multiple entries can be created using unique entries. The 7705 SAR exits the filter when the first match is found and executes the action specified. For this reason, entries must be sequenced correctly from most to least explicit.

An entry does not require matching criteria defined (in which case, everything matches) but must have an action defined to be considered complete. Entries without an action are considered incomplete and will be rendered inactive.

The no form of the command removes the specified entry from the route policy statement.

Default

n/a

Parameters
entry-id

the entry ID expressed as a decimal integer. An entry-id uniquely identifies match criteria and the corresponding action. It is recommended that multiple entries be given entry-ids in staggered increments. This allows users to insert a new entry in an existing policy without requiring renumbering of all the existing entries.

Values

1 to 4294967295

from
Syntax

[no] from

Context

config>router>policy-options>policy-statement>entry

Description

This command enables the context to configure policy match criteria based on a route’s source or the protocol from which the route is received.

If no condition is specified, all route sources are considered to match.

The no form of the command deletes the source match criteria for the route policy statement entry.

to
Syntax

[no] to

Context

config>router>policy-options>policy-statement>entry

Description

This command enables the context to configure export policy match criteria based on a route’s destination or the protocol into which the route is being advertised.

If no condition is specified, all route destinations are considered to match.

The to command context only applies to export policies. If it is used for an import policy, match criteria is ignored.

The no form of the command deletes export match criteria for the route policy statement entry.

area
Syntax

area area-id

no area

Context

config>router>policy-options>policy-statement>entry>from

Description

This command configures an OSPF area as a route policy match criterion.

This match criterion is only used in export policies.

All OSPF routes (internal and external) are matched using this criterion if the best path for the route is by the specified area.

The no form of the command removes the OSPF area match criterion.

Default

n/a

Parameters
area-id

the OSPF area ID expressed in dotted-decimal notation or as a 32-bit decimal integer

Values

0.0.0.0 to 255.255.255.255 (dotted-decimal), 0 to 4294967295 (decimal)

as-path
Syntax

as-path name

no as-path

Context

config>router>policy-options>policy-statement>entry>from

Description

This command configures an AS path regular expression statement as a match criterion for the route policy entry. If no AS path criterion is specified, any AS path is considered to match. AS path regular expression statements are configured at the global route policy level (config>router>policy-options>as-path name).

The no form of the command removes the AS path regular expression statement as a match criterion.

Default

no as-path

Parameters
name

the AS path regular expression name. Allowed values are any string up to 32 characters long composed of printable, 7-bit ASCII characters. If the string contains special characters (such as #, $, or spaces), the entire string must be enclosed within double quotes.

The name specified must already be defined.

community
Syntax

community comm-name

community expression expression

no community

Context

config>router>policy-options>policy-statement>entry>from

Description

This command configures a community list or expression as a match criterion for the route policy entry. If no community list or expression is specified, any community is considered a match.

The no form of the command removes the community list or expression match criterion.

Default

no community

Parameters
comm-name

the community list name. Allowed values are any string up to 32 characters long composed of printable, 7-bit ASCII characters. If the string contains special characters (such as #, $, or spaces), the entire string must be enclosed within double quotes.

The comm-name specified must already have its members defined using the config>router>policy-options>community name members command.

expression

the community expression. Allowed values are any expression up to 900 characters long composed of one or more expressions separated by AND, OR, and NOT operators. Operators may be combined (for example, OR NOT).

An expression can also be a community name enclosed in square brackets.

If the expression contains special characters (such as #, $, or spaces), the entire string must be enclosed in double quotes.

The expression specified must already be defined using the config>router>policy-options>community name expression command.

Values

expression is one of the following:

     expression {AND | OR} expression

     [NOT] (expression)

     [NOT] ‟[‟comm-name”]”

external
Syntax

[no] external

Context

config>router>policy-options>policy-statement>entry>from

Description

This command specifies the external IS-IS route matching criteria for the entry.

Default

no external

family
Syntax

family [ipv4] [vpn-ipv4] [ipv6] [vpn-ipv6] [mvpn-ipv4] [route-target] [evpn] [label-ipv4] [label-ipv6] [bgp-ls]

no family

Context

config>router>policy-options>policy-statement>entry>from

Description

This command specifies address families as matching conditions.

Parameters
ipv4

specifies IPv4 routing information

vpn-ipv4

specifies VPN-IPv4 routing information

ipv6

specifies IPv6 routing information

vpn-ipv6

specifies VPN-IPv6 routing information

mvpn-ipv4

specifies MVPN-IPv6 routing information

evpn

specifies EVPN routing information

route-target

specifies RTC routing information

label-ipv4

specifies labeled IPv4 routing information

label-ipv6

specifies labeled IPv6 routing information

bgp-ls

specifies BGP-LS routing information

group-address
Syntax

group-address prefix-list-name

no group-address

Context

config>router>policy-options>policy-statement>entry>from

Description

This command specifies the multicast group address prefix list containing multicast group addresses that are embedded in the join or prune packet as a filter criterion. The prefix list must be configured before entering this command. Prefix lists are configured in the config>router>policy-options>prefix-list context.

The no form of the command removes the criterion from the configuration.

Default

no group-address

Parameters
prefix-list-name

the prefix-list name. Allowed values are any string up to 32 characters long composed of printable, 7-bit ASCII characters. If the string contains special characters (such as #, $, or spaces), the entire string must be enclosed within double quotes. The prefix-list-name is defined in the config>router>policy-options>prefix-list context.

interface
Syntax

interface interface-name

no interface

Context

config>router>policy-options>policy-statement>entry>from

Description

This command specifies the router interface, specified either by name or address, as a filter criterion.

The no form of the command removes the criterion from the configuration.

Default

no interface

Parameters
interface-name

the name of the interface used as a match criterion for this entry. If the string contains special characters (such as #, $, or spaces), the entire string must be enclosed within double quotes.

level
Syntax

level {1 | 2}

no level

Context

config>router>policy-options>policy-statement>entry>from

config>router>policy-options>policy-statement>entry>to

Description

This command specifies the IS-IS route level as a match criterion for the entry.

Default

no level

Parameters
1 | 2

matches the IS-IS route learned from level 1 or level 2

neighbor
Syntax

neighbor {ip-address | prefix-list name}

no neighbor

Context

config>router>policy-options>policy-statement>entry>from

config>router>policy-options>policy-statement>entry>to

Description

This command specifies the neighbor address as found in the source address of the actual join and prune message as a filter criterion. If no neighbor is specified, any neighbor is considered a match.

The no form of the command removes the neighbor IP match criterion from the configuration.

Default

no neighbor

Parameters
ip-address

the neighbor IPv4 or IPv6 address

name

the prefix list name. Allowed values are any string up to 32 characters long composed of printable, 7-bit ASCII characters. If the string contains special characters (such as #, $, or spaces), the entire string must be enclosed within double quotes.

The name specified must already be defined.

origin
Syntax

origin {igp | egp | incomplete | any}

no origin

Context

config>router>policy-options>policy-statement>entry>from

Description

This command configures a BGP origin attribute as a match criterion for a route policy statement entry. If no origin attribute is specified, any BGP origin attribute is considered a match.

The no form of the command removes the BGP origin attribute match criterion.

Default

no origin

Parameters
igp

configures matching path information originating within the local AS

egp

configures matching path information originating in another AS

incomplete

configures matching path information learned by another method

any

ignores this criteria

prefix-list
Syntax

prefix-list name [name...(up to 5 max)]

no prefix-list

Context

config>router>policy-options>policy-statement>entry>from

config>router>policy-options>policy-statement>entry>to

Description

This command configures a prefix list as a match criterion for a route policy statement entry.

If no prefix list is specified, any network prefix is considered a match.

An empty prefix list evaluates as if no match was found.

The prefix list specifies the network prefix (this includes the prefix and length) that a specific policy entry applies to.

Up to five prefix list names can be specified.

The no form of the command removes the prefix list match criterion.

Default

no prefix-list

Parameters
name

the prefix list name. Allowed values are any string up to 32 characters long composed of printable, 7-bit ASCII characters. If the string contains special characters (such as #, $, or spaces), the entire string must be enclosed within double quotes.

protocol
Syntax

protocol protocol [all | {instance instance}]

protocol bgp bgp-label

no protocol

Context

config>router>policy-options>policy-statement>entry>from

config>router>policy-options>policy-statement>entry>to

Description

This command configures a routing protocol as a match criterion for a route policy statement entry. This command is used for both import and export policies depending on how it is used.

If no protocol criterion is specified, any protocol is considered a match.

The no form of the command removes all instances of the protocol from the match criterion.

Default

no protocol

Parameters
protocol

the protocol name to match. The list of protocols supported under from differs from the list supported under to.

Values

Under from

   aggregate, bgp, bgp-vpn, direct, igmp, isis, ldp, managed, mld,    nat, ospf, ospf3, pim, rip, static

Under to

   bgp, ospf, rip, isis, bgp-vpn, ospf3

all

specifies that all instances of the protocol are used as match criteria (only applies to IS-IS

instance

the instance ID of the specified protocol (only applies to IS-IS). If no instance is specified, instance 0 is used.

Values

isis-inst          0 to 31

ospf-inst         0 to 31  

ospf3-inst       0 to 31  

source-address
Syntax

source-address ip-address

no source-address

Context

config>router>policy-options>policy-statement>entry>from

Description

This command specifies a multicast data source address or prefix list as a match criterion for this entry.

The no form of the command removes the criterion from the configuration.

Default

n/a

Parameters
ip-address

the source IPv4 or IPv6 address

tag
Syntax

tag tag

no tag

Context

config>router>policy-options>policy-statement>entry>from

Description

This command adds an integer tag to the static or IGP routes. These tags are then matched to control route redistribution. A decimal or hexadecimal value can be entered. Values entered in hexadecimal are converted to decimal in the CLI.

The no form of the command removes the tag field match criterion.

Default

no tag

Parameters
tag

matches a specific external LSA tag field (can be hexadecimal or decimal)

Values

static, OSPF, and IS-IS:

[0x1...0xFFFFFFFF]H or 1 to 4294967295

RIP:

[0x1...0xFFFF]H or 1 to 65535

type
Syntax

type type

no type

Context

config>router>policy-options>policy-statement>entry>from

Description

This command configures an OSPF type metric as a match criterion in the route policy statement entry.

If no type is specified, any OSPF type is considered a match.

The no form of the command removes the OSPF type match criterion.

Parameters
type

the OSPF type metric

Values

1 – set as OSPF routes with type 1 LSAs

2 – set as OSPF routes with type 2 LSAs

Route policy action commands
default-action
Syntax

default-action {accept | next-entry | next-policy | reject}

no default-action

Context

config>router>policy-options>policy-statement

Description

This command enables the context to configure actions for routes that do not match any route policy statement entries when the accept parameter is specified.

The default action clause can be set to all available action states, including accept, reject, next-entry, and next-policy. If the action states accept or reject, the policy evaluation terminates and the appropriate result is returned.

If a default action is defined and no matches occurred with the entries in the policy, the default action clause is used.

If a default action is defined and one or more matches occurred with the entries of the policy, the default action is not used.

The no form of the command deletes the default-action context for the policy statement.

Default

no default-action

Parameters
accept

routes matching the entry match criteria are accepted and propagated

next-entry

the actions specified are made to the route attributes and then policy evaluation continues with the next policy entry (if any others are specified)

next-policy

the actions specified are made to the route attributes and then policy evaluation continues with the next route policy (if any others are specified)

reject

routes matching the entry match criteria are rejected

action
Syntax

action {accept | next-entry | next-policy | reject}

no action

Context

config>router>policy-options>policy-statement>entry

Description

This command enables the context to configure actions to take for routes matching a route policy statement entry.

This command is required and must be entered for the entry to be active.

Any route policy entry without the action command is considered incomplete and is made inactive.

The no form of the command deletes the action context from the entry.

Default

no action

Parameters
accept

specifies that routes matching the entry match criteria are accepted and propagated

next-entry

the actions specified are made to the route attributes and then policy evaluation continues with the next policy entry (if any others are specified)

next-policy

the actions specified are made to the route attributes and then policy evaluation continues with the next route policy (if any others are specified)

reject

routes matching the entry match criteria are rejected

aigp-metric
Syntax

aigp-metric metric

aigp-metric metric add

aigp-metric igp

no aigp-metric

Context

config>router>policy-options>policy-statement>default-action

config>router>policy-options>policy-statement>entry>action

Description

This command assigns a BGP AIGP metric to routes matching the entry. The effect of this command on a route that is matched and accepted by a route policy entry depends on how the policy is applied (whether it is a BGP import policy or BGP export policy), the type of route, and the specific form of the command.

In a BGP import policy, this command is used to:

  • associate an AIGP metric with an IBGP route received with an empty AS path and no AIGP attribute

  • associate an AIGP metric with an EBGP route received without an AIGP attribute that has an AS path containing only AS numbers belonging to the local AIGP administrative domain

  • modify the received AIGP metric value before BGP path selection

In a BGP export policy, this command is used to:

  • add the AIGP attribute and set the AIGP metric value in a BGP route originated by exporting a direct, static, or IGP route from the routing table

  • remove the AIGP attribute from a route advertisement to a particular peer

  • modify the AIGP metric value in a route advertisement to a particular peer

The no form of the command removes the AIGP metric from the routes.

Default

no aigp-metric

Parameters
metric

the administratively defined metric

Values

0 to 4294967295

metric add

adds a configured metric value to the current AIGP metric value

Values

0 to 4294967295

igp

sets the AIGP metric value to the IGP metric value

as-path
Syntax

as-path {add | replace} name

no as-path

Context

config>router>policy-options>policy-statement>default-action

config>router>policy-options>policy-statement>entry>action

Description

This command assigns a BGP AS path list to routes matching the route policy statement entry. If no AS path list is specified, the AS path attribute is not changed.

The no form of the command disables the AS path list editing action from the route policy entry.

Default

no as-path

Parameters
add

the AS path list is to be prepended to an existing AS list

replace

the AS path list replaces any existing AS path attribute

name

the AS path list name. Allowed values are any string up to 32 characters long composed of printable, 7-bit ASCII characters. If the string contains special characters (such as #, $, or spaces), the entire string must be enclosed within double quotes. The name specified must already be defined.

as-path-prepend
Syntax

as-path-prepend as-number [repeat]

no as-path-prepend

Context

config>router>policy-options>policy-statement>default-action

config>router>policy-options>policy-statement>entry>action

Description

This command prepends a BGP AS number once or numerous times to the AS path attribute of routes matching the route policy statement entry. If an AS number is not configured, the AS path is not changed.

If the optional number is specified, then the AS number is prepended as many times as indicated by the number.

The no form of the command disables the AS path prepend action from the route policy entry.

Default

no as-path-prepend

Parameters
as-number

the AS number to prepend expressed as a decimal integer

Values

1 to 4294967295

repeat

the number of times to prepend the specified AS number expressed as a decimal integer

Values

1 to 50

community
Syntax

community add name [name...(up to 28 max)]

community remove name [name...(up to 28 max)]

community replace name [name...(up to 28 max)]

no community

Context

config>router>policy-options>policy-statement>default-action

config>router>policy-options>policy-statement>entry>action

Description

This command adds, removes, or replaces a BGP community list or expression to or from routes matching the route policy statement entry. If no community list or expression is specified, the community path attribute is not changed. Up to 28 community list or expression names can be used in one add, remove, or replace command.

The community list or expression changes the community path attribute according to the add, remove or replace keywords. If more than one of the keywords is used in a single command, first add is applied, then remove is applied. However, replace overwrites any add or remove.

The no form of the command disables the action to edit the community path attribute for the route policy entry.

Default

no community

Parameters
add

the specified community list or expression is added to any existing list of communities

remove

the specified community list or expression is removed from the existing list of communities

replace

the specified community list or expression replaces any existing community attribute

name

the community list name. Allowed values are any string up to 32 characters long composed of printable, 7-bit ASCII characters. If the string contains special characters (such as #, $, or spaces), the entire string must be enclosed within double quotes.

damping
Syntax

damping {name | none}

no damping

Context

config>router>policy-options>policy-statement>default-action

config>router>policy-options>policy-statement>entry>action

Description

This command configures a damping profile used for routes matching the route policy statement entry. If no damping criteria is specified, the default damping profile is used.

The no form of the command removes the damping profile associated with the route policy entry.

Default

no damping

Parameters
name

the damping profile name. Allowed values are any string up to 32 characters long composed of printable, 7-bit ASCII characters. If the string contains special characters (such as #, $, or spaces), the entire string must be enclosed within double quotes. The name specified must already be defined.

none

disables route damping for the route policy

local-preference
Syntax

local-preference local-preference

no local-preference

Context

config>router>policy-options>policy-statement>default-action

config>router>policy-options>policy-statement>entry>action

Description

This command assigns a BGP local preference to routes matching a route policy statement entry. If no local preference is specified, the BGP configured local preference is used.

The no form of the command disables assigning a local preference in the route policy entry.

Default

no local-preference

Parameters
local-preference

the local preference expressed as a decimal integer

Values

0 to 4294967295

metric
Syntax

metric {add | subtract} metric

metric set {igp | metric}

no metric

Context

config>router>policy-options>policy-statement>default-action

config>router>policy-options>policy-statement>entry>action

Description

In a BGP import or export policy, this command assigns a Multi-Exit Discriminator (MED) value to routes matched by the policy statement entry. The MED value may be set to a fixed value (overriding the received value), set to the routing table cost of the route that is used to resolve the next hop of the BGP route (the metric set igp command), or modified by adding or subtracting a fixed value offset (the metric add | subtract command).

When used in a BGP export policy, the metric set igp command has the same effect as the med-out igp-cost command (see the 7705 SAR Routing Protocols Guide, ‟BGP command reference”) except that it applies only to the routes matched by the policy entry. The effect of the metric set igp command depends on the BGP policy type and the route type as summarized in the following table.

Table 4. Effect of setting the metric set igp command

BGP policy type

Matched route type

Effect of metric set igp command

Export

Non-BGP route (for example, static, OSPF, or IS-IS)

Adds the MED attribute and sets it to the metric of the non-BGP route in the routing table manager (RTM)

Export

BGP route without MED

Adds the MED attribute and sets it to the metric of the route or tunnel used to resolve the BGP next hop

Export

BGP route with MED assigned

Overwrites the MED value with the metric of the route or tunnel used to resolve the BGP next hop

The no form of the command removes the MED value from the route policy statement. If a MED value is configured for a BGP peer using the med-out command, that value is used (see the 7705 SAR Routing Protocols Guide, ‟BGP command reference”). If no MED is configured, no MED value is advertised.

Default

no metric

Parameters
add

the specified metric is added to any existing metric. If the result of the addition results in a number greater than 4294967295, the value 4294967295 is used.

subtract

the specified metric is subtracted from any existing metric. If the result of the subtraction results in a number less than 0, the value of 0 is used.

set

the specified metric replaces any existing metric

igp

sets the MED value to the routing table cost of the route that is used to resolve the next hop of the BGP route

metric

the metric modifier expressed as a decimal integer

Values

0 to 4294967295

next-hop
Syntax

next-hop ip-address

no next-hop

Context

config>router>policy-options>policy-statement>default-action

config>router>policy-options>policy-statement>entry>action

Description

This command assigns the specified next-hop IP address to routes matching the policy statement entry. If a next-hop IP address is not specified, the next-hop attribute is not changed.

The no form of the command disables assigning a next-hop address in the route policy entry.

Default

no next-hop

Parameters
ip-address

the next-hop IP address

next-hop-self
Syntax

[no] next-hop-self

Context

config>router>policy-options>policy-statement>default-action

config>router>policy-options>policy-statement>entry>action

Description

This command advertises a next-hop IP address belonging to this router even if a third-party next hop is available to routes matching the policy statement entry.

The no form of the command disables advertising the next-hop-self option for the route policy entry.

Default

no next-hop-self

origin
Syntax

origin {igp | egp | incomplete}

no origin

Context

config>router>policy-options>policy-statement>default-action

config>router>policy-options>policy-statement>entry>action

Description

This command sets the BGP origin assigned to routes exported into BGP.

If the routes are exported into protocols other than BGP, this option is ignored.

The no form of the command disables setting the BGP origin for the route policy entry.

Default

no origin

Parameters
igp

sets the path information as originating within the local AS

egp

sets the path information as originating in another AS

incomplete

sets the path information as learned by some other means

preference
Syntax

preference preference

no preference

Context

config>router>policy-options>policy-statement>default-action

config>router>policy-options>policy-statement>entry>action

Description

This command assigns a route preference to routes matching the route policy statement entry.

If no preference is specified, the default route table manager (RTM) preference for the protocol is used.

The no form of the command disables setting an RTM preference in the route policy entry.

Default

no preference

Parameters
preference

the route preference expressed as a decimal integer

Values

1 to 255 (0 represents unset, MIB only)

tag
Syntax

tag tag

no tag

Context

config>router>policy-options>policy-statement>default-action

config>router>policy-options>policy-statement>entry>action

Description

This command assigns an OSPF, IS-IS, or RIP tag to routes that do not match any entry (for default action) or that match the entry (for action). A decimal or hexadecimal value can be entered. Values entered in hexadecimal are converted to decimal in the CLI.

The no form of the command removes the tag.

Default

no tag

Parameters
tag

assigns an OSPF, IS-IS, or RIP tag (decimal or hexadecimal values)

Values

OSPF and IS-IS:

[0x1...0xFFFFFFFF]H or 1 to 4294967295

RIP:

[0x1...0xFFFF]H or 1 to 65535

type
Syntax

type type

no type

Context

config>router>policy-options>policy-statement>default-action

config>router>policy-options>policy-statement>entry>action

Description

This command assigns an OSPF type metric to routes that do not match any entry (for default action) or that match the entry (for action). The no form of the command disables assigning an OSPF type in the route policy entry.

Default

no type

Parameters
type

specifies the OSPF type metric

Values

1 – set as OSPF routes with type 1 LSAs

2 – set as OSPF routes with type 2 LSAs

Show commands

Note: The following command outputs are examples only; actual displays may differ depending on supported functionality and user configuration.
policy
Syntax

policy [name | damping name | prefix-list name |as-path name | community name | admin]

Context

show>router

Description

This command displays configured policy statement information.

Parameters
name

if a name is provided, the matching policy statement is shown. If no statement name is specified, a list of all policies statements and descriptions are shown.

damping

displays the damping profile for use in the route policy

prefix-list

displays the prefix lists configured in the route policy

as-path

displays AS path regular expression statements used in the route policy

community

displays community lists used in the route policy

admin

if this keyword is included, the entire policy option configuration is shown, including any uncommitted configuration changes. This command is similar to the info command.

Output

The following outputs are examples of route policy information, and Route policy field descriptions describes the fields.

Output example - show router policy
A:ALU-1# show router policy
===============================================================================
Route Policies
===============================================================================
Policy                          Description 
-------------------------------------------------------------------------------
BGP To OSPF                      Policy Statement For 'BGP To OSPF'
Direct And Aggregate            Policy Statement ABC
-------------------------------------------------------------------------------
Policies : 3
===============================================================================
A:ALU-1#
Output example - show router policy admin
A:ALU-1# show router policy admin
    prefix-list "All-Routes"
    prefix 0.0.0.0/0 longer
    prefix 2.0.0.0/8 longer
    prefix 3.0.0.0/8 longer
    prefix 4.0.0.0/8 longer
    prefix 5.0.0.0/8 longer
    prefix 6.0.0.0/8 exact
    prefix 224.0.0.0/24 longer
   exit
   community "65206" members "no-export" "no-export-subconfed"
   community "AS65000" members "701:65000"
   as-path "test" "14001 701"
   as-path "test1" "1234{1,6} (56|47) (45001|2000|1534)* 9+"
   damping "TEST-LOW"
    half-life 22
    max-suppress 720
    reuse 10000
    suppress 15000
   exit
   damping "TEST-HIGH"
    half-life 22
    max-suppress 720
    reuse 1000
    suppress 5000
   exit
   damping "TEST-MEDIUM"
    half-life 22
    max-suppress 720
    reuse 5000
    suppress 11000
   exit
   policy-statement "BGP To OSPF"
    description "Policy Statement For 'BGP To OSPF'"
    entry 10
        description "Entry For Policy 'BGP To OSPF"
        from
            protocol bgp
        exit
        to
            protocol rip
        exit
        action accept
            metric set 1
            next-hop 10.0.18.200
            tag 134250805
        exit
    exit
    default-action reject
    exit
    policy-statement "Direct And Aggregate"
        entry 10
            from
                protocol direct
            exit
            to
                protocol bgp
                exit
                action accept
                exit
            exit
            entry 20
            from
                protocol aggregate
            exit
            to
                protocol bgp
            exit
            action accept
            exit
        exit
    exit
...
A:ALU-1#
Output example - show router policy name
description "Policy Statement For 'BGP To OSPF'"
    entry 10
     description "Entry For Policy 'BGP To OSPF"
     from
      protocol bgp
     exit
     to
      protocol rip
     exit
     action accept
      metric set 1
      next-hop 10.0.18.200
      tag 134250805
     exit
    exit
    default-action reject
A:ALU-1#
Output example - show router policy damping
A:ALU-1# show router policy damping 
=============================================
Route Damping Profiles
=============================================
    damping "TEST-LOW"
     half-life 22
     max-suppress 720
     reuse 10000
     suppress 15000
    exit
    damping "TEST-HIGH"
     half-life 22
     max-suppress 720
     reuse 1000
     suppress 5000
    exit
    damping "TEST-MEDIUM"
     half-life 22
     max-suppress 720
     reuse 5000
     suppress 11000
    exit
=============================================
A:ALU-1#
Output example - show router policy prefix-list
A:ALU-1# show router policy prefix-list
==================================
Prefix Lists
==================================
Prefix List Name 
----------------------------------
All-Routes
==================================
A:ALU-1#
Output example - show router policy prefix-list name
A:ALU-1# show router policy prefix-list All-Routes
    prefix 0.0.0.0/0 longer
    prefix 2.0.0.0/8 longer
    prefix 3.0.0.0/8 longer
    prefix 4.0.0.0/8 longer
    prefix 5.0.0.0/8 longer
    prefix 6.0.0.0/8 exact
    prefix 224.0.0.0/24 longer
A:ALU-1#
Output example - show router policy as-path
A:ALU-1# show router policy as-path
==================================
AS Paths
==================================
AS Path Name
----------------------------------
test
test1
----------------------------------
AS Paths : 2
==================================
A:ALU-1#
Output example - show router policy as-path name
A:ALU-1# show router policy as-path test
as-path "test" "14001 701"
Output example - show router policy community
A:ALU-1# show router policy community
==================================
Communities
==================================
Community Name
----------------------------------
65206
AS701
AS65000
----------------------------------
Communities : 3
==================================
A:ALU-1#
Output example - show router policy community name
A:ALU-1# show router policy community 65206
community "65206" members "no-export" "no-export-subconfed"
A:ALU-1#
Table 5. Route policy field descriptions

Label

Description

Policy

The list of route policy names

Description

The description of each route policy

Policies

The total number of policies configured

Damping Name

The damping profile name

half-life

The half-life parameter for the route damping profile

max-suppress

The maximum suppression value configured for the route damping profile

reuse

The reuse value configured for the route damping profile

suppress

The suppression value configured for the route damping profile

Prefix List Name

The prefix list name and IP address/mask and whether the prefix list entry only matches (exact) the route with the specified ip-prefix and prefix mask (length) values or values greater (longer) than the specified mask

AS Path Name

The list of AS path names

AS Paths

The total number of AS paths configured

Community Name

The list of community names

Communities

The total number of communities configured