IS-IS

This chapter provides information about configuring the Intermediate System-to-Intermediate System (IS-IS) protocol.

Topics in this chapter include:

Overview of IS-IS

IS-IS is an interior gateway protocol (IGP), similar to OSPF, that is used within large autonomous systems (ASs). IS-IS is a link-state protocol. Each IS-IS router maintains an identical database (called the link-state database, topological database, or routing information database (RIB)) of the AS, including information about the local state of each router (for example, its usable interfaces and reachable neighbors).

IS-IS-TE (IS-IS with traffic engineering extensions) is used to advertise reachability information and traffic engineering information such as available bandwidth.

The 7705 SAR also supports multiple instances of IS-IS (MI-IS-IS).

Entities in IS-IS include networks, intermediate systems, and end systems. In IS-IS, a network is an autonomous system (AS), or routing domain, with intermediate systems and end systems. A router, such as the 7705 SAR, is an intermediate system. Intermediate systems send, receive, and forward protocol data units (PDUs). End systems are network devices (or hosts) that send and receive PDUs but do not forward them.

Intermediate system and end system protocols allow routers and nodes to identify each other. IS-IS sends out link-state updates (called link-state PDUs, or LSPs) periodically throughout the network so that each router can maintain current network topology information.

IS-IS uses a cost metric that represents the status of a link, and (optionally) the bandwidth of the interface, in an algorithm that determines the best route to a destination. This algorithm is called the shortest path first (SPF), or Dijkstra, algorithm. Routing decisions are made using the link-state information. IS-IS evaluates topology changes and, if necessary, performs SPF recalculations.

When the best route to a particular destination is determined, the route information is sent to the routing table manager (RTM). The RTM may contain more than one best route to a destination from multiple protocols. Because metrics from different protocols are not comparable, the RTM uses the concept of preference to select the best route. The route with the lowest preference value is selected.

The best routes from the RTM are then added to the forwarding table (also known as the forwarding information base (FIB)). All forwarding decisions are based on the information in the forwarding database.

The forwarding (or dropping) of packets is controlled by filters applied to the interface and route policies applied to the IS-IS protocol. See the 7705 SAR Router Configuration Guide for information about filters and route policies.

The following major IS-IS features are supported:

IS-IS areas (two-level hierarchy)

IS-IS can subdivide an autonomous system into areas to simplify the calculation of routes and minimize the size of IP routing tables. When an AS is divided into areas, each IS-IS router in an area must maintain an identical link-state database of the area topology, but routes from other areas can be summarized. Sometimes one ‟default” route can be used to represent many different routes. The topology is hidden from routing devices in other areas, which minimizes the size of the link-state database and reduces IS-IS link-state PDUs (LSPs). See Route redistribution and summarization.

IS-IS uses a two-level hierarchy when dividing an AS into smaller areas. A system logically belongs to one area. Level 1 routing is performed within an area. Level 2 routing is performed between areas. The 7705 SAR can be configured as a level 1 router, level 2 router, or level 1/2 router. By default, the 7705 SAR is a level 1/2 router, which enables the router to operate as a level 1 and/or a level 2 router with the associated databases. The router runs separate shortest path first (SPF) calculations for the level 1 area routing and for the level 2 multi-area routing to create the IS-IS routing table for the IS-IS instance.

The following figure shows an example of an IS-IS topology.

Figure 1. IS-IS topology

Level 1 routers know the topology in their area, including all routers and end systems, but do not know the identity of routers or destinations outside of their area. To reach a destination outside of the level 1 area, level 1 routers forward the packets to a level 1/2 router in their area as the next hop.

In order for level 1 routers to forward traffic to a level 1/2 router, the level 1/2 router sets the Attached (ATT) bit in its level 1 LSP, which indicates that it is attached to another area, and floods it to all the level 1 neighbors. The level 1 router installs the default route to the level 1/2 router in its routing table. If there is more than one level 1/2 router connected to the level 1 area, the level 1 router only installs the default route of the closest level 1/2 router. The level 1 router then forwards all traffic with a destination outside of its area to this level 1/2 router.

In some cases, users may want to control whether a level 1 router forwards traffic to a specific level 1/2 router; for example, it may be desirable to route around a particular level 1/2 router for traffic engineering reasons. This can be done by configuring a level 1 router to ignore the ATT bit on received level 1 LSPs (using the config>router>isis>ignore-attached-bit command) or configuring a level 1/2 router to suppress the ATT bit on originating level 1 LSPs (using the config>router>isis>suppress-attached-bit command). In the first case, when the level 1 router ignores the ATT bit, it will not install the default route to the level 1/2 router. In the second case, when the level 1/2 router suppresses the ATT bit, all level 1 routers in the area are prevented from installing the default route.

Sometimes the shortest path to an outside destination is not through the closest level 1/2 router, or the only level 1/2 router to forward packets out of an area is not operational. To reduce suboptimal routing, route leaking provides a mechanism to leak (or redistribute) level 2 information into level 1 areas to provide routing information about inter-area routes. By distributing more detailed information into the level 1 area, a level 1 router is able to make a better decision as to which level 1/2 router should forward the packet.

The 7705 SAR implementation of IS-IS route leaking is in compliance with RFC 2966, Domain-wide Prefix Distribution with Two-Level IS-IS.

Level 2 routers know the level 2 topology and know which addresses are reachable by each level 2 router. Level 2 routers do not need to know the topology within any level 1 area, except if the level 2 router is also a level 1 router within a single area. By default, only level 2 routers can exchange PDUs or routing information directly with external routers located outside the routing domain.

The following table describes the router types (or intermediate systems) within IS-IS.

Table 1. IS-IS intermediate systems

Intermediate system

Description

Level 1

Maintains a link-state database of other routers that reside in the same area (local area)

Exchanges topology information for the local area

Routing is performed within the area, based on the area ID portion of the ISO address (see ISO network addressing)

If the destination address is in the area (area ID is equal), routers forward the packets to the level 1 router that is advertising the destination address, based on the system ID

If the destination address is not in the area (area ID is not equal), routers forward the packet to the nearest level 1/2 router in the local area

Level 2

Resides within an area but connects to other level 2 routers in multiple areas in a backbone mesh

Maintains a link-state database of other level 2 routers and of the level 1/2 routers in each local area

Exchanges topology information between areas

Routing is performed between areas based on the area address

Level 1/2

Acts as an area border router with links to the level 2 backbone as well as to the level 1 routers within its area

Maintains two link-state databases – a level 1 link-state database of the routers in the local area and a level 2 link-state database of the backbone and any level 1/2 routers

Exchanges topology information within the local area and between areas

Routing is performed within and between areas

If the destination address is in the area (area ID is equal), routers use the level 1 database to forward the packets to the level 1 router that is advertising the destination address, based on the system ID

If the destination address is not in the area (area ID is not equal), routers use the level 2 database to forward the packet based on the area ID

ISO network addressing

IS-IS uses ISO network addresses. There are two types of network addresses:

  • network service access point (NSAP)

    NSAP addresses identify a point of connection to the network, such as a router interface. Each NSAP represents a service that is available at that node. An end system can have multiple NSAP addresses; the addresses differ only by the last byte (called the n-selector). In addition to having multiple services, a single node can belong to multiple areas.

  • network entity title (NET)

    NET addresses identify network layer entities or processes instead of services. Structurally, an NET is identical to an NSAP address but has an n-selector of 00. Most end systems have one NET. Intermediate systems (routers) can have up to three NETs, differentiated by the area ID.

NSAP addresses are divided into three parts. Only the area ID portion is configurable:

  • area ID – a variable-length field between 1 and 13 bytes that identifies the area to which the router belongs. This field includes the Authority and Format Identifier (AFI) as the first (most significant byte) and the area identifier.

  • system ID – A 6-byte system identifier. This value is not configurable. The system ID is derived from the system or router ID and uniquely identifies the router.

  • selector ID – A 1-byte selector identifier that is always 00 for an NET. This value is not configurable.

The area ID portion of the NET can be manually configured with 1 to 13 bytes. If fewer than 13 bytes are entered, the rest of the field is padded with zeros.

Neighbors and adjacencies

IS-IS routers discover their neighbors by exchanging Hello PDUs. Neighbors are routers that have an interface to a common network/area. In a broadcast-supported topology, one router sends Hello packets to a multicast address and receives Hello packets in return. In non-broadcast topologies, unicast Hello packets are used.

Because all routing devices on a common network must agree on certain parameters, these parameters are included in Hello packets. Differences in these parameters can prevent neighbor relationships from forming.

A level 1 router will not become a neighbor with a node that does not have a common area address. However, if a level 1 router has area addresses A, B, and C, and a neighbor has area addresses B and D, the level 1 router will accept the other node as a neighbor because address B is common to both routers.

When Hello packets have been successfully exchanged, the neighbors are considered to be adjacent.

Within an area, level 1 routers exchange link-state PDUs (LSPs) that identify the IP addresses reachable by each router. Each router has one LSP that contains information about that router; included in each LSP can be zero or more IP addresses, subnet masks, and metric combinations. Each level 1 router is manually configured with the IP address, subnet mask, and metric combinations that are reachable on each interface.

Level 2 routers exchange LSPs that include a complete list of IP addresses, subnet masks, and metrics specifying all the IP addresses that are reachable in their area. Level 2 routers can also report external reachability information, corresponding to addresses reachable by routers in other routing domains or autonomous systems.

Routers with common area addresses form level 1 adjacencies. Routers with no common NET addresses form level 2 adjacencies, if they are capable. See Using area addresses to form adjacencies.

Level 2 adjacencies are formed with other level 2 nodes whose area addresses do not overlap. If the area addresses do not overlap, the link is considered by both routers to be level 2 and only level 2 LSPs flow on the link.

Figure 2. Using area addresses to form adjacencies

Designated routers

In multi-access broadcast networks, such as Ethernet networks, with at least two attached routers, a designated router can be elected. The IS-IS protocol refers to the designated router as the designated intermediate system (DIS).

The concept of a designated router was developed in order to avoid the formation of adjacencies between all attached routers. Without a designated router, the area would be flooded with link-state PDUs (LSPs)—a router would send LSPs to all its adjacent neighbors, and each in turn would send LSPs to all their neighbors, and so on. This would create multiple copies of the same LSP on the same link.

The designated router reduces the number of adjacencies required because each router forms an adjacency only with the designated router. Only the designated router sends LSPs in multicast format to the rest of the network, reducing the amount of routing protocol traffic.

In IS-IS, a broadcast subnetwork with multiple connected routers is considered to be a pseudonode. The pseudonode has links to each of the routers and each of the routers has a single link to the pseudonode (instead of links to each of the other routers). LSPs are generated on behalf of the pseudonode by the DIS.

The DIS has two tasks:

  • create and update the pseudonode LSP

  • flood the LSP over the LAN

The DIS is automatically elected based on the interface priority of the router and/or if it has the highest MAC address of all routers in the LAN. If all interface priorities are the same, the router with the highest subnetwork point of attachment (SNPA) is selected. The SNPA is the MAC address on a LAN.

Every IS-IS router interface is assigned both a level 1 priority and a level 2 priority. If a new router starts up in the LAN and has a higher interface priority, the new router preempts the original DIS and becomes the new DIS. The new DIS purges the old pseudonode LSP and floods a new set of LSPs.

Because different priorities can be set according to level 1 or level 2 routing, there can be two different routers in an Ethernet LAN that are DIS-designated. One DIS supports all level 1 routers, and the other DIS supports all level 2 routers on that segment.

The DIS generates the pseudonode LSP. The DIS reports all LAN neighbors (including itself) in the pseudonode link-state PDU (LSP). All LAN routers communicate with the pseudonode via their LSPs. The pseudonode reduces the number of adjacencies by having all physical devices exchange information only with the pseudonode. Each router listens for updates to the pseudonode and updates its individual topology according to those updates.

Note:
  • In point-to-point networks, where a single pair of routers is connected, no designated router is elected. An adjacency must be formed with the neighbor router.

  • To significantly improve adjacency forming and network convergence, a network should be configured as point-to-point if only two routers are connected, even if the network is a broadcast media such as Ethernet.

IS-IS packet types

The following table describes the packet types used by IS-IS to exchange protocol information.

Table 2. IS-IS packet types

Packet type

Description

Hello PDUs

Routers with IS-IS enabled send Hello PDUs to IS-IS-enabled interfaces to discover neighbors and establish adjacencies.

Link-state PDUs (LSPs)

LSPs contain information about the state of adjacencies to neighboring IS-IS systems and are used to build the link-state database. LSPs are flooded periodically throughout an area.

Level 1 and level 2 LSPs are supported.

Complete sequence number PDUs (CSNPs)

In order for all routers to maintain the same information (synchronize), CSNPs inform other routers that some LSPs might be outdated or missing from their database. CSNPs contain a complete list of all LSPs in the current IS-IS database.

Level 1 and level 2 CSNPs are supported.

Partial sequence number PDUs (PSNPs)

PSNPs are used to request missing LSPs and acknowledge that an LSP was received.

Level 1 and level 2 PSNPs are supported.

When a change takes place, IS-IS sends only the changed information, not the whole topology information or whole link-state database. From the topological database, each router constructs a tree of shortest paths with itself as root (that is, runs the Dijkstra algorithm). IS-IS distributes routing information between routers belonging to a single AS.

To summarize:

  • Hello PDUs are sent over the IS-IS-enabled interfaces to discover neighbors and establish adjacencies.

  • IS-IS neighbor relationships are formed if the Hello PDUs contain information that meets the criteria for forming an adjacency.

  • Routers can build a link-state PDU based upon their local interfaces that are configured for IS-IS and prefixes learned from other adjacent routers.

  • Routers flood LSPs to the adjacent neighbors except the neighbor from which they received the same LSP. The link-state database is constructed from these LSPs.

  • A shortest path tree (SPT) is calculated by each router, and from this SPT the routing table is built.

Metrics

IS-IS uses a cost metric that represents the status of a link in an algorithm to determine the best route to a destination. This algorithm is called the shortest path first (SPF), or Dijkstra, algorithm. Routing decisions are made using the link-state information. IS-IS evaluates topology changes and, if necessary, performs SPF recalculations.

To calculate the lowest cost to reach a destination, each configured level on each interface must have a cost. The costs for each level on an interface may be different.

In IS-IS, if the metric is not configured, the default cost 10 is used, regardless of the actual capacity of the link. By default, IS-IS does not use reference bandwidth in the calculation, unlike OSPF.

Authentication

Protocol authentication protects against malicious attacks on the communications between routing protocol neighbors. These attacks could either disrupt communications or inject incorrect routing information into the system’s routing table. The use of authentication keys can help to protect routing protocols from these types of attacks.

All IS-IS protocol exchanges can be authenticated. This guarantees that only trusted routers can participate in autonomous system routing.

Authentication must be explicitly configured and can be done using two separate mechanisms:

  • configuration of an explicit authentication key and algorithm using the authentication-key and authentication-type commands

  • configuration of an authentication keychain using the auth-keychain command

Either the authentication-key command or the auth-keychain command can be used by IS-IS, but both cannot be supported at the same time. If both commands are configured, the auth-keychain configuration will be applied and the authentication-key command will be ignored.

By default, authentication is not enabled on an interface.

Authentication key

For explicit authentication keys, IS-IS supports plaintext (simple password) and Message Digest 5 (MD5) authentication.

When authentication is enabled on a link, a text string password must be configured. Neighbor IS-IS routers must supply the password in all IS-IS packets they send to an interface.

Plaintext authentication includes the password in each IS-IS packet sent on a link.

MD5 authentication is more secure than plaintext authentication. MD5 authentication uses the password as an encryption key. Routers in the same routing domain must be configured with the same key. When the MD5 hashing algorithm is used for authentication, MD5 is used to verify data integrity by creating a 128-bit message digest from the data input that is included in each packet. The packet is transmitted to the router neighbor and can only be decrypted if the neighbor has the correct password.

The following authentication commands can be configured in the IS-IS global and IS-IS level contexts:

  • authentication-key – configures the authentication password used to verify IS-IS protocol packets

  • authentication-type – enables authentication and specifies the type of authentication to be used, either password or message digest

The following Hello PDU authentication commands can be configured in the IS-IS interface and IS-IS interface level contexts:

  • hello-authentication-key – configures the authentication password for Hello PDUs

  • hello-authentication-type – enables Hello authentication and specifies the type of authentication to be used, either password or message digest

Authentication keychains

The keychain mechanism allows for the creation of keys used to authenticate IS-IS communications. Each keychain entry defines the authentication attributes to be used in authenticating IS-IS messages from remote peers or neighbors; the entry must include at least one key entry to be valid. The keychain mechanism also allows authentication keys to be changed without affecting the state of the IS-IS adjacencies and supports stronger authentication algorithms than plaintext and MD5.

Keychains are configured in the config>system>security>keychain context. For more information about configuring keychains, see the 7705 SAR System Management Guide, ‟TCP Enhanced Authentication and Keychain Authentication”.

The authentication keychain is then associated with IS-IS in the global or level contexts with the auth-keychain command. The Hello authentication keychain is associated with IS-IS in the global, interface, or interface level contexts with the hello-auth-keychain command.

For a key entry to be valid, it must include a valid key, the current system clock value must be within the begin and end time of the key entry, and the algorithm specified must be supported by IS-IS.

IS-IS supports the following authentication algorithms:

  • clear text password

  • HMAC-MD5

  • HMAC-SHA-1

  • HMAC-SHA-256

Keychain errors are handled as follows.

  • If a keychain exists but there are no active key entries with an authentication type that matches the type supported by IS-IS, inbound IS-IS packets will not be authenticated and will be discarded and no outbound IS-IS packets will be sent.

  • If a keychain exists but the last key entry has expired, a log entry will be raised indicating that all keychain entries have expired.

    IS-IS protocol requires that the protocol not revert to an unauthenticated state and requires that the old key not be used; therefore, when the last key has expired, all traffic will be discarded.

Route redistribution and summarization

Route redistribution

Route redistribution is the taking of routes from one protocol and sending them to another protocol. The 7705 SAR supports the redistribution of static routes into OSPF and IS-IS and the redistribution of routes between IS-IS levels. The routes can be redistributed as level 1, level 2, or level 1/2 routes, depending on the level capability of the IS-IS router.

Multi-instance IS-IS (MI-IS-IS) supports route redistribution:

  • to and from any other routing protocol

  • to and from any other IS-IS instance

Route redistribution involves the use of routing policies. For information about routing policies, see the 7705 SAR Router Configuration Guide, ‟Route Policies”. To configure route redistribution, see Redistributing external IS-IS routes.

Route summarization

IS-IS IPv4 route summarization allows users to create aggregate IPv4 addresses that include multiple groups of IPv4 addresses for a given IS-IS level. Routes redistributed from other routing protocols can also be summarized.

IS-IS route summarization helps to reduce the size of the link-state database and the routing table. It also helps to reduce the chance of route flapping, which may occur when a router alternately advertises a destination network via one route then another route in quick sequence (or advertises a route as unavailable then available again).

Partial SPF calculation

IS-IS supports partial SPF calculation, also referred to as partial route calculation. When an event does not change the topology of the network, IS-IS does not perform full SPF but instead performs an IP reachability calculation for impacted routes. Partial SPF is performed at the receipt of IS-IS LSPs with changes to IP reachability TLVs and, in general, for any IS-IS LSP TLV and sub-TLV change that does not impact the network topology.

IS-IS-TE extensions

IS-IS traffic engineering (TE) extensions enable the 7705 SAR to include traffic engineering information in the algorithm in order to calculate the best route to a destination. IS-IS-TE extensions are used by MPLS traffic engineering; that is, RSVP-TE. The traffic information includes:

  • maximum reservable bandwidth

  • unreserved bandwidth

  • available bandwidth

  • link administration groups (or link colors)

  • SRLGs

  • TE metrics

Unnumbered interfaces

IS-IS supports unnumbered point-to-point interfaces with both Ethernet and PPP encapsulations.

Unnumbered interfaces borrow the address from other interfaces such as system, loopback, or another numbered interface, and use it as the source IP address for packets originated from the interface.

This feature supports both dynamic and static ARP for unnumbered interfaces to allow interworking with unnumbered interfaces that may not support dynamic ARP.

An unnumbered interface has IPv4 capability and is used only in cases where IPv4 is active (IPv4-only and mixed IPv4/IPv6 environments). When configuring an unnumbered interface, the interface specified for the unnumbered interface (system or other) must have an IPv4 address. As well, the interface type for the unnumbered interface will automatically be point-to-point.

The unnumbered option can be used in IES and VPRN access interfaces, as well as in a network interface with MPLS support.

Multitopology IS-IS

Multitopology IS-IS (MT IS-IS) allows the creation of different topologies in IS-IS that contribute routes to specific route tables for IPv4 unicast, IPv6 unicast, IPv4 multicast, and IPv6 multicast. This capability allows for noncongruent topologies among these routing tables. As a result, networks are able to control which links or nodes are used for forwarding different types of traffic. For example, in a network enabled for MT IS-IS, all links can carry IPv4 traffic while a subset of links also carry IPv6 traffic.

The 7705 SAR supports the following multitopologies:

  • IPv4 unicast routing topology, with MT ID 0
  • IPv6 unicast routing topology, with MT ID 2
  • IPv4 multicast routing topology, with MT ID 3
  • IPv6 multicast routing topology, with MT ID 4

MT IS-IS is supported in every instance of IS-IS.

Segment routing is supported in MT 0. See IS-IS control protocol changes for information.

The 7705 SAR also supports IS-IS IPv6 TLVs for IPv6 routing. This support is considered native IPv6 routing in IS-IS. For information about native IPv6 routing, see IPv6 support.

Segment routing in shortest path forwarding

Segment routing adds to IS-IS and OSPF routing protocols the ability to perform shortest path routing and source routing using the concept of abstract segment. A segment can represent a local prefix of a node, a specific adjacency of the node (interface or next hop), a service context, or a specific explicit path over the network. For each segment, the IGP advertises an identifier referred to as a segment ID (SID).

Note: Segment routing is supported in IS-IS for IPv4 and IPv6 and only in OSPFv2 for IPv4.

When segment routing is used together with the MPLS data plane, the SID is a standard MPLS label. A router forwarding a packet using segment routing will push one or more MPLS labels.

Segment routing using MPLS labels can be used in both shortest path routing applications and traffic engineering applications. On the 7705 SAR, segment routing implements the shortest path forwarding application.

When a received IPv4 or IPv6 prefix SID is resolved, the segment routing module programs the ILM with a swap operation and programs the LTN with a push operation both pointing to the primary/LFA NHLFE. An IPv4 or IPv6 SR tunnel to the prefix destination is also added to the TTM and is available for use by shortcut applications and Layer 2 or Layer 3 services.

Segment routing introduces the remote LFA feature, which expands the coverage of LFA by computing and automatically programming SR tunnels that are used as backup next hops. The SR shortcut tunnels terminate on a remote alternate node, which provides loop-free forwarding for packets of the resolved prefixes. When the loopfree-alternates option is enabled in an IS-IS instance or in OSPF, SR tunnels are protected with an LFA backup next hop. If the prefix of an SR tunnel is not protected by the base LFA, remote LFA automatically computes a backup next hop using an SR tunnel if the remote-lfa option is also enabled in the IGP instance.

Segment routing can also be used with Layer 3 spoke SDP interfaces to support multicast (PIM only). See Multicast over Layer 3 spoke SDP interfaces for more information.

Configuring segment routing in shortest path

Segment routing is enabled in an IGP routing instance using the following sequence of commands.

First, the user configures the global label block, referred to as the Segment Routing Global Block (SRGB), which is reserved for assigning labels to segment routing prefix SIDs originated by this router. This range is within the system dynamic label range and by default is not instantiated:

config>router>mpls-labels>sr-labels start start-value end end-value

Next, the user enables the context to configure segment routing parameters within an IGP instance:

config>router>isis>segment-routing

config>router>ospf>segment-routing

The key parameter is the configuration of the prefix SID index range and the offset label value that this IGP instance uses. Because each prefix SID represents a network global IP address, the SID index for a prefix must be unique network-wide. All routers in the network are expected to configure and advertise the same prefix SID index range for an IGP instance. However, the label value used by each router to represent this prefix, that is, the label programmed in the ILM, can be local to that router by the use of an offset label, referred to as a start label:

Local Label (Prefix SID) = start-label + {SID index}

The label operation in the network is very similar to LDP when operating in independent label distribution mode (RFC 5036), with the difference being that the label value used to forward a packet to each downstream router is computed by the upstream router based on the advertised prefix SID index using the above formula.

The following figure is an example of a router advertising its loopback address and the resulting packet label encapsulation throughout the network.

Figure 3. Packet label encapsulation using segment routing tunnel

Router N-6 advertises loopback 10.10.10.1/32 with a prefix index of 5. Routers N-1 to N-6 are configured with the same SID index range of [1,100] and an offset label of 100 to 600 respectively. The following are the actual label values programmed by each router for the prefix of PE2.

  • N-6 has a start label value of 600 and programs an ILM with label 605.

  • N-3 has a start label value of 300 and swaps incoming label 305 to label 605.

  • N-2 has a start label value of 200 and swaps incoming label 205 to label 305.

Similar operations are performed by N-4 and N-5 for the bottom path.

N-1 has an SR tunnel to N-6 with two ECMP paths. It pushes label 205 when forwarding an IP or service packet to N-6 via downstream next hop N-2 and pushes label 405 when forwarding via downstream next hop N-4.

The CLI commands for configuring the prefix SID index range and offset label value for an IGP instance are as follows:

  config>router>isis>segment-routing>prefix-sid-range {global | start-label label-value max-index index-value}

  config>router>ospf>segment-routing>prefix-sid-range {global | start-label label-value max-index index-value}

There are two mutually exclusive modes of operation for the prefix SID range on the router: global mode and per-instance mode.

In the global mode of operation, the user configures the global value and the IGP instance assumes that the start label value is the lowest label value in the SRGB and the prefix SID index range size is equal to the range size of the SRGB. When one IGP instance selects the global option for the prefix SID range, all IGP instances on the system must do the same.

The user must shut down the segment routing context and disable the prefix-sid-range command in all IGP instances in order to change the SRGB. When the SRGB is changed, the user must re-enable the prefix-sid-range command. The SRGB range change fails if an already allocated SID index/label goes out of range.

In the per-instance mode of operation, the user partitions the SRGB into non-overlapping sub-ranges among the IGP instances. The user configures a subset of the SRGB by specifying the start label value and the prefix SID index range size. All resulting net label values (start-label + index) must be within the SRGB or the configuration fails. The 7705 SAR checks for overlaps of the resulting net label value range across IGP instances and strictly enforces no overlapping of the ranges.

The user must shut down the segment routing context of an IGP instance in order to change the SID index/label range of that IGP instance using the prefix-sid-range command. A range change fails if an already allocated SID index/label goes out of range.

The user can, however, change the SRGB without shutting down the segment routing context as long as it does not reduce the current per-IGP instance SID index/label range defined with the prefix-sid-range command. Otherwise, the user must shut down the segment routing context of the IGP instance and disable and re-enable the prefix-sid-range command.

Finally, the user brings up segment routing on the IGP instance by using the no shutdown command:

  config>router>isis>segment-routing>no shutdown

  config>router>ospf>segment-routing>no shutdown

This command fails if the user has not previously enabled the advertise-router-capability option in the IGP instance. Segment routing capability must be advertised to all routers in a particular domain so that routers that support the capability only program the node SID in the data path toward neighbors that also support it.

  config>router>isis>advertise-router-capability {area | as}

  config>router>ospf>advertise-router-capability {link | area | as}

The IGP segment routing extensions are area-scoped. The user must therefore configure the flooding scope to area in OSPF and to area or as in IS-IS; otherwise, performing a no shutdown of the segment-routing node will fail.

The segment-routing command and the igp-shortcut and advertise-tunnel-link are mutually exclusive under IGP, because an SR tunnel cannot resolve to an RSVP tunnel next hop.

IS-IS supports node SID indexes or labels on IPv4 and IPv6 interfaces, and OSPF supports node SID indexes or labels on IPv4 addresses only, because OSPFv3 does not support segment routing.

The user assigns a node SID index or label to the prefix representing the primary address of an IPv4 or IPv6 network interface of type loopback using one of the following commands:

  config>router>isis>interface>ipv4-node-sid index value

  config>router>ospf>area>interface>node-sid index value

  config>router>isis>interface>ipv4-node-sid label value

  config>router>ospf>area>interface>node-sid label value

  config>router>isis>interface>ipv6-node-sid index value

  config>router>isis>interface>ipv6-node-sid label value

Only a single node SID can be assigned to an interface. The secondary address of an IPv4 interface cannot be assigned a node SID index and does not inherit the SID of the primary IPv4 address. The same applies to the non-primary IPv6 addresses of an interface.

The above commands will fail if the network interface is not of type loopback or if the interface is defined in an IES or a VPRN context. Assigning the same SID index/label value to the same interface in two different IGP instances is not allowed within the same node.

The value of the label or index SID is taken from the range configured for the IGP instance. When using the global mode of operation, a new segment routing module checks that the same index or label value is not assigned to more than one loopback interface address. When using the per-instance mode of operation, this check is not required because the index, and therefore the label ranges, of IGP instances are not allowed to overlap.

Static adjacency SID values for an interface

For an individual adjacency, static values for the label can be configured for an IS-IS or OSPF interface. If the values are not configured, they are dynamically allocated by the system from the dynamic label range. Use the following CLI commands to configure labels for an IS-IS or OSPF interface:

config>router>isis>interface>ipv4-adjacency-sid label value

config>router>isis>interface>ipv6-adjacency-sid label value

config>router>ospf>area>interface>adjacency-sid label value

The SID for an individual adjacency is advertised in the IGP and is treated as local.

The label value must correspond to a label in the reserved label block referred to by the srlb command. A CLI error is generated if an invalid value is configured. For information about reserved label blocks, see the 7705 SAR MPLS Guide,"Reserved label blocks."

A static label value for an adjacency SID is persistent. Therefore, the P-flag of the Flags field in the Adj-SID sub-TLV is set to 1. All other flags are set as per the existing Adj-SID sub-TLV for dynamically allocated values.

By default, a dynamic adjacency SID is advertised for an interface. However, when a static adjacency SID value is configured, the dynamic adjacency SID is deleted and only the static adjacency SID is used. Changing an adjacency SID from dynamic (that is, no adjacency-sid or no ipv4/ipv6 adjacency-sid) to static or vice versa may result in traffic being dropped.

For a configured adjacency SID for an interface, a backup is calculated similar to a dynamic adjacency SID when the sid-protection command is enabled for that interface.

Configured adjacency SIDs are only supported on point-to-point interfaces.

Segment routing operational procedures

Prefix SID resolution for a segment routing mapping server

An SR-capable router, including a mapping server and its clients, attempts to resolve each received prefix SID to either an SR tunnel endpoint or an LDP tunnel endpoint as described below.

IP prefix resolution
  1. SPF calculates the next hops, up to the maximum value defined by the config>router>ecmp max-ecmp-routes command, to reach a destination node (see the 7705 SAR Router Configuration Guide, ‟IP Router Command Reference”, ‟Router Commands” for more information about this command).

  2. A prefix advertised by multiple nodes that are all reachable with the same cost inherits the next hops, up to the max-ecmp-routes defined value, from the advertising nodes.

  3. The next-hop selection is based on:

    • the lowest next-hop router ID

    • the lowest interface index (for parallel links to same router ID)

    Each next hop keeps a reference to the destination node from which it was inherited.

Prefix SID resolution
  1. For a specified prefix, the IGP selects the SID value among multiple advertised values according to the following preference order:

    1. the local intra-area SID owned by this router

    2. the prefix SID sub-TLV advertised within an IP reachability TLV

      If multiple SIDs exist, the IGP selects the SID corresponding to the destination router or the ABR with the lowest system ID that is reachable using the first next hop of the prefix.

    3. the IS-IS SID and Label Binding TLV from the mapping server

      If multiple SIDs exist, the IGP selects the SID advertised by the mapping server with the lowest system ID.

      Note: If a level 1/2 router acts as a mapping server and also readvertises the mapping server prefix SID from other mapping servers, the redistributed mapping server prefix SID is preferred by other routers resolving the prefix; this may result in the mapping server with the lowest system ID not being selected.
  2. the selected SID is used with all ECMP next hops from step1 of IP prefix resolution toward all destination nodes or ABR nodes that advertised the prefix.

If duplicate prefix SIDs exist after the above steps are completed, the first SID that is processed is programmed according to its corresponding prefix. Subsequent SIDs cause a duplicate SID trap and are not programmed. The corresponding prefixes are resolved and programmed normally using IP next hops.

SR tunnel programming
  1. If the prefix SID is resolved from a prefix SID sub-TLV advertised within an IP reachability TLV, the SR ILM performs a swapping operation to an SR NHLFE as with regular SR tunnel resolution.

  2. If the prefix SID is resolved from a mapping server advertisement, stitching to an LDP FEC is preferred over a swapping operation to an SR next hop.

    The LDP FEC can be resolved via a static route or a route within an IS-IS instance. The IS-IS instance does not have to be the same as the IGP instance that advertised the mapping server prefix SID sub-TLV.

    The SR next hop is only possible if a route is exported from another IGP instance into the local IGP instance without propagating the prefix SID sub-TLV with the route. Otherwise, when the prefix SID is propagated with the route, the resolution follows step1 above.

Prefix advertisement and resolution

When segment routing is successfully enabled in an IS-IS instance or in OSPF, the router performs the following operations. See Control protocol changes for details of all TLVs and sub-TLVs for both IS-IS and OSPF protocols.

  • Advertises the Segment Routing Capability sub-TLV to routers in all areas or levels of this IGP instance. However, only neighbors with which the IGP instance established an adjacency will interpret the SID and label range information and use it for calculating the label to swap to or push for a particular resolved prefix SID.

  • Advertises the assigned index for each configured node SID in the new prefix SID sub-TLV with the N-flag (node SID flag) set. The segment routing module then programs the incoming label map (ILM) with a pop operation for each local node SID in the data path.

  • Automatically assigns and advertises an adjacency SID label for each formed adjacency over a network IP interface in the new Adjacency SID sub-TLV. The following points should be considered.

    • An adjacency SID is advertised for both numbered and unnumbered network IP interfaces.

    • An adjacency SID is not supported for parallel adjacencies between two IGP neighbors.

    • An adjacency SID is not advertised for an IES interface because access interfaces do not support MPLS.

    • The adjacency SID must be unique per instance and per adjacency. Furthermore, IS-IS multi-topology 0 (MT 0, IPv4 unicast) can establish an adjacency for both IPv4 and IPv6 address families over the same link, and in that case, a different adjacency SID is assigned to each next hop. However, the existing IS-IS implementation assigns a single Protect-Group ID (PG-ID) to the adjacency; therefore, when the state machine of a BFD session tracking the IPv4 or IPv6 next hop times out, an action is triggered for the prefixes of both address families over that adjacency.

    The segment routing module programs the incoming label map (ILM) with a swap to an implicit null label operation for each advertised adjacency SID.

  • Resolves received prefixes, and if a prefix SID sub-TLV exists, the segment routing module programs the ILM with a swap operation and an LTN with a push operation, both pointing to the primary/LFA NHLFE. An SR tunnel is also added to the TTM. If a node SID resolves over an IES interface, the data path is not programmed and a trap is raised. Therefore, only next hops of an ECMP set corresponding to network IP interfaces are programmed in the data path; next hops corresponding to IES interfaces are not programmed. If the user configures the interface as network on one side and IES on the other side, MPLS packets for the SR tunnel received on the access side are dropped.

  • LSA filtering, causing SIDs not to be sent in one direction which means some node SIDs are resolved in parts of the network upstream of the advertisement suppression.

When the user enables segment routing in an IGP instance, the main SPF and LFA SPF are computed normally and the primary next hop and LFA backup next hop for a received prefix are added to the RTM without the label information advertised in the prefix SID sub-TLV. In all cases, the SR tunnel is not added into the RTM.

Error and resource exhaustion handling

When the prefix corresponding to a node SID is being resolved, the following procedures are followed.

Procedure 1: providing support of multiple topologies for the same destination prefix

The 7705 SAR supports assigning different prefix SID indexes and labels to the same prefix in different IGP instances. While other routers that receive these prefix SIDs program a single route into the RTM, based on the winning instance ID as per the RTM route type preference, the 7705 SAR adds two tunnels to this destination prefix in the TTM. This provides for the support of multiple topologies for the same destination prefix.

Example:

In two different instances (level 2, IS-IS instance 1 and level 1, IS-IS instance 2), Router D has the same prefix destination with different SIDs (SIDx and SIDy); see the following figure.

Figure 4. Programming multiple tunnels to the same destination

Assume that the following route type preference in the RTM and tunnel type preference in the TTM are configured:

  • ROUTE_PREF_ISIS_L1_INTER (RTM) 15

  • ROUTE_PREF_ISIS_L2_INTER (RTM) 18

  • ROUTE_PREF_SR_ISIS_TTM 10

Note: The TTM tunnel type preference is not used by the SR module. It is put in the TTM and is used by other applications such as VPRN autobind and BGP shortcuts to select a TTM tunnel.
  1. Router A performs the following resolution within the single IS-IS instance 1, level 2. All metrics are the same, and ECMP = 2.

    • For prefix N, the RTM entry is:

      • prefix N

      • nhop1 = B

      • nhop2 = C

      • preference 18

    • For prefix N, the SR tunnel TTM entry is:

      • tunnel-id 1: prefix N-SIDx

      • nhop1 = B

      • nhop2 = C

      • tunl-pref 10

  2. Add IS-IS instance 2 (level 1) in the same setup, but in routers A, B, and C only. Router A performs the resolution.

    • For prefix N, the RTM entry is:

      • prefix N

      • nhop1 = B

      • preference 15

      The RTM prefers level 1 route over level 2 route.

    • For prefix N, there are two SR tunnel entries in the TTM:

      SR entry for level 2:

      • tunnel-id 1: prefix N-SIDx

      • nhop1 = B

      • nhop2 = C

      • tunl-pref 10

      SR entry for level 1:

      • tunnel-id 2: prefix N-SIDy

Procedure 2: resolving received SID indexes or labels to different routes of the same prefix within the same IGP instance

Two variations of this procedure can occur.

  1. If the 7705 SAR does not allow assigning the same SID index or label to different routes of the same prefix within the same IGP instance, it resolves only one SID index or label if it is received from another SR implementation and based on the RTM active route selection.

  2. If the 7705 SAR does not allow assigning different SID indexes or labels to different routes of the same prefix within the same IGP instance, it resolves only one SID index or label if received from another SR implementation and based on the RTM active route selection.

    The selected SID will be used for ECMP resolution to all neighbors. If the route is inter-area and the conflicting SIDs are advertised by different ABRs, ECMP toward all ABRs uses the selected SID.

Procedure 3: checking for SID errors before programming ILM and NHLFE

If any of the following conditions are true, the router logs a trap and generates a syslog error message and will not program the ILM and NHLFE for the prefix SID:

  • the received prefix SID index falls outside the locally configured SID range

  • one or more resolved ECMP next hops for a received prefix SID did not advertise SR Capability sub-TLV

  • the received prefix SID index falls outside the advertised SID range of one or more resolved ECMP next hops

Procedure 4: programming ILM/NHLFE for duplicate prefix SID indexes/labels for different prefixes

Two variations of this procedure can occur.

  1. For received duplicate prefix SID indexes or labels for different prefixes within the same IGP instance, the router:

    • programs ILM/NHLFE for the first prefix SID

    • logs a trap and a syslog error message

    • does not program the subsequent prefix SID in the data path

  2. For received duplicate prefix SID indexes for different prefixes across IGP instances, there are two options.

    • In the global SID index range mode of operation, the resulting ILM label values are the same across the IGP instances. The router:

      • programs ILM/NHLFE for the prefix of the winning IGP instance based on the RTM route type preference

      • logs a trap and a syslog error message

      • does not program the subsequent prefix SIDs in the data path

    • In the per-instance SID index range mode of operation, the resulting ILM label will have different values across the IGP instances. The router programs ILM/NHLFE for each prefix as expected.

Procedure 5: programming ILM/NHLFE for the same prefix across IGP instances

The behavior in the case of a global SID index range is illustrated by the IS-IS example in Handling of same prefix and SID in different IS-IS instances.

In the global SID index range mode of operation, the resulting ILM label values are the same across the IGP instances. The router programs ILM/NHLFE for the prefix of the winning IGP instance based on the RTM route type preference. The router logs a trap and a syslog error message, and does not program the other prefix SIDs in the data path.

In the per-instance SID index range mode of operation, the resulting ILM label has different values across the IGP instances. The router programs ILM/NHLFE for each prefix as expected.

Figure 5. Handling of same prefix and SID in different IS-IS instances

Assume that the following route type preference in the RTM and tunnel type preference in the TTM are configured:

  • ROUTE_PREF_ISIS_L1_INTER (RTM) 15

  • ROUTE_PREF_ISIS_L2_INTER (RTM) 18

  • ROUTE_PREF_SR_ISIS_TTM 10

Note: The TTM tunnel type preference is not used by the SR module. It is put in the TTM and is used by other applications such as VPRN autobind and BGP shortcuts to select a TTM tunnel.
  1. Router A performs the following resolution within the single IS-IS instance 1, level 2. All metrics are the same, and ECMP = 2.

    • For prefix N, the RTM entry is:

      • prefix N

      • nhop1 = B

      • nhop2 = C

      • preference 18

    • For prefix N, the SR tunnel TTM entry is:

      • tunnel-id 1: prefix N-SIDx

      • nhop1 = B

      • nhop2 = C

      • tunl-pref 10

  2. Add IS-IS instance 2 (level 1) in the same setup, but in routers A, B, and E only. Router A performs the resolution.

    • For prefix N, the RTM entry is:

      • prefix N

      • nhop1 = B

      • preference 15

      The RTM prefers level 1 route over level 2 route.

    • For prefix N, there is one SR tunnel entry for level 2 in the TTM:

      • tunnel-id 1: prefix N-SIDx

      • nhop1 = B

      • nhop2 = C

      • tunl-pref 10

Procedure 6: handling ILM resource exhaustion while assigning a SID index/label

If the system exhausted an ILM resource while assigning a SID index/label to a local loopback interface, index allocation fails and an error is returned in the CLI. In addition, the router logs a trap and generates a syslog error message.

Procedure 7: handling ILM, NHLFE, or other IOM or CSM resource exhaustion while resolving or programming a SID index/label

If the system exhausted an ILM, NHLFE, or any other IOM or CSM resource while resolving and programming a received prefix SID or programming a local adjacency SID, the following occurs.

  • The IGP instance goes into overload and a trap and syslog error message are generated.

  • The segment routing module deletes the tunnel.

The user must manually clear the IGP overload condition after freeing resources. After the IGP is brought back up, it attempts to program at the next SPF all tunnels that previously failed the programming operation.

Segment routing tunnel management

The segment routing module adds to the TTM a shortest path SR tunnel entry for each resolved remote node SID prefix and programs the data path with the corresponding LTN with the push operation pointing to the primary and LFA backup NHLFEs. The LFA backup next hop for a prefix that was advertised with a node SID will only be computed if the loopfree-alternates option is enabled in the IS-IS instance or in OSPF. The resulting SR tunnel that is populated in the TTM is automatically protected with FRR when an LFA backup next hop exists for the prefix of the node SID.

With ECMP, a maximum of eight primary next hops (NHLFEs) are programmed for the same tunnel destination per IGP instance. ECMP and LFA next hops are mutually exclusive.

The default preference for shortest path SR tunnels in the TTM is set lower than LDP tunnels but higher than BGP tunnels to allow controlled migration of customers without disrupting their current deployment when they enable segment routing. The following is the setting of the default preferences for the various tunnel types. This includes the preference of both SR tunnels based on shortest path (referred to as SR-ISIS and SR-OSPF).

The global default TTM preference for the tunnel types is as follows:

ROUTE_PREF_RSVP

7

ROUTE_PREF_SR_TE

8

ROUTE_PREF_LDP

9

ROUTE_PREF_SR_OSPF_TTM

10

ROUTE_PREF_SR_ISIS_TTM

11

ROUTE_PREF_BGP_TTM

12

ROUTE_PREF_GRE

255

The default value for SR-ISIS is the same regardless of whether one or more IS-IS instances programmed a tunnel for the same prefix. The selection of an SR tunnel in this case is based on the lowest IGP instance ID.

The TTM preference is used for BGP shortcuts, VPRN autobind, or BGP transport tunnel when the tunnel binding commands are configured to the any value, which parses the TTM for tunnels in the protocol preference order. The user can choose to either accept the global TTM preference or explicitly list the tunnel types to be used. When the tunnel types are listed explicitly, the TTM preference is still used to select one type over the other. In both cases, a fallback to the next preferred tunnel type is performed if the selected one fails. A reversion to a more preferred tunnel type is performed as soon as one is available. See BGP label route resolution using segment routing tunnel, and Service packet forwarding with segment routing for the detailed service and shortcut binding CLI commands.

For SR-ISIS and SR-OSPF, the user can configure the preference of each specific IGP instance away from the above default values.

CLI syntax:
config>router>isis>segment-routing>tunnel-table-pref preference
config>router>ospf>segment-routing>tunnel-table-pref preference
Note: The preference of the SR-TE LSP is not configurable and is the second most preferred tunnel type after RSVP-TE. The preference is the same whether the SR-TE LSP was resolved in IS-IS or OSPF.
Tunnel MTU determination

The MTU of an SR tunnel populated into the TTM is determined as in the same way as the MTU of an IGP tunnel (for example, LDP LSP), based on the outgoing interface MTU minus the label stack size. Segment routing, however, supports remote LFA, which programs an LFA backup next hop, adding another label to the tunnel for a total of two labels.

The following commands are used to configure the MTU of all SR tunnels within each IGP instance:

CLI syntax:
config>router>isis (ospf)>segment-routing>tunnel-mtu bytes

There is no default value for this command. If the user does not configure an SR tunnel MTU, the MTU, in bytes, is fully determined by IGP as follows:

SR_Tunnel_MTU = MIN {Cfg_SR_MTU, IGP_Tunnel_MTU– (1+ frr-overhead)✕4}

where

  • Cfg_SR_MTU is the MTU configured by the user for all SR tunnels within an IGP instance using the tunnel-mtu command. If no value is configured by the user, the SR tunnel MTU is fully determined by the IGP interface calculation described in the following bullet point

  • IGP_Tunnel_MTU is the minimum of the IS-IS or OSPF interface MTU among all the ECMP paths or among the primary and LFA backup paths of this SR tunnel

  • frr-overhead is set to 1 if the segment-routing and remote-lfa options are enabled in the IGP instance. Otherwise, it is set to 0.

The SR tunnel MTU is dynamically updated whenever any of the above parameters used in its calculation changes. This includes if the set of the tunnel next hops changes or the user changes the configured SR MTU or interface MTU value.

Note: If fragmentation is used for IP packets forwarded in the GRT or in a VPRN over an SR shortest path tunnel, the IOM always deducts the worst-case MTU (5 labels, or 6 labels if the hash label feature is enabled) from the outgoing interface MTU when deciding whether to fragment the packet. In this case, the above formula is not used.

Remote LFA with segment routing

Remote LFA for segment routing supports both link protection and node protection. For information about remote LFA for node protection, see Node protection support in remote LFA and TI-LFA.

The remote LFA next-hop calculation by the IGP LFA SPF is enabled with the following command:

CLI syntax:
config>router>isis>loopfree-alternates>remote-lfa
config>router>ospf>loopfree-alternates>remote-lfa

SPF performs the remote LFA additional computation following the regular LFA next-hop calculation when both of the following conditions are met:

  • the remote-lfa option is enabled in an IGP instance

  • the LFA next-hop calculation did not result in protection for one or more prefixes resolved to an interface

Remote LFA extends the protection coverage of LFA-FRR to any topology by automatically computing and establishing or tearing down shortcut tunnels, also referred to as repair tunnels, to a remote LFA node that puts the packets back into the shortest path without looping them back to the node that forwarded them over the repair tunnel. A repair tunnel can, in theory, be an RSVP-TE LSP, an LDP-in-LDP tunnel, or an SR tunnel. On the 7705 SAR, this feature is restricted to using an SR repair tunnel to the remote LFA node.

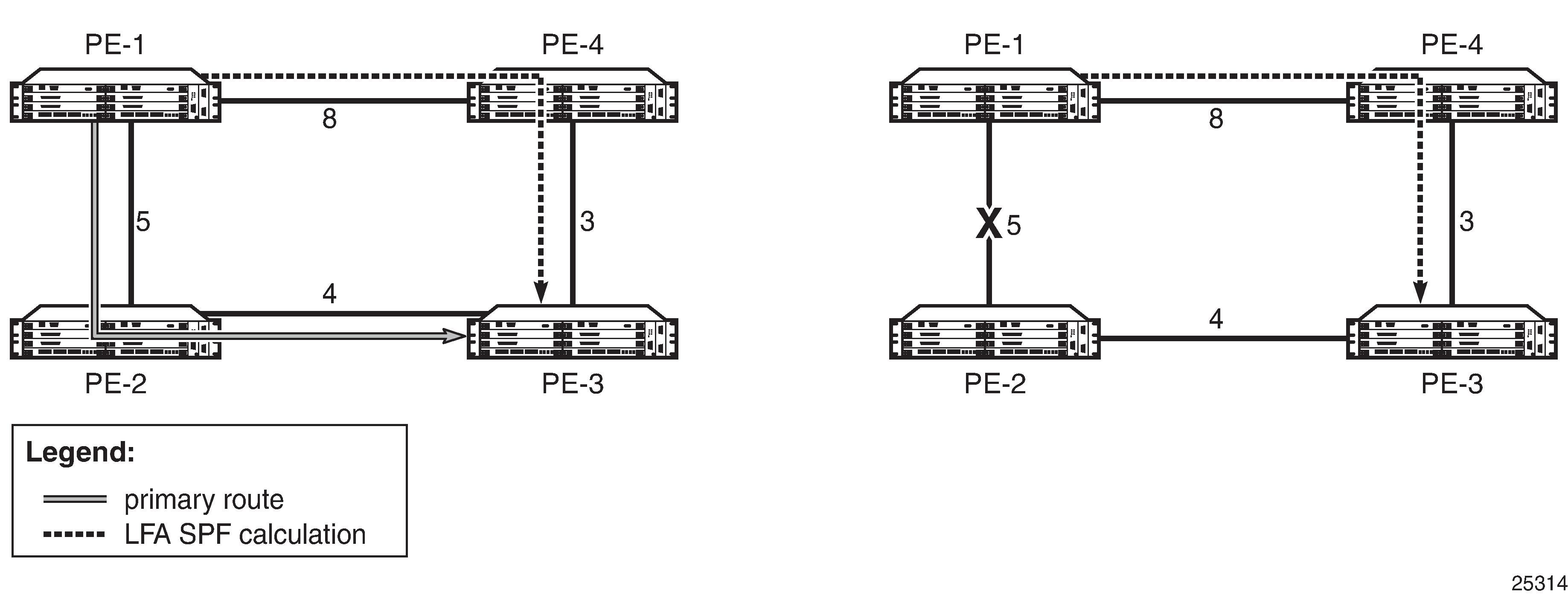
The remote LFA algorithm for link protection is described in RFC 7490, Remote Loop-Free Alternate (LFA) Fast Reroute (FRR). Unlike the regular LFA calculation, which is calculated per prefix, the LFA algorithm for link protection is a per-link LFA SPF calculation. The algorithm provides protection for all destination prefixes which share the protected link by using the neighbor on the other side of the protected link as a proxy for all the destinations. An example is shown in the following figure.

Figure 6. Remote LFA algorithm

When the LFA SPF in node C computes the per-prefix LFA next hop, prefixes that use link C-B as the primary next hop have no LFA next hop due to the ring topology. If node C used node link C-D as a backup next hop, node D would loop a packet back to node C. Remote LFA then runs the following algorithm, referred to as the ‟PQ Algorithm” in RFC 7490:

  1. The algorithm computes the extended P space of node C with respect to link C-B: the set of nodes reachable from node C without any path transiting the protected link (link C-B). This yields nodes D, E, and F.

    The determination of the extended P space by node C uses the same computation as regular LFA by running SPF on behalf of each of the neighbors of C.

    Note: RFC 7490 initially introduced the concept of P space, which would have excluded node F because, from the node C perspective, node C has a couple of ECMP paths, one of which goes via link C-B. However, because the remote LFA next hop is activated when link C-B fails, this rule can be relaxed and node F can be included, which then yields the extended P space.

    The user can limit the search for candidate P nodes to reduce the number of SPF calculations in topologies where many eligible P nodes can exist. A CLI command is provided to configure the maximum IGP cost from node C for a P node to be eligible:

    • config>router>isis>loopfree-alternates>remote-lfa max-pq-cost value

    • config>router>ospf>loopfree-alternates>remote-lfa max-pq-cost value

  2. The algorithm computes the Q space of node B with respect to link C-B: the set of nodes from which the destination proxy (node B) can be reached without any path transiting the protected link (link C-B).

    The Q-space calculation is effectively a reverse SPF on node B. In general, one reverse SPF is run on behalf of each of the neighbors of C to protect all destinations resolving over the link to the neighbor. This yields nodes F and A in the example in Remote LFA algorithm.

    The user can limit the search for candidate Q nodes to reduce the amount of SPF calculations in topologies where many eligible Q nodes can exist. The above CLI command is also used to configure the maximum IGP cost from node C for a Q node to be eligible.

  3. The algorithm selects the best alternate node: this is the intersection of extended P and Q spaces. The best alternate node or PQ node is node F in the example in Remote LFA algorithm. From node F onwards, traffic follows the IGP shortest path.

    If many PQ nodes exist, the lowest IGP cost from node C is used to narrow down the selection, and if more than one PQ node remains, the node with the lowest router ID is selected.

The details of the label stack encoding when the packet is forwarded over the remote LFA next hop is shown in the following figure.

Figure 7. Remote LFA next hop in segment routing

The label corresponding to the node SID of the PQ node is pushed on top of the original label of the SID of the resolved destination prefix. If node C has resolved multiple node SIDs corresponding to different prefixes of the selected PQ node, it pushes the lowest node SID label on the packet when forwarding the packets over the remote LFA backup next hop.

If the PQ node is also the advertising router for the resolved prefix, the label stack is compressed in some cases, depending on the IGP.

  • In IS-IS, the label stack is always reduced to a single label, which is the label of the resolved prefix owned by the PQ node.

  • In OSPF, the label stack is reduced to the single label of the resolved prefix when the PQ node advertised a single node SID. If the PQ node advertised a node SID for multiple loopback interfaces within OSPF, the label stack is reduced to a single label only if the SID of the resolved prefix is the lowest SID value.

The following rules and limitations apply to the remote LFA implementation.

  • LFA policy is currently supported for IP next hops only. It is not supported for tunnel next hops when IGP shortcuts are used for LFA backup. Remote LFA is also a tunnel next hop; therefore, a user-configured LFA policy is not applied in the selection of a remote LFA backup next hop when multiple candidates are available.

  • As a result, if an LFA policy is applied and does not find an LFA IP next hop for a set of prefixes, the remote LFA SPF runs a search for a remote LFA next hop for the same prefixes. The selected remote LFA next hops, if found, may not satisfy the LFA policy constraints.

  • If the user excludes a network IP interface from being used as an LFA next hop using the CLI command loopfree-alternate-exclude under the IS-IS or OSPF interface context, the interface is also excluded from being used as the outgoing interface for a remote LFA tunnel next hop.

  • As with the regular LFA algorithm, the remote LFA algorithm computes a backup next hop to the ABR advertising an inter-area prefix and not to the destination prefix.

Topology-independent LFA

The topology-independent LFA (TI-LFA) feature improves the protection coverage of a network topology by computing and automatically instantiating a repair tunnel to a Q node that is not in the shortest path from the computing node. The repair tunnel uses the shortest path to the P node and a source-routed path from the P node to the Q node.

In addition, the TI-LFA algorithm selects the backup path that matches the post-convergence path. This helps with capacity planning in the network because traffic always flows on the same path when transitioning to the FRR next hop and then to the new primary next hop.

At a high level, the TI-LFA link-protection algorithm searches for the closest Q node to the computing node and then selects the closest P node to this Q node, up to a maximum number of labels. This is performed on each of the post-convergence paths to each destination node or prefix.

TI-LFA supports both link protection and node protection. For information about node protection, see Node protection support in remote LFA and TI-LFA.

TI-LFA configuration

TI-LFA can be enabled in OSPF or in an IS-IS instance using the following command:

  • config>router>ospf>loopfree-alternates>ti-lfa [max-sr-frr-labels value]

  • config>router>isis>loopfree-alternates>ti-lfa [max-sr-frr-labels value]

When the ti-lfa option is enabled in OSPF, it provides a TI-LFA link-protect backup for an SR-OSPF IPv4 tunnel or for an IPv4 SR-TE LSP. See more details of the applicability of the various LFA options in LFA protection option applicability.

When the ti-lfa option is enabled in IS-IS, it provides a TI-LFA link-protect backup path in S-IS multi-topology 0 (MT 0) for an SR-ISIS IPv4 or SR-ISIS IPv6 tunnel (node SID and adjacency SID), or for an IPv4 SR-TE LSP. See more details of the applicability of the various LFA options in LFA protection option applicability.

The max-sr-frr-labels parameter limits the search for the LFA backup next hop:

  • 0 – the IGP LFA SPF restricts the search to a TI-LFA backup next hop that does not require a repair tunnel, meaning that the P node and Q node are the same and match a neighbor. This is also the case when both P and Q nodes match the advertising router for a prefix.

  • 1 to 3 – the IGP LFA SPF widens the search to include a repair tunnel to a P node that is connected to the Q nodes with zero to two hops for a total of three labels maximum: one node SID to the P node and two adjacency SIDs from the P node to the Q node. If the P node is a neighbor of the computing node, its node SID is compressed, meaning that up to three adjacency SIDs can separate the P and Q nodes.

  • 2 (default) – corresponds to a repair tunnel to a non-adjacent P node that is adjacent to the Q node. If the P node is a neighbor of the computing node, the node SID of the P node is compressed and the default value of two labels corresponds to two adjacency SIDs between the P and Q nodes.

If the user attempts to change the max-sr-frr-labels parameter to a value that results in a change to the computed FRR overhead, the IGP checks that all SR-TE LSPs can properly account for the overhead based on the configuration of the LSP max-sr-labels and additional-frr-labels parameter values; otherwise, the change is rejected.

The FRR overhead is computed by the IGP and its value is set as follows:

  • 0 if segment-routing is disabled in the IGP instance

  • 0 if segment-routing is enabled but remote-lfa is disabled and ti-lfa is disabled

  • 1 if segment routing is enabled and remote-lfa is enabled but ti-lfa is disabled, or if segment-routing is enabled, remote-lfa is enabled, and ti-lfa is enabled but ti-lfa max-sr-frr-labels labels is set to 0

  • to the value of ti-lfa max-sr-frr-labels labels, if segment-routing is enabled and ti-lfa is enabled, regardless of whether remote-lfa is enabled or disabled

The LFA commands enable the base LFA feature with the loopfree-alternates command, and optionally add remote LFA with the remote-lfa option and TI-LFA with the ti-lfa option. The behavior when one or more of these options is enabled is explained in TI-LFA link-protect operation. For more information about remote LFA operation, see Node protection support in remote LFA and TI-LFA.

Data path support

The TI-LFA repair tunnel can have a maximum of three additional labels pushed in addition to the label of the destination node or prefix. The user can set a lower maximum value for the additional FRR labels by configuring the ti-lfa max-sr-frr-labels labels option. The default value is 2.

The data path models the backup path like an SR-TE LSP and therefore uses a super-NHLFE pointing to the NHLFE of the first hop in the repair tunnel. That first hop corresponds to either an adjacency SID or a node SID of the P node.

There is a special case where the P node is adjacent to the node computing the TI-LFA backup, and the Q node is the same as the P node or adjacent to the P node. In this case, the data path at the computing router pushes either zero labels or one label for the adjacency SID between the P and Q nodes. The backup path uses a regular NHLFE in this case as in base LFA or remote LFA. Selecting link-protect TI-LFA backup path shows an example of a single label in the backup NHLFE.

Node protection support in remote LFA and TI-LFA

The 7705 SAR supports extensions to the LFA algorithm so that remote LFA and TI-LFA can be used for node protection in addition to link protection.

When node protection is enabled, the router prefers a node-protect repair tunnel over a link-protect repair tunnel for a prefix if both tunnels are found in the remote LFA or TI-LFA SPF computations; however, the SPF computation may only find a link-protect repair tunnel for prefixes owned by the protected node.

Configuring remote LFA and TI-LFA for node protection

The node protection calculation for remote LFA and TI-LFA is enabled with the following commands:

  • config>router>isis>loopfree-alternates>remote-lfa [max-pq-cost value]>node-protect [max-pq-nodes value]

  • config>router>isis>loopfree-alternates>ti-lfa [max-sr-frr-labels value]>node-protect

  • config>router>ospf>loopfree-alternates>remote-lfa>node-protect [max-pq-cost value]

  • config>router>ospf>loopfree-alternates>ti-lfa [max-sr-frr-labels value]>node-protect

The max-pq-nodes parameter in the remote-lfa command controls the maximum number of candidate PQ nodes found in the LFA SPFs for which the node protection check is performed. The node-protect condition means that the router must run the original remote LFA algorithm for link protection plus one extra forward SPF on behalf of each PQ node found, potentially after applying the max-pq-cost parameter, to verify that the path from the PQ node to the destination does not traverse the protected node. Setting the max-pq-nodes parameter to a lower value means that the LFA SPFs use less computation time and resources; however, this may result in not finding a node-protect repair tunnel.

TI-LFA node-protect operation

The 7705 SAR supports the node-protect extensions to the TI-LFA algorithm as described in draft-bashandy-rtgwg-segment-routing-ti-lfa-05. The following figure shows a simple topology that illustrates the operation of the TI-LFA algorithm for node protection.

Figure 11. Application of the TI-LFA algorithm for node protection

In the figure, for each destination prefix D, R1 programs the TI-LFA repair tunnel (max-sr-frr-labels=1):

  • For prefixes other than those owned by nodes R2 and R3, R1 programs a node-protect repair tunnel to the P-Q pair R3-R6 by pushing the SID of adjacency R3-R6 on top of the SID for destination D and programming a next hop of R3.

  • For prefixes owned by node R2, R1 runs the link-protect TI-LFA algorithm and programs a simple link-protect repair tunnel that consists of a backup next hop of R3 and pushes no additional label on top of the SID for the destination prefix.

  • Prefixes owned by node R3 are not impacted by the failure of R2 because their primary next hop is R3.

The topology computation for Application of the TI-LFA algorithm for node protection is as follows:

  1. The algorithm computes the post-convergence SPF on the topology without the protected node.

    R1 computes TI-LFA on the topology without the protected node R2 and finds a single post-convergence path to destination D via R3 and R6. Prefixes owned by all other nodes in the topology have a post-convergence path via R3 and R6 except for prefixes owned by node R2. The latter uses the link R3-R2 and they can only benefit from link protection.

  2. The algorithm computes the extended P space of R1 with respect to protected node R2 on the post-convergence paths. This is the set of nodes Yi in the post-convergence paths that are reachable from R1 neighbors, other than protected node R2, without any path transiting the protected node R2.

    R1 computes an LFA SPF rooted at each of its neighbors within the post-convergence paths (for example, R3) using the following equation:

    Distance_opt(R3, Yi) < Distance_opt(R3, R2) + Distance_opt(R2, Yi)

    where Distance_opt(A,B) is the shortest distance between A and B

    The extended P-space calculation yields node R3 only.

  3. The algorithm computes the Q space of R1 with respect to protected link R1-R2 on the post-convergence paths. This is the set of nodes Zi in the post-convergence paths from which node R2 can be reached without any path transiting the protected link R1-R2. The algorithm uses the following equation:

    Distance_opt(Zi, R2) < Distance_opt(Zi, R1) + Distance_opt(R1, R2)

    The reverse SPF for the Q-space calculation is the same as in the link-protect algorithm and uses the protected node R2 as the proxy for all destination prefixes. If the Q space is computed with respect to the protected node R2 instead of link R1-R2, a reverse SPF would have to be done to each destination D, which is very costly and would not scale. However, computing the Q space with respect to link R1-R2 means that the algorithm only guarantees that the path from the computing node to the Q node is node-protecting. The path from the Q node to the destination D is not guaranteed to avoid the protected node R2. The intersection of the Q space with the post-convergence path is modified in the next step to mitigate this risk.

    This step yields nodes R3, R4, R5, and R6.

  4. For each post-convergence path, the algorithm searches for the closest Q node to destination D and selects the closest P node to this Q node, up to the number of labels corresponding to the value configured for the ti-lfa max-sr-frr-labels parameter.

    This step yields the following P-Q sets depending on the configuration of max-sr-frr-labels:

    • When max-sr-frr-labels=0, R3 is the closest Q node to the destination D and R3 is the only P node. This case is the one that results in link protection via PQ node R3.

    • When max-sr-frr-labels=1, R6 is the closest Q node to the destination D and R3 is the only P node. The repair tunnel for this case uses the SID of the adjacency over link R3-R6 as shown in Application of the TI-LFA algorithm for node protection.

    • When max-sr-frr-labels=2, R5 is the closest Q node to the destination D and R3 is the only P node. The repair tunnel for this case uses the SIDs of the adjacencies over links R3-R6 and R6-R5.

    • When max-sr-frr-labels=3, R4 is the closest Q node to the destination D and R3 is the only P node. The repair tunnel for this case uses the SIDs of the adjacencies over links R3-R6, R6-R5, and R5-R4.

    Note: This step of the algorithm is modified from the link protection algorithm, which prefers Q nodes that are closest to the computing router R1. This modification minimizes the probability that the path from the Q node to the destination D goes via the protected node R2 as described in step 2. There is, however, still a possibility that the found P-Q set achieves link protection only.
  5. The algorithm selects the P-Q set. If a candidate P-Q set is found on each of the multiple ECMP post-convergence paths in step 4, the following rules are applied in ascending order to select a single set:

    1. lowest number of labels

    2. lowest next-hop router ID

    3. lowest interface index if the next-hop router ID is the same

    If multiple parallel links with adjacency SIDs exist between the P and Q nodes of the selected P-Q set, the following rules are used to select one of the links:

    • use the adjacency SID with the lowest metric

    • use the adjacency SID with the lowest SID value if the lowest metric is the same

Remote LFA node-protect operation

The 7705 SAR supports the node-protect extensions to the remote LFA algorithm as described in RFC 8102.

Remote LFA follows a similar algorithm to TI-LFA but does not limit the scope of the calculation of the extended P space and the Q space to the post-convergence paths.

Remote LFA adds an extra forward SPF on behalf of the PQ node, to ensure that for each destination the selected PQ node does not use a path via the protected node.

The following figure shows the application of the remote LFA algorithm for node protection with a slightly modified typology from that shown in Application of the TI-LFA algorithm for node protection. A new node, R7, is added to the top ring and the metric for link R3-R6 is changed to 100.

Figure 12. Application of the remote LFA algorithm for node protection

When the algorithm for remote LFA for node protection is applied to the topology shown in the figure, it performs the following steps:

  1. The algorithm computes the extended P space of R1 with respect to protected node R2.

    This is the set of nodes Yi that are reachable from R1 neighbors, other than protected node R2, without any path transiting the protected node R2.

    R1 computes an LFA SPF rooted at each of its neighbors, in this case R7, using the following equation:

    Distance_opt(R7, Yi) < Distance_opt(R7, R2) + Distance_opt(R2, Yi)

    where Distance_opt(A,B) is the shortest distance between A and B

    Nodes R7, R3, and R6 satisfy this inequality.

  2. The algorithm computes the Q space of R1 with respect to protected link R1-R2.

    This is the set of nodes Zi from which node R2 can be reached without any path transiting the protected link R1-R2. The following equation is used:

    Distance_opt(Zi, R2) < Distance_opt(Zi, R1) + Distance_opt(R1, R2)

    The reverse SPF for the Q-space calculation is the same as in the remote LFA link-protect algorithm and uses the protected node R2 as the proxy for all destination prefixes.

    This step yields nodes R3, R4, R5, and R6.

    Therefore, the candidate PQ nodes after this step are nodes R3 and R6.

  3. For each PQ node found, the algorithm runs a forward SPF to each destination D.

    This step is required to select only the subset of PQ nodes that do not traverse protected node R2.

    Distance_opt(PQi, D) < Distance_opt(PQi, R2) + Distance_opt(R2, D)

    Of the candidate PQ nodes R3 and R6, only PQ node R6 satisfies this inequality.

    Note: This step of the algorithm is applied to the subset of candidate PQ nodes from steps 1 and 2 to which the parameter max-pq-cost was already applied. This subset is further reduced in this step by retaining the candidate PQ nodes that provide the highest coverage among all protected nodes in the topology while not exceeding the number of nodes set with the max-pq-nodes parameter.

    If multiple candidate PQ nodes are yielded out of this step, the detailed selection rules of a single PQ node from the candidate list are described in step4.

  4. The algorithm selects a PQ node.

    If multiple PQ nodes satisfy the criteria in all the above steps, R1 further selects the PQ node as follows:

    1. R1 selects the lowest IGP cost from R1.

    2. If more than one PQ node remains, R1 selects the PQ node reachable via the neighbor with the lowest router ID (OSPF) or system ID (IS-IS).

    3. If more than one PQ remains, R1 selects the PQ node with the lowest router ID (OSPF) or system ID (IS-IS).

For each destination prefix D, R1 programs the remote LFA backup path as follows:

  • For prefixes of R5 or R4 or downstream of R4, R1 programs a node-protect remote LFA repair tunnel to the PQ node R6 by pushing the SID of node R6 on top of the SID for destination D and programming a next hop of R7.

  • For prefixes owned by node R2, R1 runs the link-protect remote LFA algorithm and programs a simple link-protect repair tunnel that consists of a backup next hop of R7 and pushes the SID of PQ node R3 on top of the SID for the destination prefix D.

  • Prefixes owned by nodes R7, R3, and R6 are not impacted by the failure of R2 because their primary next hop is R7.

TI-LFA and remote LFA node protection feature interactions and limitations

LFA protection option applicability describes the order of activation of the various LFA types on a per-prefix basis: TI-LFA, followed by base LFA, followed by remote LFA.

Node protection is enabled for TI-LFA and remote LFA separately. The base LFA prefers node protection over link protection.

The order of activation of the LFA types supersedes the protection type (node versus link). Consequently, a prefix may be programmed with a link-protect backup next hop by the more preferred LFA type. For example, a prefix could be programmed with the only link-protect backup next hop found by the base LFA while there exists a node-protect remote LFA next hop.

IPv6 segment routing using MPLS encapsulation

This feature implements support for SR IPv6 tunnels in IS-IS MT 0. The user can configure a node SID for the primary IPv6 global address of a loopback interface, which then gets advertised in IS-IS. IS-IS automatically assigns and advertises an adjacency SID for each adjacency with an IPv6 neighbor. After the node SID is resolved, it is used to install an IPv6 SR-ISIS tunnel in the TTM for use by the services.

IS-IS MT 0 extensions

The IS-IS MT 0 extensions consist of supporting the advertising and resolution of the prefix SID sub-TLV within the IP reachability TLV-236 (IPv6), which is defined in RFC 5308.The adjacency SID is still advertised as a sub-TLV of the Extended IS Reachability TLV 22, as defined in RFC 5305, IS-IS Extensions for Traffic Engineering, as in the case of an IPv4 adjacency. The router sets the V-Flag and I-Flag in the SR-Capabilities sub-TLV to indicate that it is capable of processing SR MPLS-encapsulated IPv4 and IPv6 packets on its network interfaces.

Supported service and forwarding contexts

The service and forwarding contexts supported with SR-ISIS IPv6 tunnels are:

  • SDP of type sr-isis with far-end option using IPv6 address

  • VLL, VPLS, IES/VPRN spoke-SDP interfaces, r-VPLS

  • PW redundancy within Epipe/Ipipe VLLs, Epipe spoke-SDP termination on VPLS and r-VPLS, and Epipe/Ipipe spoke-SDP termination on IES/VPRN

  • remote mirroring

Services using SDP with an SR IPv6 tunnel

The MPLS SDP of type sr-isis with a far-end option using an IPv6 address is supported. The SDP must have the same IPv6 far-end address, used by the control plane for the T-LDP session, as the prefix of the node SID of the SR IPv6 tunnel.

Example:
configure
    service
        [no] sdp sdp-id mpls
            [no] far-end ipv6-address
            sr-isis
            no sr-isis

The bgp-tunnel, lsp, sr-te lsp, sr-ospf, and mixed-lsp-mode commands are blocked within the SDP configuration context when the far-end address is an IPv6 address.

SDP admin groups are not supported with an SDP using an SR IPv6 tunnel, or with SR-OSPF for IPv6 tunnels, and their assignment is blocked in the CLI.

Services that use an LDP control plane such as T-LDP VPLS and r-VPLS, VLL, and IES/VPRN spoke-SDP interfaces have the spoke SDP (PW) signaled with an IPv6 T-LDP session because the far-end option is configured to an IPv6 address. The spoke SDP for these services binds to an SDP that uses an SR IPv6 tunnel where the prefix matches the far-end address. The 7705 SAR also supports the IPv6 PW control word with both data plane packets and VCCV OAM packets.

The PW switching feature is not supported with LDP IPv6 control planes. As a result, the CLI does not allow the user to enable the vc-switching option whenever one or both spoke SDPs uses an SDP that has the far-end configured as an IPv6 address.

Layer 2 services that use the BGP control plane, such as dynamic MS-PW, cannot bind to an SR IPv6 tunnel because a BGP session to a BGP IPv6 peer does not support advertising an IPv6 next hop for the Layer 2 NLRI. As a result, these services will not auto-generate SDPs using an SR IPv6 tunnel.

The shortest path bridging (SPB) feature works with spoke SDPs bound to an SDP that uses an SR IPv6 tunnel.

Data path support

A packet received with a label matching either a node SID or an adjacency SID is forwarded according to the ILM type and operation, as described in the following table.

Table 3. Data path support 

Label type

Operation

Top label is a local node SID

Label is popped and the packet is further processed

If the popped node SID label is the bottom of stack label, the IP packet is looked up and forwarded in the appropriate FIB

Top or next label is a remote node SID

Label is swapped to the calculated label value for the next hop and forwarded according to the primary or backup NHLFE

With ECMP, a maximum of 8 primary next hops (NHLFEs+) are programmed for the same destination prefix and for each IGP instance. ECMP and LFA next hops are mutually exclusive

Top or next label is an adjacency SID

Label is popped and the packet is forwarded out on the interface to the next hop associated with this adjacency SID label

In effect, the data path operation is modeled like a swap to an implicit-null label instead of a pop

Next label is a BGP 3107 label

The packet is further processed according to the ILM operation in the current implementation:

  • the BGP label may be popped and the packet looked up in the appropriate FIB

  • the BGP label may be swapped to another BGP label

Next label is a service label

The packet is looked up and forwarded in the Layer 2 or VPRN FIB

A router forwarding an IP or a service packet over an SR tunnel pushes a maximum of two transport labels with a remote LFA next hop. This is illustrated in the following figure.

Figure 13. Transport label stack in shortest path forwarding with segment routing

In the figure, a VPRN service in node B forwards a packet received on a SAP to a destination VPN-IPv4 prefix X advertised by a remote PE2 via ASBR/ABR node A. Router B is in a segment routing domain while PE2 is in an LDP domain. BGP label routes are used to distribute the PE /32 loopbacks between the two domains.

When node B forwards a packet over the primary next hop for prefix X, it pushes the node SID of the ASBR followed by the BGP 3107 label for PE2, followed by the service label for prefix X. When the remote LFA next hop is activated, node B pushes one or more segment routing labels: the node SID for the remote LFA backup node (node N).

When node N receives the packet while the remote LFA next hop is activated, it pops the top segment routing label, which corresponds to a local node SID. Th packet is then forwarded to the ASBR node over the shortest path (link N-Z).

When the ABR/ASBR node receives the packet from either node B or node Z, it pops the segment routing label that corresponds to a local node SID, then swaps the BGP label and pushes the LDP label of PE2, which is the next hop of the BGP label route.

Control protocol changes

IS-IS control protocol changes

New TLV/sub-TLVs are defined in draft-ietf-isis-segment-routing-extensions and are supported in the implementation of segment routing in IS-IS:

  • the prefix SID sub-TLV

  • the adjacency SID sub-TLV

  • the SID/Label Binding TLV

  • SR-Capabilities sub-TLV

  • SR-Algorithm sub-TLV

This section describes the behaviors and limitations of IS-IS support of segment routing TLV and sub-TLVs.

The 7705 SAR supports advertising the IS-IS router capability TLV (RFC 4971) only for topology MT 0. As a result, the segment routing capability sub-TLV can only be advertised in MT 0, which restricts the segment routing feature to MT 0.

Similarly, if prefix SID sub-TLVs for the same prefix are received in different MT numbers of the same IS-IS instance, only the one in MT 0 is resolved. If the prefix SID index is also duplicated, an error is logged and a trap is generated, as described in Error and resource exhaustion handling.

The I and V flags are both set to 1 when originating the SR capability sub-TLV to indicate support for processing both SR MPLS-encapsulated IPv4 and IPv6 packets on its network interfaces. These flags are not checked when the sub-TLV is received. Only the SRGB range is processed.

Both IPv4 and IPv6 prefix and adjacency SID sub-TLVs originate within MT 0.

The 7705 SAR originates a single prefix SID sub-TLV per IS-IS IP reachability TLV and processes the first prefix SID sub-TLV only if multiple SID sub-TLVs are received within the same IS-IS IP reachability TLV.

The 7705 SAR encodes the 32-bit index in the prefix SID sub-TLV. The 24-bit label is not supported.

The 7705 SAR originates a prefix SID sub-TLV with the following encoding of the flags and the following processing rules:

  • The R-flag is set if the prefix SID sub-TLV, along with its corresponding IP reachability TLV, is propagated between levels. See below for more details about prefix propagation.

  • The N-flag is always set because the 7705 SAR supports prefix SID of type node SID only.

  • The P-flag (no-PHP flag) is always set, meaning that the label for the prefix SID is pushed by the PHP router when forwarding to this router. The 7705 SAR PHP router properly processes a received prefix SID with the P-flag set to zero and uses implicit-null for the outgoing label toward the router that advertised it as long as the P-flag is also set to 1.

  • The E-flag (Explicit-Null flag) is always set to 0. A 7705 SAR PHP router, however, properly processes a received prefix SID with the E-flag set to 1, and when the P-flag is also set to 1, it pushes explicit-null for the outgoing label toward the router that advertised it.

  • The V-flag is always set to 0 to indicate an index value for the SID.

  • The L-flag is always set to 0 to indicate that the SID index value is not locally significant.

  • A router that receives the TLV advertisement leaks it between IS-IS levels 1 and 2. If leaked from level 2 to level 1, the D-flag must be set; this prevents the TLV from being leaked back into level 2.

  • The A-flag is used to indicate that a prefix for which the mapping server prefix SID is advertised is directly attached.

  • The M-flag is used to advertise a SID for a mirroring context to provide protection against the failure of a service node.

  • The algorithm field is set to 0 to indicate that the shortest path first (SPF) algorithm based on link is used when originating the SR-Algorithm capability sub-TLV but is not checked when the sub-TLV is received.

  • The 7705 SAR still resolves a prefix SID sub-TLV received without the N-flag set but with the prefix length equal to 32. However, a trap is raised by IS-IS.

  • The 7705 SAR will not resolve a prefix SID sub-TLV received with the N-flag set and a prefix length not equal to 32. A trap is raised by IS-IS.

  • The 7705 SAR resolves a prefix SID received within a IP reachability TLV based on the following route preference:

    • a SID received via level 1 in a prefix SID sub-TLV part of IP reachability TLV

    • a SID received via level 2 in a prefix SID sub-TLV part of IP reachability TLV

  • A prefix received in an IP reachability TLV is propagated, along with the prefix SID sub-TLV, by default from level 1 to level 2 by a level 1/2 router. A router in level 2 sets up an SR tunnel to the level 1 router via the level 1/2 router, which acts as an LSR.

  • A prefix received in an IP reachability TLV is not propagated, along with the prefix SID sub-TLV, by default from level 2 to level 1 by a level 1/2 router. If the user adds a policy to propagate the received prefix, a router in L1 sets up an SR tunnel to the level 2 router via the level1/2 router, which acts as an LSR.

  • If a prefix is summarized by an ABR, the prefix SID sub-TLV is not propagated with the summarized route between levels. To propagate the node SID for a /32 prefix, route summarization must be disabled.

  • The 7705 SAR propagates the prefix SID sub-TLV when exporting the prefix to another IS-IS instance; however, it does not propagate it if the prefix is exported from a different protocol. Therefore, when the corresponding prefix is redistributed from another protocol such as OSPF, the prefix SID is removed.

The 7705 SAR originates an adjacency SID sub-TLV with the following encoding of the flags:

  • the F-flag is set to 0 to indicate the IPv4 family and is set to 1 to indicate an IPv6 family for the adjacency encapsulation

  • the B-flag is set to 0 and is not processed on receipt

  • the V-flag is always set to 1

  • the L-flag is always set to 1

  • the S-flag is set to 0 because assigning an adjacency SID to parallel links between neighbors is not supported. A received adjacency SID with the S-flag set is not processed.

  • the weight octet is not supported and is set to all 0s.

The 7705 SAR can originate the SID/Label Binding TLV as part of the mapping server feature functionality (see Segment routing mapping server for IPv4 /32 prefixes (IS-IS) for more information) and can also process the TLV if received. The following behavior applies:

  • Only the mapping server prefix SID sub-TLV within the TLV is processed. The ILMs are installed if the prefixes in the provided range are resolved.

  • If the same prefix is advertised with both a prefix SID sub-TLV and a mapping server Prefix SID sub-TLV, the resolution follows the following route preference:

    • a SID received via level 1 in a prefix SID sub-TLV that is part of an IP reachability TLV

    • a SID received via level 2 in a prefix SID sub-TLV that is part of an IP reachability TLV

    • a SID received via level 1 in a mapping server prefix SID sub-TLV

    • a SID received via level 2 in a mapping server prefix SID sub-TLV

  • The range and FEC prefix fields are processed. Each FEC prefix is resolved in the same way as the prefix SID sub-TLV; that is, there must be an IP reachability TLV received for the exact matching prefix in order for it to be resolved.

  • The entire TLV can be propagated between levels based on the settings of the S-flag. The TLV cannot be propagated between IS-IS instances (see Segment routing mapping server for IPv4 /32 prefixes (IS-IS) for more information).

    A level 1/2 router is not propagated with the prefix SID sub-TLV from the SID/Label Binding TLV, which is received from a mapping server, into the IP reachability TLV if the SID/Label Binding TLV is propagated between levels.

  • The mapping server that advertises the SID/Label Binding TLV does not need to be in the shortest path for the FEC prefix.

  • If the same FEC prefix is advertised in multiple binding TLVs by different routers, the SID in the binding TLV of the first reachable router is used. If that router becomes unreachable, the next reachable one is used.

  • No check is performed to determine whether the contents of the binding TLVs from different mapping servers are consistent.

  • Any other sub-TLV, such as the ERO metric or unnumbered interface ID ERO SID/Label sub-TLV, is ignored. However, a user can get an output of the octets of the received but unsupported sub-TLVs by using the IGP show command.

OSPF control protocol changes

New TLV/sub-TLVs are defined in draft-ietf-ospf-segment-routing-extensions-04 and are required for the implementation of segment routing in OSPF:

  • the prefix SID sub-TLV part of the OSPFv2 Extended Prefix TLV

  • the prefix SID sub-TLV part of the OSPFv2 Extended Prefix Range TLV

  • the adjacency SID sub-TLV part of the OSPFv2 Extended Link TLV

  • SID/Label Range Capability TLV

  • SR-Algorithm Capability TLV

This section describes the behaviors and limitations of OSPF support of segment routing TLV and sub-TLVs.

The 7705 SAR originates a single prefix SID sub-TLV per OSPFv2 Extended Prefix TLV and processes the first one only if multiple prefix SID sub-TLVs are received within the same OSPFv2 Extended Prefix TLV.

The 7705 SAR encodes the 32-bit index in the prefix SID sub-TLV. The 24-bit label or variable IPv6 SID is not supported.

The 7705 SAR originates a prefix SID sub-TLV with the following encoding of the flags:

  • The NP-flag is always set, meaning that the label for the prefix SID is pushed by the PHP router when forwarding to this router. The 7705 SAR PHP router properly processes a received prefix SID with the NP-flag set to 0 and uses implicit-null for the outgoing label toward the router that advertised it.

  • The M-flag is never set because the 7705 SAR does not support originating a mapping server prefix SID sub-TLV.

  • The E-flag is always set to 0. The 7705 SAR PHP router properly processes a received prefix SID with the E-flag set to 1, and when the NP-flag is also set to 1, it pushes explicit-null for the outgoing label toward the router that advertised it.

  • The V-flag is always set to 0 to indicate an index value for the SID.

  • The L-flag is always set to 0 to indicate that the SID index value is not locally significant.

  • The algorithm field is always set to 0 to indicate that the shortest path first (SPF) algorithm based on link metric is used and is not checked on a received prefix SID sub-TLV.

The 7705 SAR resolves a prefix SID received within an Extended Prefix TLV based on the following route preference:

  • SID received via an intra-area route in a prefix SID sub-TLV part of Extended Prefix TLV

  • SID received via an inter-area route in a prefix SID sub-TLV part of Extended Prefix TLV

The 7705 SAR originates an adjacency SID sub-TLV with the following encoding of the flags:

  • The F-flag is not set to indicate that the Adjacency SID refers to an adjacency with outgoing IPv4 encapsulation.

  • The B-flag is set to 0 and is not processed on receipt.

  • The V-flag is always set.

  • The L-flag is always set.

  • The S-flag is not supported.

  • The weight octet is not supported and is set to all 0s.

The 7705 SAR does not originate the OSPFv2 Extended Prefix Range TLV but can process it properly if received. The following rules and limitations should be considered:

  • Only the prefix SID sub-TLV within the TLV is processed and the ILMs installed if the prefixes are resolved.

  • The range and address prefix fields are processed. Each prefix is resolved separately.

  • Any other sub-TLV, for example, the ERO metric and unnumbered interface ID ERO, is ignored, but the user can get a list of the octets of the received but not supported sub-TLVs using the existing IGP show command.

The 7705 SAR supports propagation on the ABR of external prefix LSAs into other areas with the route type set to 3 as per draft-ietf-ospf-segment-routing-extensions-04.

The 7705 SAR supports propagation on the ABR of external prefix LSAs with route type 7 from an NSSA area into other areas with route type set to 5 as per draft-ietf-ospf-segment-routing-extensions-04. The 7705 SAR does not support propagation of the prefix SID sub-TLV in OSPF.

When the user configures an OSPF import policy, the outcome of the policy applies to prefixes resolved in the RTM and the corresponding tunnels in the TTM. A prefix removed by the policy will not appear as both a route in the RTM and as an SR tunnel in the TTM.

BGP label route resolution using segment routing tunnel

The resolution of RFC 3107 BGP label route prefixes using SR tunnels to BGP next hops in the TTM is enabled with the following command:

CLI syntax:
configure>router>bgp>next-hop-resolution
    label-routes-transport-tunnel
        [no] family {vpn | label-ipv4}
            resolution {any | filter | disabled}
            resolution-filter
                [no] ldp 
                [no] rsvp 
                [no] sr-isis
                [no] sr-ospf
                [no] sr-te 
            exit
        exit
    exit

If the resolution option is explicitly set to disabled, the default binding to LDP tunnels resumes. If resolution is set to any, any supported tunnel type in the BGP label route context is selected following the TTM preference. If resolution is set to filter, the resolution-filter option is used.

The following tunnel types are supported in a BGP label route context and in order of preference: RSVP, SR-TE, LDP, SR-OSPF, and SR-ISIS.

If the sr-isis or sr-ospf option is specified using the resolution-filter option, a tunnel to the BGP next hop is selected in the TTM from the lowest-numbered IS-IS instance or from OSPF.

See the BGP chapter for more details.

Service packet forwarding with segment routing

SDP subtypes of the MPLS type are available to allow service binding to an SR tunnel programmed in the TTM by OSPF or IS-IS:

CLI syntax:
configure>service>sdp sdp-id mpls create 
    sr-ospf
    sr-isis

The SDP of type sr-isis or sr-ospf can be used with the far-end option. When the sr-isis or sr-ospf option is enabled, a tunnel to the far-end address is selected in the TTM from the lowest-preference IS-IS instance or from OSPF. If multiple instances have the same lowest preference, the lowest-numbered IS-IS instance is selected. The SR-ISIS or SR-OSPF tunnel is selected at the time of the binding, following the tunnel selection rules. If a more preferred tunnel is subsequently added to the TTM, the SDP will not automatically switch to the new tunnel until the next time the SDP is being resolved.

The signaling protocol for the service labels for an SDP using an SR tunnel can be configured to static (off) or T-LDP (tldp), or BGP (bgp).

SR tunnels can be used in VPRN services and BGP EVPN with the auto-bind-tunnel command. See Next-hop resolution of BGP labeled routes to tunnels for more information.

Both VPN-IPv4 and VPN-IPv6 (6VPE) are supported in a VPRN service or BGP EVPN using segment routing transport tunnels with the auto-bind-tunnel command.

For more information about the VPRN auto-bind-tunnel command, see the 7705 SAR Services Guide, "VPRN auto-binding tunnels".

The following are the service contexts that are supported with SR tunnels:

  • VLL, LDP VPLS, IES/VPRN spoke-SDP interfaces, and r-VPLS

  • Intra-AS BGP VPRN for VPN-IPv4 and VPN-IPv6 prefixes with both autobind and explicit SDP

The following service contexts are not supported:

  • inter-AS VPRN

  • dynamic MS-PW, PW-switching

Segment routing mapping server for IPv4 /32 prefixes (IS-IS)

The mapping server feature allows the configuration and advertisement via IS-IS of the node SID index for prefixes of routers which are in the LDP domain. This functionality is performed in the router acting as a mapping server and using a prefix SID sub-TLV within the SID/Label Binding TLV in IS-IS.

For more information about prefix SID sub-TLVs and SID/Label Binding TLVs, as well as information on the setting of the various types of flags associated with IS-IS support of SR TLV and sub-TLVs, see IS-IS control protocol changes. For more information about LDP-to-SR stitching, see the 7705 SAR MPLS Guide, ‟LDP-to-Segment Routing Stitching for IPv4 /32 Prefixes (IS-IS)”.

An SR mapping server is configured using the following CLI commands:

CLI syntax:
configure
    router
        isis
            segment-routing
                mapping-server
                    sid-map node-sid {index value [range value]} prefix {ip-address/mask | ip-address netmask} [set-flags {s}] [level {1|2|1/2}]

A user can enter the node-sid index for one prefix or a range of prefixes by specifying the index value or a value range. Only the first prefix in a consecutive range of prefixes must be entered. If the user enters the first prefix with a mask lower than 32, the SID/Label Binding TLV is advertised but the router does not resolve the prefix SIDs; a trap is originated instead.

The user can configure the S-flag using the set-flags option to indicate to the IS-IS network routers that the flooding of the SID/Label Binding TLV applies to the entire domain. A router that receives the TLV advertisement leaks it between IS-IS levels 1 and 2. If leaked from level 2 to level 1, the D-flag must be set; this prevents the TLV from being leaked back into level 2. The S-flag is not defined by default; if it is not configured, the TLV is not leaked by routers receiving the mapping server advertisement.

The user can specify the mapping server’s flooding scope for the generated SID/Label Binding TLV using the level option. The default flooding scope of the mapping server is level 1/2.

Note: The 7705 SAR does not leak the SID/Label Binding TLV between IS-IS instances.

Each time a prefix or a range of prefixes is configured in the SR mapping database in any routing instance, the router issues a prefix SID sub-TLV within an IS-IS SID/Label Binding TLV for the prefix or range of prefixes. The flooding scope of the TLV from the mapping server is determined as described above. No further check of the reachability of that prefix in the mapping server route table is performed, and no check is done to determine if the SID index is a duplicate of an existing prefix in the local IGP instance database or if the SID index is out of range with the local SRGB.

An SR-capable router, including the mapping server and its clients, attempts to resolve each received prefix SID to either an SR tunnel endpoint or an LDP tunnel endpoint. See Prefix SID resolution for a segment routing mapping server.

Mirror services

A spoke SDP can be bound to an SR tunnel to forward mirrored packets from a mirror source to a remote mirror destination. In the configuration of the mirror destination service at the destination node, the remote-source command must use a spoke SDP with a VC-ID that matches the one configured in the mirror destination service at the mirror source node. The far-end option is not supported with an SR tunnel.

Configuration at mirror source node:

CLI syntax:
config mirror mirror-dest 10
    no spoke-sdp sdp-id:vc-id 
    spoke-sdp sdp-id:vc-id [create]
        egress
            vc-label egress-vc-label
Note:
  • The sdp-id matches an SDP that uses an SR tunnel.

  • For vc-label, both static and T-LDP egress VC labels are supported.

Configuration at mirror destination node:

CLI syntax:
configure mirror mirror-dest 10 remote-source
    spoke-sdp sdp-id:vc-id create <--- vc-id matching that of spoke-sdp configured in mirror destination context at mirror source node
        ingress
            vc-label ingress-vc-label 
        exit
        no shutdown
    exit
exit
Note:
  • The far-end command is not supported with an SR tunnel at the mirror destination node; the user must reference a spoke SDP using a segment routing SDP coming from the mirror source node:

    • far-end ip-address [vc-id vc-id] [ing-svc-label ingress-vc-label | tldp] [icb]

    • no far-end ip-address

  • For vc-label, both static and T-LDP ingress VC labels are supported.

Mirroring is also supported with the PW redundancy feature when the endpoint spoke SDP, including the ICB, is using an SR tunnel.

Multi-instance IS-IS (MI-IS-IS)

The 7705 SAR routers support multiple IS-IS instances. There is one default (base) instance. The remaining (non-default) instances must be specified with an isis-instance value.

The default (base) and non-default MI-IS-IS instances use the following MAC addresses:

  • default instance, as per the ISO 10589 standard:

    • 01-80-C2-00-00-14 for all level 1 routers (AllL1IS)

    • 01-80-C2-00-00-15 for all level 2 routers (AllL2IS)

  • non-default instances, as per draft-ietf-isis-mi-02, IS-IS Multi-Instance:

    • 01-00-5E-90-00-02 for all level 1 routers (AllL1MI-ISs)

    • 01-00-5E-90-00-03 for all level 2 routers (AllL2MI-ISs)

      Note: On the 7705 SAR, all non-default instances use the same MAC address for routers at the same level, which is different multicast MAC address from the base instance. The non-default MAC address is not user-configurable and is permanently set.

All IS-IS instances on a 7705 SAR populate the same router information base (RIB).

To use the same router interface in more than one IS-IS instance, use the iid-tlv-enable command. When the iid-tlv-enable command is issued, the instance ID (IID) is included in all IS-IS PDUs so that the far-end router knows which instance will receive the packet.

IPv6 support

IS-IS for IPv6 routing supports two modes: single topology (native) and multitopology. For information about multitopology, see Multitopology IS-IS. In native mode, IPv6 routing information is exchanged in IS-IS using the following TLVs contained in the LSP:

  • IPv6 reachability TLV

  • IPv6 interface address TLV

For detailed information, see RFC 5308, Routing IPv6 with IS-IS.

IPv4 and IPv6 routing can be run at the same time in an area. However, because one SPF calculation is performed per level to compute the routes, the IPv4 and IPv6 topologies must be the same. That is, both IPv4 and IPv6 addresses must be configured on all router interfaces in an area; otherwise, traffic may be blackholed. For example, if the SPF calculation includes a link that is not configured with an IPv6 address, IPv6 traffic will be blackholed over that link.

Bidirectional forwarding detection (BFD) for IS-IS

BFD is a simple protocol for detecting failures in a network. BFD uses a ‟hello” mechanism that sends control messages periodically to the far end and receives periodic control messages from the far end. BFD can detect device, link, and protocol failures.

When BFD is enabled on an IS-IS interface, the state of the interface is tied to the state of the BFD session between the local node and remote (far-end) node. BFD is implemented in asynchronous mode only (similar to a heartbeat message), meaning that neither end responds to control messages; rather, the messages are sent in the interval configured at each end.

If the configured number of consecutive BFD missed messages is reached, the link is declared down and IS-IS takes the appropriate action (for example, generates a link-state PDU (LSP) against the failed link or reroutes around the failed link).

Due to the lightweight nature of BFD, the frequency of BFD packets can be relatively high (up to 10 per second); therefore, it can detect failures faster than other detection protocols, making it ideal for use in applications such as mobile transport.

LDP and IP fast reroute (FRR) for IS-IS prefixes

LDP fast reroute (FRR) provides local protection for an LDP FEC by precalculating and downloading a primary and a backup NHLFE for the FEC to the LDP FIB. The primary NHLFE corresponds to the label of the FEC received from the primary next hop as per the standard LDP resolution of the FEC prefix in the RTM. The backup NHLFE corresponds to the label received for the same FEC from a loop-free alternate (LFA) next hop.

LDP FRR improves convergence in case of a local link or node failure in the network, by using the label-FEC binding received from the LFA next hop to forward traffic for a given prefix as soon as the primary next hop is not available. This means that a router resumes forwarding LDP packets to a destination prefix using the backup path without waiting for the routing convergence.

IP fast reroute (FRR) protects against link or node failures in an IP network by precalculating a backup route to use when the primary next hop is not available. Both routes are populated in the RTM. IP FRR uses an LFA backup next hop to forward in-transit and CSM-generated IP packets as soon as the primary next-hop failure is detected and the backup is invoked. This means that a node resumes forwarding IP packets to a destination prefix without waiting for the routing convergence.

See RFC 5286, Basic Specification for IP Fast Reroute: Loop-Free Alternates, for more information about LFAs.

See the 7705 SAR MPLS Guide ‟LDP Fast Reroute (FRR)” for more information about LDP FRR and the 7705 SAR Router Configuration Guide, ‟IP Fast Reroute (FRR)” for more information about IP FRR.

LFAs are supported on IPv4 IS-IS prefixes and on inter-level IS-IS prefixes. LFAs are also supported on IPv4 and IPv6 OSPF prefixes, VPN IPv4 OSPF prefixes, and on inter-area OSPF prefixes. For information about LFA support for OSPF prefixes, see LDP and IP fast reroute (FRR) for OSPF prefixes.

IP FRR also provides an LFA backup next hop for the destination prefix of a GRE tunnel used in an SDP or in VPRN autobind.

LFA calculations

In addition to performing the shortest path first (SPF) calculation of the primary next hop, IS-IS must calculate a backup next hop for all prefixes used by LDP to resolve FECs and for all prefixes used by IP to forward packets. The backup next hops are calculated to provide single link or node protection and to guarantee that when a failure occurs, forwarding traffic through the backup next hop will not result in a loop. These backup next hops are called Loop-Free Alternates (LFAs).

In general, in order to calculate LFAs for a specific destination (D), a router must know the following information:

  • the shortest-path distance from the calculating router (source) to the destination (SP(S,D))

  • the shortest-path distance from the router’s IS-IS neighbors to the destination (SP(N,D))

  • the shortest-path distance from the router’s IS-IS neighbors to itself (SP(N,S))

A neighbor (N) can provide an LFA only if:

SP(N,D) < SP(N,S) + SP(S,D)

This is known as loop-free criterion.

The following figure shows an example of a backup route resulting in a microloop. In the example, PE-1 uses PE-2 as its next hop to reach PE-3. The total cost to reach PE-3 via PE-2 is 9. If the link between PE-1 and PE-2 fails, PE-1 can try to use PE-4 as its next hop to reach PE-3. However, the metric between PE-4 and PE-3 is 30. From the perspective of PE-4, forwarding traffic via the PE-1 and PE-2 path to PE-3 is more viable, as the cost is 17 (8 + 5 + 4) versus the direct link cost of 30. Therefore, if PE-1 forwards the traffic to PE-4 in order to reach PE-3, PE-4 forwards it back to PE-1, creating a microloop, until the routing protocols converge and declare the link between PE-1 and PE-2 to be down. PE-4 would then be forced to take the direct PE-3 link to reach PE-3 as there is no other alternative. Because PE-4 does not meet the loop-free criterion, it cannot be used as a valid LFA.

Figure 14. Backup routes resulting in microloops

The following figure shows an example of an LFA backup route. In this example, PE-1 again uses PE-2 as its next hop to reach PE-3. The total cost to reach PE-3 via PE-2 is 9. If the link between PE-1 and PE-2 fails, PE-1 can use PE-4 to reach PE-3. From the perspective of PE-4, the direct route to PE-3 is a viable route, as the cost is 3 versus the cost of forwarding traffic via PE-1 (17). Using the direct route does not cause microloops and meets the loop-free criterion; therefore, PE-4 can be used as a valid LFA.

Figure 15. LFA backup route

Selection algorithm

For a point-to-point interface, if SPF finds multiple LFA next hops for a given primary next hop, the selection algorithm is as follows:

  1. SPF will pick the node-protect type over the link-protect type.

  2. If there is more than one LFA next hop within the selected type, it will pick one based on the least cost.

  3. If there is more than one LFA next hop with the same cost, SPF will select the first one. This is not a deterministic selection and will vary for each SPF calculation.

For a broadcast interface, a node-protect LFA is not necessarily a link-protect LFA if the path to the LFA next hop goes over the same pseudonode as the primary next hop. Similarly, a link-protect LFA may not guarantee link protection if it goes over the same pseudonode as the primary next hop.

When SPF finds multiple LFA next hops for a given primary next hop, the selection algorithm is as follows:

  1. The algorithm splits the LFA next hops into two sets:

    • the first set consists of LFA next hops that do not go over the pseudonode used by the primary next hop

    • the second set consists of LFA next hops that do go over the pseudonode used by the primary next hop

  2. If there is more than one LFA next hop in the first set, it will pick the node-protect type over the link-protect type.

  3. If there is more than one LFA next hop within the selected type, it will pick one based on the least cost.

  4. If there is more than one LFA next hop with the same cost, SPF will select the first one from the remaining set. This is not a deterministic selection and will vary for each SPF calculation.

  5. If no LFA next hop results from step 4, SPF will rerun steps 2 to 4 using the second set.

Note: A node-protect LFA that does not guarantee link protection can still be selected as a last resort; as well, a link-protect LFA that does not guarantee node protection can still be selected as a last resort.

Both the calculated primary next hop and LFA next hop for a particular prefix are programmed into the RTM.

LFA configuration

To enable LFA for IS-IS prefixes, enter the following command at the IS-IS instance level:

config>router>isis>loopfree-alternates

Next, enable FRR for LDP or IP by entering the following commands:

config>router>ldp>fast-reroute

config>router>ip-fast-reroute

These commands instruct the IS-IS SPF algorithm to precalculate a primary next hop and LFA next hop for every learned prefix in order to provide FRR to LDP FEC packets or IP packets.

To exclude all interfaces within a specific IS-IS level or to exclude a specific IP interface from being included in the LFA SPF calculation, enter the following commands:

config>router>isis>level>loopfree-alternate-exclude

config>router>isis>interface>loopfree-alternate-exclude

If IGP shortcuts are also enabled, any LSPs with a destination address in that IS-IS level are not included in the LFA SPF calculation.

If an interface is excluded from the LFA SPF in IS-IS, it is excluded in both level 1 and level 2.

IGP shortcuts (RSVP-TE tunnels)

Microloops, especially in ring topologies, are typically unavoidable. As the number of nodes in a ring increases, the chance of microloops occurring also increases. In cases where a valid directly connected next hop cannot be ensured, remote LFAs can be used. Remote LFAs are non-directly connected LFA next hops that are reached via IGP shortcuts.

IGP shortcuts are an MPLS functionality where LSPs are treated like physical links within IGPs; that is, LSPs can be used for next-hop reachability. If an RSVP-TE LSP is used as a shortcut by OSPF or IS-IS, it is included in the SPF calculation as a point-to-point link for both primary and LFA next hops. It can also be advertised to neighbors so that the neighboring nodes can also use the links to reach a destination via the advertised next hop.

IGP shortcuts can be used to simplify remote LFA support and simplify the number of LSPs required in a ring topology.

IGP shortcut functionality provides two options:

  • LFA-protect option

    This option allows an LSP to be included in both the main SPF and the loop-free alternate (LFA) SPF algorithm. For a specific prefix, the LSP can be used either as a primary next hop or as an LFA next hop, but not both. If the main SPF calculation selects a tunneled primary next hop for a prefix, the LFA SPF calculation will not select an LFA next hop for this prefix and the protection of this prefix will rely on the RSVP LSP FRR protection.

    If the main SPF calculation selects a direct primary next hop, the LFA SPF calculation will select an LFA next hop for this prefix but will prefer a direct LFA next hop over a tunneled LFA next hop.

  • LFA-only option

    This option allows an LSP to be included in the LFA SPF algorithm only, which means that the introduction of IGP shortcuts does not affect the main SPF decision. For a specific prefix, the main SPF calculation always selects a direct primary next hop. The LFA SPF calculation will select an LFA next hop for this prefix but will prefer a direct LFA next hop over a tunneled LFA next hop.

Selection algorithm

If there are multiple LFA next hops for a primary next hop, the selection algorithm is as follows:

  1. The algorithm splits the LFA next hops into two sets:

    • the first set consists of direct LFA next hops

    • the second set consists of tunneled LFA next hops after excluding the LSPs that use the same outgoing interface as the primary next hop

  2. The algorithm continues with the first set if it is not empty; otherwise, it continues with the second set.

  3. If the second set is used, the algorithm selects the tunneled LFA next hop whose endpoint corresponds to the node advertising the prefix:

    • if more than one tunneled next hop exists, it selects the one with the lowest LSP metric

    • if more than one tunneled next hop still exists, it selects the one with the lowest tunnel ID

    • if none is available, it continues with rest of the tunneled LFAs in the second set

  4. Within the selected set, the algorithm splits the LFA next hops into two sets:

    • the first set consists of LFA next hops that do not go over the pseudonode used by the primary next hop

    • the second set consists of LFA next hops that go over the pseudonode used by the primary next hop

  5. If there is more than one LFA next hop in the selected set, it will pick the node-protect type over the link-protect type.

  6. If there is more than one LFA next hop within the selected type, it will pick one based on the least total cost for the prefix. For a tunneled next hop, that means the LSP metric plus the cost of the LSP endpoint to the destination of the prefix.

  7. If there is more than one LFA next hop within the selected type in the first set (ECMP is configured), it will select the first direct next hop from the remaining set. This is not a deterministic selection and will vary for each SPF calculation.

  8. If there is more than one LFA next hop within the selected type in the second set (ECMP is configured), it will pick the tunneled next hop with the lowest cost from the endpoint of the LSP to the destination prefix. If there remains more than one next hop, it will pick the tunneled next hop with the lowest tunnel ID.

Forwarding adjacency

The forwarding adjacency feature allows IS-IS to advertise an RSVP-TE LSP as a link so that other routers in the network can include it in the SPF calculations. The RSVP-TE is advertised as an unnumbered point-to-point link and the link-state PDU (LSP) has no traffic engineering opaque sub-TLVs as per RFC 3906, Calculating Interior Gateway Protocol (IGP) Routes Over Traffic Engineering Tunnels.

The forwarding adjacency feature can be enabled independently from the IGP shortcut feature. If both features are enabled for an IS-IS instance, forwarding adjacency takes precedence.

When forwarding adjacency is enabled, each node advertises a point-to-point unnumbered link for each best-metric tunnel to the router ID of any endpoint node. The node does not include the tunnels as IGP shortcuts in the SPF calculation directly. Instead, when the LSP advertising the corresponding point-to-point unnumbered link is installed in the local routing database, the node performs an SPF calculation using the link like any other link LSP. The link bidirectional check requires that a regular link or tunnel link exist in the reverse direction for the tunnel to be used in SPF calculations.

IGP shortcut configuration

To enable the use of IGP shortcuts by IS-IS, enter the following command at the IS-IS instance level:

config>router>isis>rsvp-shortcut

To enable forwarding adjacency, enter the following command at the IS-IS instance level:

config>router>isis>advertise-tunnel-link

To enable the use of an RSVP-TE LSP by IS-IS as a shortcut or as a forwarding adjacency for resolving IGP routes, enter the following command:

config>router>mpls>lsp>igp-shortcut

When the rsvp-shortcut or advertise-tunnel-link option is enabled at the IS-IS instance level, all RSVP-TE LSPs originating on this node are eligible by default as long as the destination address of the LSP, as configured with the config>router> mpls>lsp>to command, corresponds to a router ID of a remote node. A specific LSP can be excluded from being used as a shortcut or forwarding adjacency with the no form of the igp-shortcut command.

LFA SPF policies

An LFA SPF policy allows the user to apply specific criteria to the selection of an LFA backup next hop for a subset of prefixes that resolve to a specific primary next hop. The 7705 SAR supports the following LFA SPF policy constraints:

  • admin group

  • shared risk link group (SRLG)

  • protection type

  • next-hop type

A route next-hop policy template must first be created under the global router context. The template contains criteria for the policies in the preceding list.

The template is then applied to prefixes protected by LFA. Each instance of IS-IS can apply the same policy template to one or more prefixes and interfaces. If a template is modified, IS-IS re-evaluates it for any changes and, if necessary, schedules a new LFA SPF to recalculate the LFA next hop for any prefixes associated with the template.

As a related feature, prefixes that match a prefix entry in a prefix policy can be excluded from the LFA SPF calculation. If a prefix is excluded, it is not included in the LFA SPF calculation, regardless of its priority. Prefix policies are created with the config>router>policy-options>prefix-list command (for information about prefix lists, see the 7705 SAR Router Configuration Guide, ‟Route Policies”.

LFA SPF policy configuration

To create a route next-hop policy template, enter the following command:

config>router>route-next-hop-policy template

Configure the template with policy constraints for the items in the preceding list.

Note: To configure constraints for admin groups and SRLG groups, these groups must already be created in the config>router>if-attribute>admin-group and config>router>if-attribute>srlg-group contexts.

Next, apply the template to IS-IS interfaces by entering the following command:

config>router>isis>interface>lfa-policy-map>route-nh-template

The template is applied to all prefixes using the specified interface name.

Optionally, exclude prefixes in a prefix policy from the LFA SPF calculation by entering the following command:

config>router>isis>loopfree-alternates>exclude>prefix-policy

IS-IS configuration process overview

The following figure shows the process to provision basic IS-IS parameters.

Figure 16. IS-IS configuration process

Configuration notes

  • IS-IS must be enabled on each participating 7705 SAR.

  • There are no default NETs.

  • There are no default interfaces.

  • By default, 7705 SAR routers are assigned a level 1/2 capability.

IS-IS configuration overview

The 7705 SAR supports multi-instance IS-IS (MI-IS-IS). For IS-IS to operate on 7705 SAR routers, IS-IS must be explicitly enabled for each instance, and at least one area address and interface must be configured for the instance. If IS-IS is enabled but no area address or interface is configured, no routes are exchanged. When at least one area address and interface are configured, adjacencies can be formed and routes exchanged.

Basic IS-IS configuration

The basic IS-IS configuration tasks that must be performed are:

  • enable IS-IS

  • modify the level capability on the global level from the default level 1/2 (if required)

  • define area addresses

  • configure IS-IS interfaces

The following output displays IS-IS default values:

Dut-B>config>router>isis# info detail
----------------------------------------------
            no router-id
            level-capability level-1/2
            no auth-keychain
            no authentication-key
            no authentication-type
            authentication-check
            csnp-authentication
            no ignore-lsp-errors
            lsp-lifetime 1200
            lsp-mtu-size 1492
            no database-export
            no overload
            no overload-on-boot
            no export
            hello-authentication
            psnp-authentication
            no traffic-engineering
            no reference-bandwidth
            no disable-ldp-sync
            no advertise-router-capability
            no rsvp-shortcut
            no advertise-tunnel-link
            no ignore-attached-bit
            no suppress-attached-bit
            no iid-tlv-enable
            no poi-tlv-enable
            no loopfree-alternates
            ipv4-routing
            no ipv6-routing
            no unicast-import-disable ipv4
            no multicast-import ipv4
            no strict-adjacency-check
            entropy-label
                override-tunnel-elc
            exit
            timers
                lsp-wait 5000 lsp-initial-wait 10 lsp-second-wait 1000
                spf-wait 10000 spf-initial-wait 1000 spf-second-wait 1000
            exit
            level 1
                advertise-router-capability
                no auth-keychain
                no authentication-key
                no authentication-type
                csnp-authentication
                no database-export-exclude
                external-preference 160
                hello-authentication
                no loopfree-alternate-exclude
                preference 15
                psnp-authentication
                no wide-metrics-only
            exit
            level 2
                advertise-router-capability
                no auth-keychain
                no authentication-key
                no authentication-type
                csnp-authentication
                no database-export-exclude
                external-preference 165
                hello-authentication
                no loopfree-alternate-exclude
                preference 18
                psnp-authentication
                no wide-metrics-only
            exit
            segment-routing
                shutdown
                adj-sid-hold 15
                entropy-label enable
                export-tunnel-table ldp
                no prefix-sid-range
                tunnel-table-pref 11
                no tunnel-mtu
                mapping-server
                    shutdown
                exit
            exit
            no shutdown
----------------------------------------------
Dut-B>config>router>isis#

Configuring IS-IS components

Enabling IS-IS

An IS-IS instance must be enabled in order for the protocol to be active. If the isis command is used without an isis-instance specified, the default (‟base”) instance is used.

Note: Careful planning is essential when implementing commands that can affect the behavior of global and interface levels.

To configure an IS-IS instance on a router, enter the following command:

CLI syntax:
config
    router router-name
        isis [isis-instance]

Configuring an IS-IS instance level

When an IS-IS instance is enabled, the global default level capability is level 1/2. This means that the instance operates with both level 1 and level 2 routing capabilities. To change the default value in order for the instance to operate as a level 1 router or a level 2 router only, you must explicitly modify the level-capability value.

Select level-1 to route traffic only within an area. Select level-2 to route traffic to destinations outside an area, toward other eligible level 2 routers.

If the level-capability is modified, the protocol restarts, which will likely affect adjacencies and routes.

The level-capability value can be configured at the global level and on a per-interface level. The level-capability value determines which level values can be assigned on the router instance level or on an interface level.

The level command configures parameters for level 1 or level 2 instances (or both).

To configure the router instance level, enter the following command:

CLI syntax:
config>router# isis [isis-instance] 
    level-capability {level-1 | level-2 | level-1/2}
    level (1 | 2)

The following example displays a level configuration:

A:ALU-A>config>router>isis# info
----------------------------------------------
     level-capability level-1/2
     level 1
          no hello-authentication
          preference 150
     level 2
          preference 200
----------------------------------------------
A:ALU-A>config>router>isis#

If the default value is not modified on any routers in the area, the routers try to form both level 1 and level 2 adjacencies on all IS-IS interfaces. If the default values are modified to level 1 or level 2, the number of adjacencies formed are limited to that level only. See Interface level capability for information about the types of adjacencies that can be established depending on the global and interface level values.

Configuring ISO area addresses

The area-id command specifies the area address portion of the NET, which is used to define the IS-IS area to which the router will belong. At least one area ID must be configured per instance for each router participating in IS-IS; a maximum of three area IDs are supported. Use the following syntax to configure an ISO area address.

For more information about area addresses, see ISO network addressing.

CLI syntax:
config>router# isis [isis-instance]
    area-id area-address

The following example shows the commands to configure the area ID.

Example:
config>router>isis#
config>router>isis# area-id 49.0180.0001
config>router>isis# area-id 49.0180.0002
config>router>isis# area-id 49.0180.0003

The following example displays an area ID configuration:

A:ALU-A>config>router>isis# info
----------------------------------------------
     area-id 49.0180.0001
     area-id 49.0180.0002
     area-id 49.0180.0003
----------------------------------------------
A:ALU-A>config>router>isis#

Configuring global IS-IS parameters

Commands and parameters configured on the global level are inherited by the interface levels. Parameters specified in the interface configuration override the global configuration for that interface.

Use the following syntax to configure global IS-IS parameters:

CLI syntax:
config>router# isis [isis-instance]
    level-capability {level-1 | level-2 | level-1/2}
    [no] authentication-check
    authentication-key {authentication-key|hash-key}[hash | hash2]
    authentication-type {password | message-digest}
    overload [timeout seconds] [max-metric]
    overload-on-boot [timeout seconds] [max-metric]
    traffic-engineering

The following example displays a global level configuration:

A:ALU-A>config>router>isis# info
----------------------------------------------
     level-capability level-2
     area-id 49.0180.0001
     area-id 49.0180.0002
     area-id 49.0180.0003
     authentication-key "H5vv6WrAAQU" hash
     authentication-type password
     overload timeout 90
     overload-on-boot timeout 90
     traffic-engineering
----------------------------------------------
A:ALU-A>config>router>isis#

Configuring interface parameters

By default, there are no interfaces associated with IS-IS. You must configure at least one IS-IS interface in order for IS-IS to work. An interface belongs to all areas configured on a router. Interfaces cannot belong to separate areas.

To enable IS-IS on an interface, first configure an IP interface in the config>router>interface context. Then, apply the interface in the config>router>isis>interface context.

The level-capability value can be configured on an interface. The default value is level 1/2. You can configure both level 1 parameters and level 2 parameters on an interface. The level-capability value determines which level values are used.

Note: For point-to-point interfaces, only the values configured under level 1 are used, regardless of the operational level of the interface.

Use the following syntax to configure interface parameters:

CLI syntax:
config>router# isis [isis-instance]
    level {1 | 2}
        [no] wide-metrics-only
    interface ip-int-name
        level-capability {level-1 | level-2 | level-1/2}
        mesh-group [value | blocked]
        interface-type {broadcast | point-to-point}

The following example displays a global level and interface configuration:

----------------------------------------------
A:ALU-A>config>router>isis# info
     level-capability level-2
     area-id 49.0180.0001
     area-id 49.0180.0002
     area-id 49.0180.0003
     authentication-key "H5vv6WrAAQU" hash
     authentication-type password
     traffic-engineering
     level 1
          wide-metrics-only
     exit
     level 2
          wide-metrics-only
     exit
     interface "system"
     exit
     interface "ALU-1-2"
          level-capability level-2
          mesh-group 85
     exit
     interface "ALU-1-3"
          level-capability level-1
          interface-type point-to-point
          mesh-group 101
     exit
     interface "ALU-1-5"
          level-capability level-1
          interface-type point-to-point
          mesh-group 85
     exit
     interface "to-103"
          mesh-group 101
     exit
----------------------------------------------
A:ALU-A>config>router>isis#

Example 1: configuring a level 1 area

Interfaces are configured in the config>router>interface context. The following figure shows a level 1 area configuration.

Figure 17. Configuring a level 1 area

The following example shows the commands to configure a level 1 area:

Example:
A:ALU-A>config>router# isis
    ..>isis# area-id 49.0180.0001 
    ..>isis# level-capability level-1
    ..>isis# interface system
    ..>isis>if# exit
    ..>isis# interface ‟A-B”
    ..>isis>if# exit
    ..>isis# interface ‟A-C”
    ..>isis>if# exit
    ..>isis#
A:ALU-B>config>router# isis
    ..>isis# area-id 49.0180.0001 
    ..>isis# level-capability level-1
    ..>isis# interface system
    ..>isis>if# exit
    ..>isis# interface ‟B-A”
    ..>isis>if# exit
    ..>isis# interface ‟B-C”
    ..>isis>if# exit
    ..>isis#
A:ALU-C>config>router# isis
    ..>isis# area-id 49.0180.0001 
    ..>isis# level-capability level-1
    ..>isis# interface system
    ..>isis>if# exit
    ..>isis# interface "C-A"
    ..>isis>if# exit
    ..>isis# interface "C-B"
    ..>isis>if# exit

The following example displays a level 1 area configuration:

A:ALU-A>config>router>isis# info
----------------------------------------------
     level-capability level-1
     area-id 49.0180.0001
     interface "system"
     exit
     interface "A-B"
     exit
     interface "A-C"
     exit
----------------------------------------------
A:ALU-A>config>router>isis#

A:ALU-B>config>router>isis# info
----------------------------------------------
     level-capability level-1
     area-id 49.0180.0001
     interface "system"
     exit
     interface "B-A"
     exit
     interface "B-C"
     exit
----------------------------------------------
A:ALU-B>config>router>isis#

A:ALU-C>config>router>isis# info
#------------------------------------------
echo "ISIS"
----------------------------------------------
     level-capability level-1
     area-id 49.0180.0001
     interface "system"
     exit
     interface "C-A"
     exit
     interface "C-B"
     exit
----------------------------------------------
A:ALU-C>config>router>isis#

Example 2: modifying router level capability

In the previous example, ALU-A, ALU-B, and ALU-C are configured as level 1 systems. Level 1 systems communicate with other level 1 systems in the same area. In this example, ALU-A is modified to set the level capability to level 1/2. Now the level 1 systems in the area with NET 49.0180.0001 forward PDUs to ALU-A for destinations that are not in the local area, as shown in the following figure.

Figure 18. Configuring a level 1/2 area

The following example shows the commands to configure a level 1/2 area for ALU-A:

Example:
A:ALU-A>config>router# isis
    ..>isis# level-capability level-1/2

Interface level capability

The level capability value configured on the interface level is compared to the level capability value configured on the global level to determine the type of adjacencies that can be established. The default value for 7705 SAR routers and interfaces is level 1/2. The following table lists capability combinations and the potential adjacencies that can be formed.

Table 4. Potential adjacency capabilities

Global level

Interface level

Potential adjacency

Level 1/2

Level 1/2

Level 1 or level 2 (or both)

Level 1/2

Level 1

Level 1 only

Level 1/2

Level 2

Level 2 only

Level 2

Level 1/2

Level 2 only

Level 2

Level 2

Level 2 only

Level 2

Level 1

None

Level 1

Level 1/2

Level 1 only

Level 1

Level 2

None

Level 1

Level 1

Level 1 only

Configuring authentication

Authentication must be explicitly configured and can be done using two separate mechanisms:

  • configuration of an explicit authentication key and algorithm using the authentication-key and authentication-type commands in the IS-IS global or IS-IS level contexts; configuration of a Hello PDU authentication key using the hello-authentication-key and hello-authentication-type commands in the IS-IS interface and IS-IS interface level contexts

  • configuration of an authentication keychain using the auth-keychain command in the config>system>security>keychain context and associating the keychain in the applicable IS-IS contexts

Either the authentication-key command or the auth-keychain command can be used by IS-IS, but both cannot be supported at the same time. If both commands are configured, the auth-keychain configuration will be applied and the authentication-key command will be ignored.

Use the following CLI syntax to configure authentication:

CLI syntax:
config>router# isis [isis-instance]
    [no] authentication-check
    authentication-key {authentication-key | hash-key}[hash | hash2]
    authentication-type {password | message-digest}
    [no] hello-authentication
    level {1 | 2}
        authentication-key {authentication-key | hash-key}[hash | hash2]
        authentication-type {password | message-digest}
CLI syntax:
config>router# isis [isis-instance]
    interface ip-int-name
        [no] hello-authentication
        hello-authentication-key {authentication-key | hash-key}[hash | hash2]
        hello-authentication-type {password | message-digest}
        level {1 | 2}
            hello-authentication-key {authentication-key | hash-key}[hash | hash2]
            hello-authentication-type {password | message-digest}

Use the following CLI syntax to associate IS-IS at the global level or IS-IS level with an authentication keychain and to associate an IS-IS interface or interface level with a Hello authentication keychain. The keychain must already be defined in the system>security>keychain context.

CLI syntax:
config>router# isis [isis-instance]
    auth-keychain name
    level {1 | 2}
        auth-keychain name
CLI syntax:
config>router# isis [isis-instance]
    interface ip-int-name
        hello-auth-keychain name
        level {1 | 2}
            hello-auth-keychain name

Configuring leaking

IS-IS allows a two-level hierarchy to route PDUs. Level 1 areas can be interconnected by a contiguous level 2 backbone.

The level 1 link-state database contains information only about that area. The level 2 link-state database contains information about the level 2 system and each of the level 1 systems in the area. A level 1/2 router contains information about both level 1 and level 2 databases. A level 1/2 router advertises information about its level 1 area toward the other level 1/2 or level 2 routers.

Packets with destinations outside the level 1 area are forwarded toward the closest level 1/2 router which, in turn, forwards the packets to the destination area.

Sometimes the shortest path to an outside destination is not through the closest level 1/2 router, or the only level 1/2 router to forward packets out of an area is not operational. Route leaking provides a mechanism to leak level 2 information to level 1 routers to provide routing information about inter-area routes. Route leaking therefore gives a level 1 router more options to forward packets.

Configure a route policy to leak routes from level 2 into level 1 areas in the config>router>policy-options>policy-statement context. For more information about creating route policies, see the 7705 SAR Router Configuration Guide.

The following example shows the commands to configure prefix list (‟loops”) and policy statement (‟leak”) parameters in the config>router context.

Example:
config>router>policy-options# prefix-list loops
..>policy-options>prefix-list# prefix 10.1.1.0/8 longer
..>policy-options>prefix-list# exit
..>policy-options# policy-statement leak
..>policy-options>policy-statement# entry 10
..>policy-options>policy-statement>entry# from
..>policy-options>policy-statement>entry>from# prefix-list loops
..>policy-options>policy-statement>entry>from# level 2
..>policy-options>policy-statement>entry>from# exit
..>policy-options>policy-statement>entry# to
..>policy-options>policy-statement>entry>to# level 1
..>policy-options>policy-statement>entry>to# exit
..>policy-options>policy-statement>entry# action accept
..>policy-options>policy-statement>entry>action# exit
..>policy-options>policy-statement>entry# exit
..>policy-options>policy-statement# exit
..>policy-options# commit
..>policy-options#

The following example displays a prefix list and policy statement configuration:

A:ALU-A>config>router>policy-options# info
----------------------------------------------
     prefix-list "loops"
          prefix 10.1.1.0/8 longer
     exit
     policy-statement "leak"
          entry 10
               from
                    prefix-list "loops"
                    level 2
               exit
               to
                    level 1
               exit
               action accept
               exit
          exit
     exit
----------------------------------------------
A:ALU-A>config>router>policy-options#

Next, apply the policy to leak routes from level 2 into level 1 routers on ALU-A:

CLI syntax:
config>router# isis [isis-instance]
    export leak
A:ALU-A>config>router>isis# info
----------------------------------------------
     area-id 49.0180.0001
     area-id 49.0180.0002
     area-id 49.0180.0003
     authentication-key "//oZrvL4FPn06nyRIJ5E" hash
     authentication-type password
     no authentication-check
     export "leak"
...
----------------------------------------------
A:ALU-A>config>router>isis#

Then, after the policy is applied, create a policy statement (‟isis-ext”) to redistribute external IS-IS routes from level 1 routers into the level 2 backbone (see Redistributing external IS-IS routes). In the config>router context, configure the following policy statement parameters:

Example:
config>router>policy-options# begin
..>policy-options# policy-statement "isis-ext"
..>policy-options>policy-statement# entry 10
..>policy-options>policy-statement>entry$ from
..>policy-options>policy-statement>entry>from$ external
..>policy-options>policy-statement>entry>from# exit
..>policy-options>policy-statement>entry# to
..>policy-options>policy-statement>entry>to$ level 2
..>policy-options>policy-statement>entry>to# exit
..>policy-options>policy-statement>entry# action accept
..>policy-options>policy-statement>entry>action# exit
..>policy-options>policy-statement>entry# exit
..>policy-options>policy-statement# exit
..>policy-options# commit

Redistributing external IS-IS routes

By default, IS-IS does not redistribute level 1 external routes into level 2. The policy to redistribute external IS-IS routes must be explicitly applied. Policies are created in the config>router>policy-options context. See the 7705 SAR Router Configuration Guide for information about creating policies.

The following example displays the policy statement configuration:

A:ALU-A>config>router>policy-options# info
----------------------------------------------
     prefix-list "loops"
          prefix 10.1.1.0/8 longer
     exit
     policy-statement "leak"
          entry 10
            from
                 prefix-list "loops"
                 level 2
            exit
            to
                 level 1
            exit
            action accept
            exit
          exit
     exit
     policy-statement "isis-ext"
          entry 10
            from
                 external
            exit
            to
                 level 2
            exit
            action accept
            exit
          exit
     exit
----------------------------------------------
A:ALU-A>config>router>policy-options#

Configuring IS-IS support for LDP-to-SR stitching

Configure the export-tunnel-table command using the following CLI syntax to support LDP-to-SR stitching.

CLI syntax:
config>router# isis
    segment-routing
        export-tunnel-table ldp

The following example displays the LDP-to-SR stitching IS-IS configuration output.

A:NOK-1 Dut-A>config>router>isis# info detail
----------------------------------------------
            ....
            segment-routing
                ....
                export-tunnel-table ldp
                ....
                exit
            exit
            no shutdown
----------------------------------------------
A:NOK-1 Dut-A>config>router>isis#

Configuring an SR mapping server for IPv4 /32 prefixes

Use the following CLI syntax to configure an SR mapping server for IPv4 /32 prefixes:

CLI syntax:
config>router# isis [isis-instance]
    segment-routing
        mapping-server
            sid-map node-sid {index value [range value]} prefix {ip-address/mask | ip-address netmask} [set-flags {s}] [level {1 | 2 | 1/2}]

The following is an example of an SR mapping server configuration.

Example:
config>router>isis 1
config>router>isis$ segment-routing
config>router>isis>segm-rtng$ mapping-server
config>router>isis>segm-rtng>map-serv$ sid-map node-sid index 10 range 10 prefix 10.10.10.10/32 set-flags s level 1
config>router>isis>segm-rtng>map-serv$ exit
config>router>isis>segm-rtng$ exit
config>router>isis$ exit

The following example displays the SR mapping server configuration.

A:NOK-1 Dut-A>config>router>isis# info detail
----------------------------------------------
            ...
            segment-routing
                mapping-server
                    shutdown
                    sid-map node-sid index 10 range 10 prefix 10.10.10.10/32 set-
                    flags s level 1
                exit
            exit
            no shutdown
----------------------------------------------
A:NOK-1 Dut-A>config>router>isis#

IS-IS configuration management tasks

This section discusses the following IS-IS configuration management tasks:

Disabling IS-IS

The shutdown command disables an IS-IS instance on the router. The configuration settings are not changed, reset, or removed.

Use the following CLI syntax to disable an IS-IS instance on a router:

CLI syntax:
config>router# isis [isis-instance]
    shutdown

Removing IS-IS

The no isis command deletes an IS-IS instance and reverts its configuration to default values for its next use.

Use the following CLI syntax to remove an IS-IS instance:

CLI syntax:
config>router#
    no isis [isis-instance]

Modifying global IS-IS parameters

You can modify, disable, or remove global IS-IS parameters without shutting down entities. The changes are applied immediately. Modifying the level capability on the global level causes the IS-IS instance to restart.

The following example displays an IS-IS global parameter modification.

Example:
config>router>isis# overload timeout 500
config>router>isis# level-capability level-1/2
config>router>isis# no authentication-check
config>router>isis# authentication-key raider123

The following example displays the IS-IS configuration with the modifications entered in the previous example:

A:ALU-A>config>router>isis# info
----------------------------------------------
     area-id 49.0180.0001
     area-id 49.0180.0002
     area-id 49.0180.0003
     authentication-key "//oZrvtvFPn06nyRIJ5E" hash
     authentication-type password
     no authentication-check
     overload timeout 500
     level 1
          wide-metrics-only
     exit
     level 2
          wide-metrics-only
     exit
     interface "system"
     exit
     interface "ALU-1-2"
          level-capability level-2
          mesh-group 85
     exit
     interface "ALU-1-3"
          level-capability level-1
          interface-type point-to-point
          mesh-group 101
     exit
     interface "ALU-1-5"
          level-capability level-1
          interface-type point-to-point
          mesh-group 85
     exit
     interface "to-103"
          mesh-group 101
     exit
     interface "A-B"
     exit
     interface "A-C"
     exit

Modifying IS-IS interface parameters

You can modify, disable, or remove interface level IS-IS parameters without shutting down entities. Changes take effect immediately. Modifying the level capability on the interface causes the IS-IS instance on the interface to restart.

To remove an interface, use the no interface ip-int-name command.

To disable an interface, use the shutdown command in the interface context.

The following example displays an IS-IS interface parameter modification.

Example:
config>router# isis
config>router>isis# interface ALU-1-3
config>router>isis>if# mesh-group 85
config>router>isis>if# passive
config>router>isis>if# lsp-pacing-interval 5000
config>router>isis>if# exit
config>router>isis# interface to-103
config>router>isis>if# hello-authentication-type message-digest
config>router>isis>if# hello-authentication-key 49ersrule
config>router>isis>if# exit

The following example displays the IS-IS configuration with the modifications entered in the previous example:

A:ALU-A>config>router>isis# info
----------------------------------------------
     area-id 49.0180.0001
     area-id 49.0180.0002
     area-id 49.0180.0003
     authentication-key "//oZrvtvFPn06nyRIJ5E" hash
     authentication-type password
     no authentication-check
     overload timeout 500
     level 1
          wide-metrics-only
     exit
     level 2
          wide-metrics-only
     exit
     interface "system"
     exit
     interface "ALU-1-2"
          level-capability level-2
          mesh-group 85
     exit
     interface "ALU-1-3"
          level-capability level-1
          interface-type point-to-point
          lsp-pacing-interval 5000
          mesh-group 85
          passive
     exit
     interface "ALU-1-5"
          level-capability level-1
          interface-type point-to-point
          mesh-group 85
     exit
     interface "to-103"
          hello-authentication-key "DvR5l2xxB6XMTvbAZ1mE" hash
          hello-authentication-type message-digest
          mesh-group 101
     exit
     interface "A-B"
     exit
----------------------------------------------
A:ALU-A>config>router>isis#

IS-IS command reference

Command hierarchies

Configuration commands

config
    - router
        - [no] isis [isis-instance]
            - advertise-router-capability {area | as} 
            - no advertise-router-capability 
            - [no] advertise-tunnel-link
            - [no] area-id area-address
            - auth-keychain name
            - no auth-keychain
            - [no] authentication-check
            - authentication-key {authentication-key | hash-key} [hash | hash2]
            - no authentication-key
            - authentication-type {password | message-digest}
            - no authentication-type
            - [no] csnp-authentication
            - database-export [identifier id] [bgp-ls-identifier bgp-ls-id]
            - no database-export
            - [no] disable-ldp-sync
            - entropy-label
                - [no] override-tunnel-elc
            - export policy-name [policy-name...(up to 5 max)]
            - no export
            - [no] hello-authentication
            - [no] ignore-attached-bit
            - [no] ignore-lsp-errors
            - [no] iid-tlv-enable
            - [no] interface ip-int-name
                - [no] bfd-enable ipv4
                - csnp-interval seconds
                - no csnp-interval
                - hello-auth-keychain name
                - no hello-auth-keychain 
                - [no] hello-authentication
                - hello-authentication-key {authentication-key | hash-key} [hash | hash2]
                - no hello-authentication-key
                - hello-authentication-type {password | message-digest}
                - no hello-authentication-type
                - interface-type {broadcast | point-to-point}
                - no interface-type
                - ipv4-adjacency-sid label value
                - no ipv4-adjacency-sid 
                - [no] ipv4-multicast-disable 
                - ipv4-node-sid index index-value 
                - ipv4-node-sid label label-value 
                - ipv6-adjacency-sid label value 
                - no ipv6-adjacency-sid  
                - [no] ipv6-multicast-disable 
                - ipv6-node-sid index index-value 
                - ipv6-node-sid label label-value 
                - no ipv6-node-sid
                - [no] ipv6-unicast-disable
                - level {1 | 2}
                    - hello-auth-keychain name
                    - no hello-auth-keychain 
                    - hello-authentication-key {authentication-key | hash-key} [hash | hash2]
                    - no hello-authentication-key
                    - hello-authentication-type {password | message-digest}
                    - no hello-authentication-type
                    - hello-interval seconds
                    - no hello-interval
                    - hello-multiplier multiplier
                    - no hello-multiplier
                    - ipv4-multicast-metric ipv4-multicast-metric
                    - no ipv4-multicast-metric
                    - ipv6-multicast-metric ipv6-multicast-metric
                    - no ipv6-multicast-metric 
                    - ipv6-unicast-metric ipv6-metric
                    - no ipv6-unicast-metric 
                    - metric metric
                    - no metric
                    - [no] passive
                    - priority number
                    - no priority
                - level-capability {level-1 | level-2 | level-1/2}
                - no level-capability
                - lfa-policy-map route-nh-template template-name
                - no lfa-policy-map
                - [no] loopfree-alternate-exclude
                - lsp-pacing-interval milliseconds
                - no lsp-pacing-interval
                - mesh-group [value | blocked]
                - no mesh-group
                - [no] passive
                - retransmit-interval seconds
                - no retransmit-interval
                - [no] shutdown
                - [no] sid-protection 
            - ipv4-multicast-routing {native | mt}
            - no ipv4-multicast-routing 
            - [no] ipv4-routing
            - ipv6-multicast-routing {native | mt}
            - no ipv6-multicast-routing
            - ipv6-routing {native | mt}
            - no ipv6-routing
            - level {1 | 2}
                - auth-keychain name
                - no auth-keychain
                - authentication-key {authentication-key | hash-key} [hash | hash2]
                - no authentication-key
                - authentication-type {password | message-digest}
                - no authentication-type
                - [no] csnp-authentication
                - default-ipv4-multicast-metric ipv4-multicast-metric
                - no default-ipv4-multicast-metric
                - default-ipv6-multicast-metric ipv6-multicast-metric
                - no default-ipv6-multicast-metric
                - default-ipv6-unicast-metric ipv6-metric
                - no default-ipv6-unicast-metric
                - default-metric ipv4-metric
                - no default-metric
                - external-preference external-preference
                - no external-preference
                - [no] hello-authentication
                - [no] loopfree-alternate-exclude
                - preference preference
                - no preference
                - [no] psnp-authentication
                - [no] wide-metrics-only
            - level-capability {level-1 | level-2 | level-1/2}
            - no level-capability
            - [no] loopfree-alternates
                - exclude 
                    - prefix-policy prefix-policy [prefix-policy...(up to 5 max)]
                    - no prefix-policy 
                - remote-lfa [max-pq-cost value]
                - no remote-lfa 
                    - node-protect [max-pq-nodes value]
                    - no node-protect 
                - ti-lfa [max-sr-frr-labels value]
                - no ti-lfa 
                    - [no] node-protect 
            - lsp-lifetime seconds
            - no lsp-lifetime
            - lsp-mtu-size size
            - no lsp-mtu-size
            - [no] multi-topology 
                    - [no] ipv4-multicast 
                    - [no] ipv6-multicast 
                    - [no] ipv6-unicast 
            - [no] multicast-import [{both | ipv4 | ipv6}]
            - overload [timeout seconds] [max-metric]
            - no overload
            - overload-on-boot [timeout seconds] [max-metric]
            - no overload-on-boot
            - [no] poi-tlv-enable
            - [no] psnp-authentication
            - reference-bandwidth bandwidth-in-kbps
            - reference-bandwidth [tbps Tera-bps] [gbps Giga-bps] [mbps Mega-bps] [kbps Kilo-bps]
            - no reference-bandwidth
            - [no] rsvp-shortcut
            - [no] segment-routing
                - adj-sid-hold seconds
                - no adj-sid-hold
                - entropy-label {force-disable | enable}
                - no entropy-label 
                - export-tunnel-table ldp
                - no export-tunnel-table
                - [no] mapping-server
                    - [no] shutdown
                    - sid-map node-sid {index value [range value]} prefix {ip address/mask} | ip-address netmask} [set-flags {s}] [level {1 | 2 | 1/2}]
                - prefix-sid-range global 
                - prefix-sid-range start-label label-value max-index index-value 
                - no prefix-sid-range
                - srlb reserved-label-block-name
                - no srlb 
                - [no] shutdown
                - tunnel-mtu bytes
                - no tunnel-mtu
                - tunnel-table-pref preference 
                - no tunnel-table-pref 
            - [no] shutdown
            - [no] strict-adjacency-check
            - summary-address {ip-prefix/prefix-length | ip-prefix [netmask]} level
            - no summary-address {ip-prefix/prefix-length | ip-prefix [netmask]}
            - [no] suppress-attached-bit
            - [no] timers 
                - lsp-wait lsp-wait [lsp-initial-wait initial-wait] [lsp-second-wait second-wait]
                - no lsp-wait
                - spf-wait spf-wait [spf-initial-wait initial-wait] [spf-second-wait second-wait]
                - no spf-wait 
            - [no] traffic-engineering
            - [no] unicast-import-disable [ipv4]

Show commands

show
    - router
        - isis all 
        - isis [isis-instance]
            - adjacency [ip-int-name | ip-address | nbr-system-id] [detail]
            - capabilities [system-id | lsp-id] [level level]] 
            - database [system-id | lsp-id] [detail] [level level]
            - hostname 
            - interface [ip-int-name | ip-address] [detail]
            - lfa-coverage
            - mapping-server [prefix ip-address [/mask]] [index index] [level level] [flag {s}]
            - prefix-sids [ipv4-unicast | ipv6-unicast | mt mt-id-number] [ip-prefix[/prefix-length]] [sid sid] [adv-router {system-id | hostname}] [srms | no-srms] 
            - routes [ipv4-multicast | ipv6-multicast | ipv4-unicast | ipv6-unicast | mt mt-id-number] [ip-prefix[/prefix-length]] [alternative] [exclude-shortcut] [detail] 
            - spf-log [detail]
            - statistics
            - status
            - summary-address [ip-prefix[/prefix-length]]
            - topology [ipv4-multicast | ipv6-multicast |ipv4-unicast | ipv6-unicast | mt mt-id-number] [lfa] [detail] 

Monitor commands

monitor
    - router
        - isis [isis-instance]
            - statistics [interval seconds] [repeat repeat] [absolute | rate]

Debug commands

debug
    - router
        - isis [isis-instance]
            - [no] adjacency [ip-int-name | ip-address | nbr-system-id]
            - [no] cspf
            - interface [ip-int-name | ip-address]
            - no interface
            - leak [ip-address]
            - no leak
            - [no] lsdb [level-number] [system-id | lsp-id]
            - [no] misc
            - packet [packet-type] [ip-int-name | ip-address | ipv6-address] [detail]
            - no packet
            - rtm [ip-address]
            - no rtm
            - [no] spf [level-number] [system-id]

Command descriptions

Configuration commands

Generic commands
shutdown
Syntax

[no] shutdown

Context

config>router>isis

config>router>isis>segment-routing

config>router>isis>segment-routing>mapping-server

config>router>isis>interface

Description

This command administratively disables the entity. When disabled, an entity does not change, reset, or remove any configuration settings or statistics. Many entities must be explicitly enabled using the no shutdown command.

The operational state of the entity is disabled as well as the operational state of any entities contained within. Many objects must be shut down before they can be deleted.

Unlike other commands and parameters where the default state is not indicated in the configuration file, shutdown and no shutdown are always indicated in system-generated configuration files.

The no form of the command puts an entity into the administratively enabled state.

Default

IS-IS Global - the IS-IS protocol is created in the no shutdown state

IS-IS Interface - when an IP interface is configured as an IS-IS interface, IS-IS on the interface is in the no shutdown state by default

Global commands
isis
Syntax

[no] isis [isis-instance]

Context

config>router

Description

This command activates an IS-IS instance on the router and enables access to the context to define IS-IS parameters.

Instance 0, the base instance, is enabled when the isis command is run without specifying an isis-instance. Multiple IS-IS instances are enabled by including an isis-instance value.

The no form of the command deletes the IS-IS instance and removes all configuration parameters.

Default

no isis

Parameters
isis-instance

the IS-IS instance ID. If no isis-instance is specified, instance 0 is used.

Values

1 to 31

advertise-router-capability
Syntax

advertise-router-capability {area | as}

no advertise-router-capability

Context

config>router>isis

Description

This command enables advertisement of a router’s capabilities to its neighbors for informational and troubleshooting purposes. A TLV as defined in RFC 4971 advertises the TE Node Capability Descriptor capability.

The parameters (area and as) control the scope of the capability advertisements.

The no form of this command disables this capability.

Default

no advertise-router-capability

Parameters
area

capabilities are only advertised within the area of origin

as

capabilities are advertised throughout the entire autonomous system

advertise-tunnel-link
Syntax

[no] advertise-tunnel-link

Context

config>router>isis

Description

This command enables the forwarding adjacency feature. With this feature, IS-IS advertises an RSVP-TE LSP as a link so that other routers in the network can include it in their SPF calculations. The RSVP-TE LSP is advertised as an unnumbered point-to-point link and the link-state PDU (LSP) has no traffic engineering opaque sub-TLVs as per RFC 3906.

The forwarding adjacency feature can be enabled independently from the IGP shortcut feature (rsvp-shortcut). If both features are enabled for a given IS-IS instance, the forwarding adjacency feature takes precedence.

When this feature is enabled, each node advertises a point-to-point unnumbered link for each best-metric tunnel to the router ID of any endpoint node. The node does not include the tunnels as IGP shortcuts in the SPF calculation directly. Instead, when the LSP advertising the corresponding point-to-point unnumbered link is installed in the local routing database, the node performs an SPF calculation using the link like any other link LSP.

The link bidirectional check requires that a regular link or tunnel link exists in the reverse direction for the tunnel to be used in the SPF calculation.

An RSVP-TE LSP can be excluded from being used as a forwarding adjacency with the config>router>mpls>lsp>no igp-shortcut command.

The no form of this command disables forwarding adjacency and therefore disables the advertisement of RSVP-TE LSPs into IS-IS.

Default

no advertise-tunnel-link

area-id
Syntax

[no] area-id area-address

Context

config>router>isis

Description

This command configures the area ID portion of the network service access point (NSAP) address, which identifies a point of connection to the network, such as a router interface.

Addresses in the IS-IS protocol are based on the ISO NSAP addresses and network entity titles (NETs), not IP addresses. NET addresses are constructed similarly to NSAPs with the exception that the selector ID is always 00. NET addresses are exchanged in Hello and LSP PDUs. All NET addresses configured on the node are advertised to its neighbors.

Up to three area addresses can be configured.

NSAP addresses are divided into three parts. Only the area ID portion is configurable:

  • area ID – a variable-length field between 1 and 13 bytes that identifies the area to which the router belongs. This field includes the Authority and Format Identifier (AFI) as the first (most significant) byte and the area identifier.

  • system ID – A 6-byte system identifier. This value is not configurable. The system ID is derived from the system or router ID and uniquely identifies the router.

  • selector ID – A 1-byte selector identifier that is always 00 for an NET. This value is not configurable.

For level 1 interfaces, neighbors can have different area IDs, but they must have at least one area ID (AFI + area) in common. Sharing a common area ID, they become neighbors and area merging between the potentially different areas can occur.

For level 2 interfaces, neighbors can have different area IDs. However, if they have no area IDs in common, they become only level 2 neighbors and only level 2 LSPs are exchanged.

For level 1/2 interfaces, neighbors can have different area IDs. If they have at least one area ID (AFI + area) in common, they become neighbors. In addition to exchanging level 2 LSPs, area merging between potentially different areas can occur.

If multiple area-id commands are entered, the system ID of all subsequent entries must match the system ID of the first area address.

The no form of the command removes the area address.

Default

n/a – no area address is assigned

Parameters
area-address

the area ID, from 1 to 13 bytes (if fewer than 13 bytes are entered, the rest of the field is padded with zeros)

auth-keychain
Syntax

auth-keychain name

no auth-keychain

Context

config>router>isis

config>router>isis>level

Description

This command associates an authentication keychain with the IS-IS instance or level. The keychain is a collection of keys used to authenticate IS-IS messages from remote peers. The keychain allows the rollover of authentication keys during the lifetime of a session and also supports stronger authentication algorithms than clear text and MD5.

The keychain must already be defined in the config>system>security>keychain context.

Either the authentication-key command or the auth-keychain command can be used by IS-IS, but both cannot be supported at the same time. If both commands are configured, the auth-keychain configuration will be applied and the authentication-key command will be ignored.

By default, authentication is not enabled.

Default

no auth-keychain

Parameters
name

the name of an existing keychain, up to 32 characters

authentication-check
Syntax

[no] authentication-check

Context

config>router>isis

Description

This command sets an authentication check to reject PDUs that do not match the type or key requirements.

The default behavior when authentication is configured is to reject all IS-IS protocol PDUs that have a mismatch in either the authentication type or authentication key.

When no authentication-check is configured, authentication PDUs are generated and IS-IS PDUs are authenticated on receipt. However, although mismatches cause an event to be generated, the mismatches will not be rejected.

Default

authentication-check

authentication-key
Syntax

authentication-key {authentication-key | hash-key} [hash | hash2]

no authentication-key

Context

config>router>isis

config>router>isis>level

Description

This command sets the authentication key used to verify PDUs sent by neighboring routers on the interface. Neighboring routers use passwords to authenticate PDUs sent from an interface. For authentication to work, both the authentication key and the authentication type on a segment must match. The authentication-type command must also be entered.

To configure authentication on the global level, configure this command in the config>router>isis context. When this parameter is configured on the global level, all PDUs are authenticated, including the Hello PDU.

To override the global setting for a specific level, configure the authentication-key command in the config>router>isis>level context. When configured within the specific level, Hello PDUs are not authenticated.

By default, no authentication key is configured.

Either the authentication-key command or the auth-keychain command can be used by IS-IS, but both cannot be supported at the same time. If both commands are configured, the auth-keychain configuration will be applied and the authentication-key command will be ignored.

The no form of the command removes the authentication key.

Default

no authentication-key

Parameters
authentication-key

the authentication key can be any combination of ASCII characters up to 254 characters in length (unencrypted). If spaces are used in the string, the entire string must be enclosed in double quotes (‟ ”).

hash-key

the hash key can be any combination of ASCII characters up to 352 characters in length (encrypted) or 407 characters in length (if the hash2 parameter is used). If spaces are used in the string, the entire string must be enclosed in double quotes (‟ ”).

This is useful when a user must configure the parameter, but for security purposes, the actual unencrypted key value is not provided.

hash

specifies that the key is entered in an encrypted form. If the hash parameter is not used, the key is assumed to be in a non-encrypted, clear text form. For security, all keys are stored in encrypted form in the configuration file with the hash parameter specified.

hash2

specifies that the key is entered in a more complex encrypted form. If the hash2 parameter is not used, the less encrypted hash form is assumed.

authentication-type
Syntax

authentication-type {password | message-digest}

no authentication-type

Context

config>router>isis

config>router>isis>level

Description

This command enables either simple password or message-digest authentication in the global IS-IS or IS-IS level context. Both the authentication key and the authentication type on a segment must match. The authentication-key command must also be entered.

Configure the authentication type at the global level in the config>router>isis context. Configure or override the global setting by configuring the authentication type in the config>router>isis>level context.

The no form of the command disables authentication.

Default

no authentication-type

Parameters
password

enables simple password (plaintext) authentication. If authentication is enabled and no authentication type is specified in the command, simple password authentication is enabled.

message-digest

enables message-digest MD5 authentication in accordance with RFC 1321. If this option is configured, at least one message-digest-key must be configured.

csnp-authentication
Syntax

[no] csnp-authentication

Context

config>router>isis

config>router>isis>level

Description

This command enables authentication of individual IS-IS packets of complete sequence number PDUs (CSNPs).

The no form of the command suppresses authentication of CSNP packets.

Default

csnp-authentication

database-export
Syntax

database-export [identifier id] [bgp-ls-identifier bgp-ls-id]

no database-export

Context

config>router>isis

Description

This command enables the population of the extended TE database (TE-DB) with the link-state information from the IS-IS instance.

The extended TE-DB is used as a central point for importing all link-state, link, node, and prefix information from IGP instances on the router and exporting the information to BGP-LS on the router. This information includes the IGP, TE, SID sub-TLV, and adjacency SID sub-TLV.

The no form of this command disables database exportation.

Default

no database-export

Parameters
identifier

uniquely identifies the IGP instance in the BGP-LS NLRI when a router has interfaces participating in multiple IGP instances. This parameter defaults to the IGP instance ID assigned by the 7705 SAR. However, because the concept of instance ID, as defined in draft-ietf-isis-mi-02, IS-IS Multi-Instance, is unique within a routing domain while the one specified for OSPF is significant for the local subnet only (RFC 6549), the user can remove any overlap by configuring the new identifier value to be unique within a particular IGP domain when this router sends the IGP link-state information using BGP-LS.

id

specifies an entry ID to export

Values

0 to 18446744073709551615

bgp-ls-identifier

used with the autonomous system number (ASN) to correlate the BGP-LS NLRI advertisements of multiple BGP-LS speakers in the same IGP domain. If an NRC-P network domain has multiple IGP domains, BGP-LS speakers in each IGP domain must be configured with the same unique tuple {bgp-ls-identifier, asn}.

The BGP-LS identifier is optional and is only sent in a BGP-LS NLRI if configured in the IGP instance of an IGP domain.

If this IGP instance participates in traffic engineering with RSVP-TE or SR-TE, the traffic-engineering option is not strictly required because enabling the extended TE-DB populates this information automatically. However, it is recommended that the user enable traffic engineering to make the configuration consistent with other routers in the network that do not require enabling of the extended TE-DB.

bgp-ls-id

specifies a BGP LS ID to export

Values

0 to 4294967295

disable-ldp-sync
Syntax

[no] disable-ldp-sync

Context

config>router>isis

Description

This command disables the IGP-LDP synchronization feature on all interfaces participating in the OSPF or IS-IS routing protocol. When this command is executed, the IGP immediately advertises the actual value of the link cost for all interfaces that have the IGP-LDP synchronization enabled if the currently advertised cost is different. IGP-LDP synchronization will then be disabled for all interfaces. This command does not delete the interface configuration.

The no form of this command restores the default settings and re-enables IGP-LDP synchronization on all interfaces participating in the OSPF or IS-IS routing protocol and for which the ldp-sync-timer is configured (see the 7705 SAR Router Configuration Guide for information about configuring the ldp-sync-timer).

Default

no disable-ldp-sync

entropy-label
Syntax

entropy-label

Context

config>router>isis

Description

This command enables the context for the configuration of entropy label capabilities (ELC) for the routing protocol.

override-tunnel-elc
Syntax

[no] override-tunnel-elc

Context

config>router>isis>entropy-label

Description

This command configures the ability to override any received entropy label capability advertisements. When enabled, the system assumes that all nodes for an IGP domain are capable of receiving and processing the entropy label on segment routed tunnels. This command can only be configured if entropy-label is enabled via the config>router>isis>segment-routing>entropy-label command.

The no version of this command disables the override. The system assumes entropy label capability for other nodes in the IGP instance if capability advertisements are received.

Default

no override-tunnel-elc

export
Syntax

export policy-name [policy-name…(up to 5 max)]

no export

Context

config>router>isis

Description

This command associates export route policies to determine which routes are exported from the route table to IS-IS.

If no export policy is specified, non-IS-IS routes are not exported from the routing table manager to IS-IS.

If multiple policy names are specified, the policies are evaluated in the order they are specified. The first policy that matches is applied. If multiple export commands are issued, the last command entered will override the previous command. A maximum of five policy names can be specified.

The no form of the command removes all policies from the configuration.

See the 7705 SAR Router Configuration Guide for information about defining route policies.

Default

n/a – no export route policies specified

Parameters
policy-name

the export route policy name. Allowed values are any string up to 32 characters long composed of printable, 7-bit ASCII characters. If the string contains special characters (such as #, $, or spaces), the entire string must be enclosed within double quotes.

The specified names must already be defined.

hello-authentication
Syntax

[no] hello-authentication

Context

config>router>isis

config>router>isis>interface

Description

This command enables authentication of individual IS-IS Hello PDUs.

The no form of the command suppresses authentication of Hello PDUs.

Default

hello-authentication

ignore-attached-bit
Syntax

[no] ignore-attached-bit

Context

config>router>isis

Description

This command specifies that this level 1 router will ignore the attached (ATT) bit in received level 1 link-state PDUs (LSPs) and therefore will not install the default route to the level 1/2 router that set the ATT bit.

The no form of the command specifies that the router will install the default route to the closest level 1/2 router.

Default

no ignore-attached-bit

ignore-lsp-errors
Syntax

[no] ignore-lsp-errors

Context

config>router>isis

Description

This command specifies that the router will ignore LSPs with internal checksum errors rather than purging the LSPs.

The no form of the command specifies that LSPs with internal checksum errors will be purged, which will cause the originator to resend the LSPs.

Default

no ignore-lsp-errors

iid-tlv-enable
Syntax

[no] iid-tlv-enable

Context

config>router>isis

Description

This command specifies whether the Instance Identifier (IID) TLV is enabled or disabled for this IS-IS instance so an interface can be used in multiple IS-IS instances.

When enabled, each IS-IS instance marks its packets with the IID TLV containing its unique 16-bit IID for the routing domain. You must use a shutdown/no shutdown command sequence on the IS-IS instance to make the change operational.

The no form of the command disables the IID TLV marking of packets.

Default

no iid-tlv-enable

ipv4-multicast-routing
Syntax

ipv4-multicast-routing {native | mt}

no ipv4-multicast-routing

Context

config>router>isis

Description

This command controls which IS-IS topology is used to populate the IPv4 multicast routing table manager (RTM). The multicast RTM is used for reverse path forwarding (RPF) checks.

Specifying the native keyword allows IPv4 routes from both the MT 0 and the MT 3 topologies in the IPv4 multicast RTM.

Specifying the mt keyword allows IPv4 routes from only the MT 3 topology in the IPv4 multicast RTM. IPv4 routes from the IPv4 unicast routing topology (MT 0) are prevented from being added to the multicast RTM.

The no form of the command result in no routes being populated in the IPv4 multicast RTM and is used when multicast is configured to use the unicast RTM for RPF checks.

Default

native

Parameters
native

allows IPv4 routes from both the IPv4 unicast routing topology (MT 0) and the IPv4 multicast routing topology (MT 3) in the multicast RTM

mt

allows routes only from the IPv4 multicast routing topology (MT 3) in the multicast RTM

ipv4-routing
Syntax

[no] ipv4-routing

Context

config>router>isis

Description

This command enables or disables IPv4 routing on the IS-IS instance.

Default

ipv4-routing

ipv6-multicast-routing
Syntax

ipv6-multicast-routing {native | mt}

no ipv6-multicast-routing

Context

config>router>isis

Description

This command controls whether IPv6 routes from the MT 2 topology are populated in the IPv6 multicast routing table manager (RTM). The multicast RTM is used for reverse path forwarding (RPF) checks.

Specifying the native keyword allows IPv6 routes from both the MT 2 and the MT 4 topologies in the IPv4 multicast RTM.

Specifying the mt keyword allows IPv6 routes from only the MT 4 topology in the IPv4 multicast RTM. IPv6 routes from the IPv6 unicast routing topology (MT 2) are prevented from being added to the multicast RTM.

The no form of the command result in no routes being populated in the IPv6 multicast RTM and is used when multicast is configured to use the unicast RTM for RPF checks.

Default

native

Parameters
native

allows IPv6 routes from both the IPv6 unicast routing topology (MT 2) and the IPv6 multicast routing topology (MT 4) in the multicast RTM

mt

allows routes only from the IPv6 multicast routing topology (MT 4) in the multicast RTM

ipv6-routing
Syntax

ipv6-routing {native | mt}

no ipv6-routing

Context

config>router>isis

Description

This command enables IPv6 routing on the IS-IS instance. In native mode, IPv6 routing information is exchanged in IS-IS using IS-IS IPv6 TLVs. In multitopology mode, IPv6 routing information is exchanged in IS-IS using IS-IS multitopology TLVs.

Default

no ipv6-routing

Parameters
native

specifies that IS-IS IPv6 TLVs be used for IPv6 routing

mt

specifies that IS-IS multitopology TLVs be used for IPv6 routing

level
Syntax

level {1 | 2}

Context

config>router>isis

config>router>isis>interface

Description

This command enables the context to configure IS-IS level 1 or level 2 area attributes.

To reset global and/or interface level parameters to the default, the following commands must be entered independently:

    - level> no hello-authentication-key
    - level> no hello-authentication-type
    - level> no hello-interval
    - level> no hello-multiplier
    - level> no metric
    - level> no passive
    - level> no priority
Default

level 1 or level 2

Special cases
Global IS-IS level

the config>router>isis context configures default global parameters for both level 1 and level 2 interfaces

IS-IS interface level

the config>router>isis>interface context configures IS-IS operational characteristics of the interfaces at level 1 and/or level 2. A logical interface can be configured on one level 1 and one level 2 interface. In this case, each level can be configured independently and parameters must be removed independently.

Parameters
1

specifies that the router or interface is a level 1 router or interface

2

specifies that the router or interface is a level 2 router or interface

default-ipv4-multicast-metric
Syntax

default-ipv4-multicast-metric ipv4-multicast-metric

no default-ipv4-multicast-metric

Context

config>router>isis>level

Description

This command sets the default metric to be used for the IS-IS interfaces on the specified level in the IPv4 multicast routing topology (MT 3).

The no form of the command returns the setting to the system default.

Default

10

Parameters
ipv4-multicast-metric

the default metric for interfaces in the IPv4 multicast routing topology (MT 3)

Values

1 to 16777215

default-ipv6-multicast-metric
Syntax

default-ipv6-multicast-metric ipv6-multicast-metric

no default-ipv6-multicast-metric

Context

config>router>isis>level

Description

This command sets the default metric to be used for the IS-IS interfaces on the specified level in the IPv6 multicast routing topology (MT 4).

The no form of the command returns the setting to the system default.

Default

10

Parameters
ipv6-multicast-metric

the default metric for interfaces in the IPv6 multicast routing topology (MT 4)

Values

1 to 16777215

default-ipv6-unicast-metric
Syntax

default-ipv6-unicast-metric ipv6-metric

no default-ipv6-unicast-metric

Context

config>router>isis>level

Description

This command sets the default metric to be used for the IS-IS interfaces on the specified level in the IPv6 unicast routing topology (MT 2).

The no form of the command returns the setting to the default value.

Default

10

Parameters
ipv6-metric

the default metric for interfaces in the IPv6 unicast routing topology (MT 2)

Values

1 to 16777215

default-metric
Syntax

default-metric ipv4-metric

no default-metric

Context

config>router>isis>level

Description

This command sets the default metric used for all IS-IS interfaces on the specified level in the IPv4 unicast routing topology (MT 0). This value is not used when a metric is configured for an interface.

The no form of the command returns the setting to the default value.

Default

10

Parameters
ipv4-metric

the default metric for interfaces in the IPv4 unicast routing topology (MT 0)

Values

1 to 16777215

external-preference
Syntax

external-preference external-preference

no external-preference

Context

config>router>isis>level

Description

This command configures the preference for IS-IS external routes for the IS-IS level. The preference for internal routes is set with the preference command.

The command configures the preference level for either level 1 or level 2 external routes. The default preferences are listed in the following table.

A route can be learned by the router from different protocols, in which case, the costs are not comparable. When this occurs, the preference is used to decide which route will be used.

Different protocols should not be configured with the same preference. If this occurs, the tiebreaker is based on the default preferences as listed in the table.

Table 5. Route preference defaults by route type

Route type

Preference

Configurable

Direct attached

0

No

Static routes

5

Yes

OSPF internal

10

Yes

IS-IS level 1 internal

15

Yes

IS-IS level 2 internal

18

Yes

OSPF external

150

Yes

IS-IS level 1 external

160

Yes

IS-IS level 2 external

165

Yes

If multiple routes are learned with an identical preference using the same protocol, the lowest-cost route is used. If multiple routes are learned with an identical preference using the same protocol and the costs (metrics) are equal, the decision of which route to use is determined by the configuration of ECMP in the config>router context. See the 7705 SAR Router Configuration Guide for information about ECMP.

Note: To configure a preference for static routes, use the config>router>static-route-entry context. See the 7705 SAR Router Configuration Guide for information.

The no form of the command reverts to the default value.

Default

external-preference 160 – for IS-IS level 1 external routes

external-preference 165 – for IS-IS level 2 external routes

Parameters
external-preference

the preference for external routes at this level, expressed as a decimal integer

Values

1 to 255

loopfree-alternate-exclude
Syntax

[no] loopfree-alternate-exclude

Context

config>router>isis>level

config>router>isis>interface

Description

This command instructs IS-IS to exclude a specific interface or all interfaces participating in a specific IS-IS level from the LFA SPF calculation. The LFA SPF calculation can therefore be run only where it is needed.

If an interface is excluded from the LFA SPF in IS-IS, it is excluded in both level 1 and level 2.

Default

no loopfree-alternate-exclude

preference
Syntax

preference preference

no preference

Context

config>router>isis>level

Description

This command configures the preference for IS-IS level 1 or level 2 internal routes.

A route can be learned by the router from different protocols, in which case, the costs are not comparable. When this occurs, the preference is used to decide which route will be used.

Different protocols should not be configured with the same preference. If this occurs, the tiebreaker is based on the default preferences as listed in Route preference defaults by route type. If multiple routes are learned with an identical preference using the same protocol and the costs (metrics) are equal, the decision of which route to use is determined by the configuration of ECMP in the config>router context. See the 7705 SAR Router Configuration Guide for information about ECMP.

The no form of the command reverts to the default value.

Default

preference 15 – for IS-IS level 1 internal routes

preference 18 – for IS-IS level 2 internal routes

Parameters
preference

the preference for internal routes expressed as a decimal integer

Values

1 to 255

wide-metrics-only
Syntax

[no] wide-metrics-only

Context

config>router>isis>level

Description

This command enables the exclusive use of wide metrics in the LSPs for the level number. Narrow metrics can have values between 1 and 63. IS-IS can generate two TLVs, one for the adjacency and one for the IP prefix. In order to support traffic engineering, wider metrics are required. When wide metrics are used, a second pair of TLVs are added for the adjacency and the IP prefix.

By default, both sets of TLVs are generated. When wide-metrics-only is configured, IS-IS only generates the pair of TLVs with wide metrics for that level.

The no form of the command reverts to the default value.

Default

no wide-metrics-only

level-capability
Syntax

level-capability {level-1 | level-2 | level-1/2}

no level-capability

Context

config>router>isis

config>router>isis>interface

Description

This command configures the routing level for the IS-IS instance.

An IS-IS router and IS-IS interface can operate at level 1, level 2, or both level 1 and level 2.

A level 1 adjacency can be established if there is at least one area address shared by this router and a neighbor. A level 2 adjacency cannot be established over this interface.

A level 1/2 adjacency is created if the neighbor is also configured as a level 1/2 router and has at least one area address in common. A level 2 adjacency is established if there are no common area IDs.

A level 2 adjacency is established if another router is configured as a level 2 or level 1/2 router with interfaces configured as level 1/2 or level 2. Level 1 adjacencies will not established over this interface.

The following table lists capability combinations and the potential adjacencies that can be formed.

Table 6. Potential adjacency capabilities

Global level

Interface level

Potential adjacency

Level 1/2

Level 1/2

Level 1 or level 2 (or both)

Level 1/2

Level 1

Level 1 only

Level 1/2

Level 2

Level 2 only

Level 2

Level 1/2

Level 2 only

Level 2

Level 2

Level 2 only

Level 2

Level 1

None

Level 1

Level 1/2

Level 1 only

Level 1

Level 2

None

Level 1

Level 1

Level 1 only

The no form of the command removes the level capability from the configuration.

Default

level-1/2

Special cases
IS-IS router

in the config>router>isis context, changing the level capability performs a restart on the IS-IS protocol instance

IS-IS interface

in the config>router>isis>interface context, changing the level capability performs a restart of IS-IS on the interface

Parameters
level-1

specifies that the router or interface can operate at level 1 only

level-2

specifies that the router or interface can operate at level 2 only

level-1/2

specifies that the router or interface can operate at both level 1 and level 2

loopfree-alternates
Syntax

[no] loopfree-alternates

Context

config>router>isis

Description

This command enables loop-free alternate (LFA) computation by SPF for the IS-IS routing protocol.

When this command is enabled, it instructs the IGP SPF to attempt to precalculate both a primary next hop and an LFA backup next hop for every learned prefix. When found, the LFA next hop is populated in the routing table along with the primary next hop for the prefix.

The no form of this command disables LFA computation by the IGP SPF.

Default

no loopfree-alternates

exclude
Syntax

exclude

Context

config>router>isis>loopfree-alternates

Description

This command enables the context for identifying prefix policies to be excluded from the LFA calculation by IS-IS.

prefix-policy
Syntax

prefix-policy prefix-policy [prefix-policy...(up to 5 max)]

no prefix-policy

Context

config>router>isis>loopfree-alternates>exclude

Description

This command excludes from the LFA SPF calculation any prefixes that match a prefix entry or a tag entry in a prefix policy. If a prefix is excluded, it is not included in the LFA SPF calculation, regardless of its priority. The tag will, however, be used in the main SPF. Prefix policies are created with the command config>router>policy-options>prefix-list (for information about prefix lists, see the 7705 SAR Router Configuration Guide, ‟Route Policies”).

The default action of the loopfree-alternates>exclude>prefix-policy command, when not explicitly specified in the prefix policy, is to ‟reject”. Therefore, even if the default-action reject statement was not explicitly stated for the prefix policy, a prefix that does not match any entry in the policy will be used in the LFA SPF calculation.

The no form of the command deletes the excluded prefix policy.

Default

no prefix-policy

Parameters
prefix-policy

the name of the prefix policy to be excluded from the LFA SPF calculation in this IS-IS instance. Up to five prefixes can be specified. The specified prefix policy must already be defined.

remote-lfa
Syntax

remote-lfa [max-pq-cost value]

no remote-lfa

Context

config>router>isis>loopfree-alternates

Description

This command enables the use of the remote LFA algorithm in the LFA SPF calculation in this IS-IS instance.

When this command is enabled in an IGP instance, SPF performs the additional remote LFA computation that follows the regular LFA next-hop calculation when the latter calculation results in no protection for one or more prefixes that are resolved to a particular interface.

Remote LFA extends the protection coverage of LFA-FRR to any topology by automatically computing and establishing or tearing down shortcut tunnels, also referred to as repair tunnels, to a remote LFA node that puts the packets back into the shortest path without looping them back to the node that forwarded them over the repair tunnel. The remote LFA node is referred to as a PQ node. A repair tunnel can, in theory, be an RSVP-TE LSP, an LDP-in-LDP tunnel, or a segment routing (SR) tunnel. The remote-lfa command is restricted to using an SR repair tunnel to the remote LFA node.

The remote LFA algorithm is a per-link LFA SPF calculation and not a per-prefix calculation like the regular LFA algorithm. The remote LFA algorithm provides protection for all destination prefixes that share the protected link by using the neighbor on the other side of the protected link as a proxy for all the destinations.

The no form of this command disables the use of the remote LFA algorithm in the LFA SPF calculation in this IS-IS instance.

Default

no remote-lfa

Parameters
value

specifies the integer used to limit the search for candidate P and Q nodes in the remote LFA algorithm by setting the maximum IGP cost from the router performing the remote LFA calculation to the candidate P or Q node

Values

0 to 4294967295

Default

4261412864

node-protect
Syntax

node-protect [max-pq-nodes value]

no node-protect

Context

config>router>isis>loopfree-alternates>remote-lfa

config>router>isis>loopfree-alternates>ti-lfa

Description

This command administratively enables the use of the node-protect calculation in the remote LFA algorithm or topology-independent LFA (TI-LFA) algorithm in SPF computations. When node protection is enabled, the router prefers a node-protect repair tunnel over a link-protect repair tunnel for a particular prefix if both tunnels are found in the remote LFA or TI-LFA SPF computation. However, the SPF computations may only find a link-protect repair tunnel for prefixes owned by the protected node.

The max-pq-nodes parameter controls the maximum number of candidate PQ nodes found in the LFA SPFs for which the node protection check is performed. The node-protect condition means that the router must run the original link-protect remote LFA algorithm plus one extra forward SPF on behalf of each PQ node found, potentially after applying the max-pq-cost parameter, to verify that the path from the PQ node to the destination does not traverse the protected node. Setting the max-pq-nodes parameter to a lower value means that the LFA SPFs use less computation time and resources; however, this may result in not finding a node-protect repair tunnel.

Note: The optional max-pq-nodes parameter is available only in the config>router> isis>loopfree-alternates>remote-lfa context.

The no form of the command disables the node-protect calculation.

Default

no node-protect

Parameters
value

specifies the maximum number of PQ nodes found in the LFA SPFs for which the node protection check is performed

Values

1 to 32

Default

16

ti-lfa
Syntax

ti-lfa [max-sr-frr-labels value]

no ti-lfa

Context

config>router>isis>loopfree-alternates

Description

This command enables the use of the topology-independent LFA (TI-LFA) algorithm in the LFA SPF calculation in this IS-IS instance.

The TI-LFA algorithm improves the protection coverage of a network topology by computing and automatically instantiating a repair tunnel to a Q node that is not in the shortest path from the computing node. The repair tunnel uses the shortest path to the P node and a source-routed path from the P node to the Q node.

The TI-LFA repair tunnel can have a maximum of three labels pushed in addition to the label of the destination node or prefix. The user can set a lower maximum value for the additional FRR labels by configuring the max-sr-frr-labels option.

The no form of this command disables the use of the TI-LFA algorithm in the LFA SPF calculation in the IS-IS instance.

Default

no ti-lfa

Parameters
value

specifies the maximum number of labels that the TI-LFA backup next hop can use. The TI-LFA algorithm uses this value to limit the search for the Q node from the P node on the post-convergence path.

Values

0 to 3

Default

2

lsp-lifetime
Syntax

lsp-lifetime seconds

no lsp-lifetime

Context

config>router>isis

Description

This command sets the time interval for LSPs originated by the router to be considered valid by other routers in the domain.

Each LSP received is maintained in an LSP database until the LSP lifetime expires, unless the originating router refreshes the LSP. Each router refreshes its LSPs at the half-life of the lsp-lifetime value (by default, every 10 min (600 s)), so that other routers will not age out the LSP.

The no form of the command reverts to the default value.

Default

1200

Parameters
seconds

the interval for LSPs originated by the route to be considered valid by other routers in the domain

Values

350 to 65335

lsp-mtu-size
Syntax

lsp-mtu-size size

no lsp-mtu

Context

config>router>isis

Description

This command configures the LSP MTU size. If the MTU size is changed from the default value using the CLI or SNMP, IS-IS must be restarted in order for the change to take effect. This can be done by performing a shutdown command and then a no shutdown command in the config>router>isis context.

Note: If the MTU size is changed from the default value by using the exec command to execute a configuration file with the changed value, IS-IS will automatically bounce before the change takes effect.

The no form of the command reverts to the default value.

Default

1492

Parameters
size

the LSP MTU size

Values

490 to 9702

multi-topology
Syntax

[no] multi-topology

Context

config>router>isis

Description

This command enables IS-IS multitopology support.

The no form of the command disables IS-IS multitopology support

Default

no multitopology

ipv4-multicast
Syntax

[no] ipv4-multicast

Context

config>router>isis>multi-topology

Description

This command enables multitopology TLVs and global support for IPv4 multicast routing topology MT 3 in the associated IS-IS instance.

The no form of the command disables the multitopology TLVs and global support.

Default

no ipv4-multicast

ipv6-multicast
Syntax

[no] ipv6-multicast

Context

config>router>isis>multi-topology

Description

This command enables multitopology TLVs and global support for IPv6 multicast routing topology MT 4 in the associated IS-IS instance.

The no form of the command disables the multitopology TLVs and global support.

Default

no ipv6-multicast

ipv6-unicast
Syntax

[no] ipv6-unicast

Context

config>router>isis>multi-topology

Description

This command enables multitopology TLVs and global support for IPv6 unicast routing topology MT 2 in the associated IS-IS instance.

The no form of the command disables the multitopology TLVs and global support.

Default

no ipv6-unicast

multicast-import
Syntax

[no] multicast-import [{both | ipv4 | ipv6}]

Context

config>router>isis

Description

This command enables the submission of IPv4 routes, IPv6 routes, or both IPv4 and IPv6 routes into the multicast routing table manager (RTM) by IS-IS.

The no form of the command disables the submission of routes into the multicast RTM.

Default

no multicast-import

Parameters
both

specifies that both IPv4 and IPv6 routes are submitted into the RTM

ipv4

specifies that IPv4 routes are submitted into the RTM

ipv6

specifies that IPv6 routes are submitted into the RTM

overload
Syntax

overload [timeout seconds] [max-metric]

no overload

Context

config>router>isis

Description

This command administratively sets the IS-IS router to operate in the overload state for a specific time period or indefinitely.

During normal operation, the router may be forced to enter an overload state because of a lack of resources. When in the overload state, the router is only used if the destination is reachable by the router and will not be used for other transit traffic.

If a time period is specified, the overload state persists for the configured length of time. If no time is specified, the overload state operation is maintained indefinitely.

The overload command can be useful in circumstances where the router is overloaded or used before executing a shutdown command to divert traffic around the router.

The max-metric parameter can be set to advertise transit links with the maximum metric value of 0x3f (63 decimal) for regular metrics or 0xffffffe (16 777 214 decimal) for wide metrics when placing the router in overload, instead of using the overload bit.

The no form of the command causes the router to exit the overload state.

Default

no overload

Parameters
seconds

the number of seconds that the router remains in the overload state

Values

60 to 1800

Default

infinity (overload state maintained indefinitely)

max-metric

advertises transit links with the maximum metric instead of setting the overload bit

overload-on-boot
Syntax

overload-on-boot [timeout seconds] [max-metric]

no overload-on-boot

Context

config>router>isis

Description

This command configures IS-IS in the overload state upon boot-up until one of the following events occurs:

  • the timeout timer expires

  • the current overload state is manually overridden with the no overload command

When the router is in an overload state, the router is used only if there is no other router to reach the destination.

The no overload command does not affect the overload-on-boot function. If the overload state is cleared with the no overload command, the router will still re-enter the overload state after rebooting.

If no timeout is specified, IS-IS will go into the overload state indefinitely after a reboot. After the reboot, the IS-IS status will display a permanent overload state:

  • L1 LSDB Overload : Manual on boot (Indefinitely in overload)

  • L2 LSDB Overload : Manual on boot (Indefinitely in overload)

This state can be cleared with the no overload command.

If a timeout value is specified, IS-IS will go into the overload state for the configured timeout after a reboot. After the reboot, the IS-IS status will display the remaining time that the system stays in overload:

  • L1 LSDB Overload : Manual on boot (Overload Time Left : 17)

  • L2 LSDB Overload : Manual on boot (Overload Time Left : 17)

The overload state can be cleared before the timeout expires with the no overload command.

The max-metric parameter can be set to advertise transit links with the maximum metric value of 0x3f (63 decimal) for regular metrics or 0xffffffe (16 777 214 decimal) for wide metrics when placing the router in overload, instead of using the overload bit.

The no form of the command removes the overload-on-boot functionality from the configuration.

Default

no overload-on-boot

Parameters
seconds

the number of seconds that the router remains in the overload state after rebooting

Values

60 to 1800

Default

60

max-metric

advertises transit links with the maximum metric instead of setting the overload bit

poi-tlv-enable
Syntax

[no] poi-tlv-enable

Context

config>router>isis

Description

This command enables the use of the Purge Originator Identification (POI) TLV for this IS-IS instance. The POI is added to purges and contains the system ID of the router that generated the purge, which simplifies troubleshooting and determining what caused the purge. The no form of this command removes the POI functionality from the configuration.

Default

no poi-tlv-enable

psnp-authentication
Syntax

[no] psnp-authentication

Context

config>router>isis

config>router>isis>level

Description

This command enables authentication of individual IS-IS packets of partial sequence number PDUs (PSNPs).

The no form of the command suppresses authentication of PSNP packets.

Default

psnp-authentication

reference-bandwidth
Syntax

reference-bandwidth bandwidth-in-kbps

reference-bandwidth [tbps Tera-bps] [gbps Giga-bps] [mbps Mega-bps] [kbps Kilo-bps]

no reference-bandwidth

Context

config>router>isis

Description

This command configures the reference bandwidth used to calculate the default costs of interfaces based on their underlying link speed.

The default interface cost is calculated as follows:

cost = reference bandwidth/bandwidth

If the reference bandwidth is configured as 10 Gbytes (10 000 000 000), a 100 Mb/s interface has a default metric of 100. In order for metrics in excess of 63 to be configured, wide metrics must be deployed (see the wide-metrics-only command).

If the reference bandwidth is not configured, all interfaces have a default metric of 10.

The no form of the command resets the reference bandwidth to the default value.

Default

no reference-bandwidth (all interfaces have a metric of 10)

Parameters
bandwidth-in-kbps

the reference bandwidth in kilobits per second, expressed as a decimal integer

Values

1 to 400000000

Tera-bps

the reference bandwidth in terabits per second, expressed as a decimal integer

Values

1 to 4

Giga-bps

the reference bandwidth in gigabits per second, expressed as a decimal integer

Values

1 to 999

Mega-bps

the reference bandwidth in megabits per second, expressed as a decimal integer

Values

1 to 999

Kilo-bps

the reference bandwidth in kilobits per second, expressed as a decimal integer

Values

1 to 999

rsvp-shortcut
Syntax

rsvp-shortcut

no rsvp-shortcut

Context

config>router>isis

Description

This command enables the use of an RSVP-TE shortcut for resolving IS-IS routes. When the command is enabled, IS-IS includes RSVP-TE LSPs originating on this node and terminating on the router ID of a remote node as direct links with a metric equal to the operational metric provided by MPLS.

The SPF algorithm will always use the IGP metric to build the SPF tree, and the LSP metric value does not update the SPF tree calculation. During the IP reach to determine the reachability of nodes and prefixes, LSPs are overlaid and the LSP metric is used to determine the subset of paths that are of an equal lowest cost to reach a node or a prefix. If the relative-metric option for this LSP is enabled (in the config>router>mpls>lsp>igp-shortcut context), IS-IS will apply the shortest cost between the endpoints of the LSP plus the value of the offset, instead of the LSP operational metric, when calculating the cost of a prefix that is resolved to the LSP.

When a prefix is resolved to a tunnel next hop, the packet is sent labeled with the label stack corresponding to the NHLFE of the RSVP-TE LSP. Any network event that causes an RSVP-TE LSP to go down will trigger a full SPF calculation, which may result in a new route being installed over another RSVP-TE LSP shortcut as a tunnel next hop or over a regular IP next hop.

When the rsvp-shortcut command is enabled, all RSVP-TE LSPs originating on this node are eligible by default as long as the destination address of the LSP, as configured with the config>router>mpls> lsp>to command, corresponds to a router ID of a remote node. A specific LSP can be excluded from being used as a shortcut with the config>router>mpls> lsp>no igp-shortcut command.

If ECMP is enabled on the system and multiple equal-cost paths exist for the route over a set of tunnel next hops (based on the hashing routine supported for IPv4 packets), there are two possibilities:

  • if the destination is the tunnel endpoint, the system selects the tunnel with the lowest tunnel ID (the IP next hop is never used)

  • if the destination is different from the tunnel endpoint, the system:

    • selects tunnel endpoints where the LSP metric is lower than the IGP cost

    • prefers tunnel endpoints over IP next hops

ECMP is not performed across both the IP and tunnel next hops.

IS-IS can populate the multicast RTM with the prefix IP next hop when both rsvp-shortcut and multicast-import are enabled. The unicast RTM can still use the tunnel next hop for the same prefix.

The forwarding adjacency feature (advertise-tunnel-link) can be enabled independently from the shortcuts feature. If both features are enabled for a given IS-IS instance, the forwarding adjacency feature takes precedence.

The no form of this command disables the resolution of IGP routes using RSVP shortcuts.

Default

no rsvp-shortcut

segment-routing
Syntax

[no] segment-routing

Context

config>router>isis

Description

This command enables the context to configure segment routing parameters within an IGP instance.

Segment routing adds to IS-IS and OSPF routing protocols the ability to perform shortest path routing and source routing using the concept of abstract segment. An abstract segment can represent a local prefix of a node, a specific adjacency of the node (interface or next-hop), a service context, or a specific explicit path over the network. For each segment, the IGP advertises an identifier referred to as the segment ID (SID).

When segment routing is used together with the MPLS data plane, the SID is a standard MPLS label. A router forwarding a packet using segment routing will push one or more MPLS labels.

Segment routing using MPLS labels can be used in both shortest path routing applications and traffic engineering applications. On the 7705 SAR, segment routing implements the shortest path forwarding application.

After segment routing is successfully enabled in the IS-IS instance or in OSPF, the router will perform the following operations:

  • advertise the Segment Routing Capability sub-TLV to routers in all areas or levels of this IGP instance. However, only neighbors with which the IGP instance established an adjacency will interpret the SID and label range information and use it for calculating the label to swap to or push for a particular resolved prefix SID.

  • advertise the assigned index for each configured node SID in the new prefix SID sub-TLV with the N-flag (node SID flag) set. The segment routing module then programs the incoming label map (ILM) with a pop operation for each local node SID in the data path.

  • automatically assign and advertise an adjacency SID label for each formed adjacency over a network IP interface in the new Adjacency SID sub-TLV. The segment routing module programs the incoming label map (ILM) with a pop operation, in effect with a swap to an implicit null label operation, for each advertised adjacency SID.

  • resolve received prefixes, and if a prefix SID sub-TLV exists, the segment routing module programs the ILM with a swap operation and programs an LSP ID to NHLFE (LTN) with a push operation, both pointing to the primary/LFA NHLFE. An SR tunnel is also added to the TTM.

When the user enables segment routing in an IGP instance, the main SPF and LFA SPF are computed normally and the primary next hop and LFA backup next hop for a received prefix are added to the RTM without the label information advertised in the prefix SID sub-TLV.

adj-sid-hold
Syntax

adj-sid-hold seconds

no adj-sid-hold

Context

config>router>isis>segment-routing

Description

This command configures a timer to hold the ILM or LTN of an adjacency SID following a failure of the adjacency.

When an adjacency to a neighbor fails, the IGP will withdraw the advertisement of the link TLV information as well as its adjacency SID sub-TLV. However, the ILM or LTN record of the adjacency SID must be kept in the data path to maintain forwarding using the LFA or remote LFA backup for a sufficient length of time to allow the ingress LER and other routers that use this adjacency SID to activate a new path after the IGP converges.

If the adjacency is restored before the timer expires, the timer is aborted as soon as the new ILM or LTN records are updated with the new primary and backup NHLFE information.

The no form of the command removes the adjacency SID hold time.

Default

15

Parameters
seconds

the adjacency SID hold time, in seconds

Values

1 to 300

entropy-label
Syntax

entropy-label {force-disable | enable}

no entropy-label

Context

config>router>isis>segment-routing

Description

This command, when used with the force-disable keyword, instructs the system to ignore any received IGP advertisements of entropy label capability relating to remote nodes in the network. The command also prevents a user from configuring override-tunnel-elc for the IGP instance.

The no version of this command enables the processing of any received IGP advertisements of entropy label capability. Using the enable keyword has the same effect.

Default

entropy-label enable

Parameters
force-disable

forces the system to ignore any received advertisements of entropy label capability signaled in the IGP

enable

enables the system to process any received advertisements of entropy label capability signaled in the IGP

export-tunnel-table
Syntax

export-tunnel-table ldp

no export-tunnel-table

Context

config>router>isis>segment-routing

Description

This command enables the exporting of LDP tunnels from the TTM to an IGP instance for the purpose of stitching an SR tunnel to an LDP FEC for the same destination IPv4 /32 prefix.

When this command is enabled, the IGP monitors the LDP tunnel entries in the TTM. Whenever an LDP tunnel destination matches a prefix for which IGP received a prefix SID sub-TLV from the mapping server, the IGP instructs the SR module to program the SR ILM and to stitch it to the LDP tunnel endpoint.

The no form of this command disables the exporting of LDP tunnels to the IGP instance.

Default

no export-tunnel-table

Parameters
ldp

exports LDP tunnels from the TTM to an IGP instance

mapping-server
Syntax

[no] mapping-server

Context

config>router>isis>segment-routing

Description

This command enables the context to enable the SR mapping server feature for an IS-IS instance.

The mapping server feature allows the configuration and advertisement via IS-IS of the node SID index for IS-IS prefixes of routers that are in the LDP domain. The router that is acting as a mapping server uses a prefix SID sub-TLV within the SID/Label Binding TLV in IS-IS to advertise a node SID index.

The no form of this command deletes the mapping server.

sid-map
Syntax

sid-map node-sid {index value [range value]} prefix {ip-address/mask | ip-address netmask} [set-flags {s}] [level {1 | 2 | 1/2}]

no sid-map node-sid index value

Context

config>router>isis>segment-routing>mapping-server

Description

This command configures the SR mapping server database for an IS-IS instance.

The node-sid index can be configured for one prefix or a range of prefixes by specifying the index value or a value range.

Only the first prefix in a consecutive range of prefixes must be entered. If the first prefix has a mask lower than 32, the SID/Label Binding TLV is advertised but the router does not resolve the prefix SIDs; a trap is originated instead.

The set-flags s option indicates to the IS-IS network routers that the flooding of the SID/Label Binding TLV applies to the entire domain. A router that receives the TLV advertisement leaks it between IS-IS levels 1 and 2. If leaked from level 2 to level 1, the D-flag must be set; this prevents the TLV from being leaked back into level 2. The S-flag is not defined by default; if it is not configured, the TLV is not leaked by routers receiving the mapping server advertisement.

The level option specifies the mapping server's flooding scope for the generated SID/Label Binding TLV using t. The default flooding scope of the mapping server is level 1/2.

The no form of this command deletes the range of node SIDs beginning with the specified index value.

Parameters
index value

specifies the node SID index for the IS-IS prefix that will be advertised in a SID/Label Binding TLV

Values

0 to 4294967295

range value

specifies the node SID range for the IS-IS prefixes that will be advertised in a SID/Label Binding TLV

Values

0 to 65535

ip-address/mask | ip-address

specifies the IP address or the IP address and mask length

netmask

specifies the subnet mask in dotted-decimal notation

set-flags s

specifies that the flooding of the SID/Label Binding TLV applies to the entire domain

level {1 | 2 | 1/2}

specifies the mapping server flooding scope for the generated SID/Label Binding TLV

Default

1/2

prefix-sid-range
Syntax

prefix-sid-range global

prefix-sid-range start-label label-value max-index index-value

no prefix-sid-range

Context

config>router>isis>segment-routing

Description

This command configures the prefix SID index range and offset label value for an IGP instance.

The key parameter is the configuration of the prefix SID index range and the offset label value that this IGP instance will use. Because each prefix SID represents a network global IP address, the SID index for a prefix must be unique network-wide. Therefore, all routers in the network are expected to configure and advertise the same prefix SID index range for an IGP instance. However, the label value used by each router to represent this prefix, that is, the label programmed in the ILM, can be local to that router by the use of an offset label, referred to as a start label:

Local Label (Prefix SID) = start-label + {SID index}

The label operation in the network is very similar to LDP when operating in the independent label distribution mode (RFC 5036, LDP Specification), with the difference that the label value used to forward a packet to each downstream router is computed by the upstream router based on the advertised prefix SID index using the above formula.

There are two mutually exclusive modes of operation for the prefix SID range on the router: global mode and per-instance mode.

In global mode, the user configures the global value and the IGP instance assumes that the start label value is the lowest label value in the Segment Routing Global Block (SRGB) and the prefix SID index range size is equal to the range size of the SRGB. When one IGP instance selects the global option for the prefix SID range, all IGP instances on the system must do the same. The user must shut down the segment routing context and disable the prefix-sid-range command in all IGP instances in order to change the SRGB. When the SRGB is changed, the user must re-enable the prefix-sid-range command. The SRGB range change will fail if an already allocated SID index/label goes out of range.

In per-instance mode, the user partitions the SRGB into non-overlapping sub-ranges among the IGP instances. The user configures a subset of the SRGB by specifying the start label value and the prefix SID index range size. All resulting net label values (start-label + index) must be within the SRGB or the configuration will fail. The 7705 SAR checks for overlaps of the resulting net label value range across IGP instances and will strictly enforce no overlapping of these ranges. The user must shut down the segment routing context of an IGP instance in order to change the SID index/label range of that IGP instance using the prefix-sid-range command. A range change will fail if an already allocated SID index/label goes out of range. The user can change the SRGB without shutting down the segment routing context as long as it does not reduce the current per-IGP instance SID index/label range defined with the prefix-sid-range command. Otherwise, the user must shut down the segment routing context of the IGP instance, and disable and re-enable the prefix-sid-range command.

Default

no prefix-sid-range

Parameters
label-value

specifies the label offset for the SR label range of this IGP instance

Values

0 to 524287

index-value

specifies the maximum value of the prefix SID index range for this IGP instance

Values

1 to 524287

srlb
Syntax

srlb reserved-label-block-name

no srlb

Context

config>router>isis>segment-routing

Description

This command specifies the reserved label block to use for the segment routing local block (SRLB) for this IS-IS instance. The reserved label block must first be configured in the config>router>mpls-labels context.

The no form of the command removes the SRLB.

Default

no srlb

Parameters
reserved-label-block-name

the name of the reserved label block

tunnel-mtu
Syntax

tunnel-mtu bytes

no tunnel-mtu

Context

config>router>isis>segment-routing

Description

This command configures the MTU of all SR tunnels within each IGP instance.

The MTU of an SR tunnel populated into the TTM is determined in the same way as the MTU of an IGP tunnel (for example, an LDP LSP) based on the outgoing interface MTU minus the label stack size. Remote LFA can add, at most, one more label to the tunnel for a total of two labels. There is no default value for this command. If the user does not configure an SR tunnel MTU, the MTU, in bytes, is determined by IGP as follows:

SR_Tunnel_MTU = MIN {Cfg_SR_MTU, IGP_Tunnel_MTU – (1 + frr-overhead)✕ 4}

where:

  • Cfg_SR_MTU is the MTU configured by the user for all SR tunnels within an IGP instance using the tunnel-mtu command. If no value is configured by the user, the SR tunnel MTU is determined by the IGP interface calculation described in the following bullet point

  • IGP_Tunnel_MTU is the minimum of the IS-IS or OSPF interface MTU among all the ECMP paths or among the primary and LFA backup paths of this SR tunnel

  • frr-overhead is set to 1 if the segment-routing and remote-lfa options are enabled in the IGMP instance. Otherwise, it is set to 0.

The SR tunnel MTU is dynamically updated whenever any of the above parameters used in its calculation changes. This includes if the set of the tunnel next hops changes or the user changes the configured SR MTU or interface MTU value.

Default

no tunnel-mtu

Parameters
bytes

specifies the size of the MTU in bytes

Values

512 to 9198

tunnel-table-pref
Syntax

tunnel-table-pref preference

no tunnel-table-pref

Context

config>router>isis>segment-routing

Description

This command configures the TTM preference of shortest path SR tunnels created by the IGP instance. This is used for BGP shortcuts, VPRN autobind, or BGP transport tunnel when the tunnel binding commands are configured to the any value, which parses the TTM for tunnels in the protocol preference order. The user can choose either the global TTM preference or explicitly list the tunnel types they want to use. If the user lists the tunnel types explicitly, the TTM preference is still used to select one type over the other. In both cases, a fallback to the next preferred tunnel type is performed if the selected type fails. A reversion to a more preferred tunnel type is performed as soon as one is available.

The segment routing module adds to the TTM an SR tunnel entry for each resolved remote node SID prefix and programs the data path having the corresponding LTN with the push operation pointing to the primary and LFA backup NHLFEs.

The default preference for shortest path SR tunnels in the TTM is set lower than LDP tunnels but higher than BGP tunnels to allow controlled migration of customers without disrupting their current deployment when they enable segment routing. The following list shows the value of the default preference for the various tunnel types. This includes the preference of SR tunnels based on shortest path (referred to as SR-ISIS and SR-OSPF).

Note: The preference of the SR-TE LSP is not configurable and is the second most preferred tunnel type after RSVP-TE. The preference is the same whether the SR-TE LSP was resolved in IS-IS or OSPF.

The global default TTM preference for the tunnel types is as follows:

ROUTE_PREF_RSVP

7

ROUTE_PREF_SR_TE

8

ROUTE_PREF_LDP

9

ROUTE_PREF_SR_OSPF_TTM

10

ROUTE_PREF_SR_ISIS_TTM

11

ROUTE_PREF_BGP_TTM

12

ROUTE_PREF_GRE

255

The default value for SR-ISIS is the same regardless of whether one or more IS-IS instances programmed a tunnel for the same prefix. The selection of an SR tunnel in this case is based on the lowest IGP instance ID.

Default

11

Parameters
preference

specifies the integer value to represent the preference of IS-IS SR tunnels in the TTM

Values

1 to 255

strict-adjacency-check
Syntax

[no] strict-adjacency-check

Context

config>router>isis

Description

This command enables strict checking of address families (IPv4 and IPv6) for IS-IS adjacencies. When enabled, adjacencies will not come up unless both routers have exactly the same address families configured. If there is an existing adjacency with unmatched address families, it will be torn down. By ensuring that adjacencies are only established if both routers have the same address families, this command prevents the blackholing of traffic that may occur when IPv4 and IPv6 topologies are different.

When the command is disabled, both routers only need to have one common address family to establish the adjacency. A BFD session failure for either IPv4 or IPv6 will cause the routes for the other address family to be removed as well.

Default

no strict-adjacency-check

summary-address
Syntax

summary-address {ip-prefix/prefix-length | ip-prefix [netmask]} level

no summary-address {ip-prefix/prefix-length | ip-prefix [netmask]}

Context

config>router>isis

Description

This command creates summary addresses.

Default

no summary-address

Parameters
ip-prefix/prefix-length | ip-prefix

the IPv4 or IPv6 prefix or the IP prefix and prefix length

netmask

the subnet mask in dotted-decimal notation

level

the IS-IS level

Values

level-1, level-2, level-1/2

suppress-attached-bit
Syntax

[no] suppress-attached-bit

Context

config>router>isis

Description

This command suppresses the setting of the attached (ATT) bit in level 1 LSPs originated by this level 1/2 router to prevent all level 1 routers in the area from installing a default route to this router.

The no form of the command enables the setting of the ATT bit.

Default

no suppress-attached-bit

timers
Syntax

[no] timers

Context

config>router>isis

Description

This command configures the IS-IS timer values.

lsp-wait
Syntax

lsp-wait lsp-wait [lsp-initial-wait initial-wait] [lsp-second-wait second-wait]

no lsp-wait

Context

config>router>isis>timers

Description

This command is used to customize LSP generation throttling. Timers that determine when to generate the first, second, and subsequent LSPs can be controlled with this command. Subsequent LSPs are generated at increasing intervals of the second lsp-wait timer until a maximum value is reached.

Note: The IS-IS timer granularity is 100 ms. Timer values are rounded down to the nearest supported value; for example, a configured value of 550 ms is internally rounded down to 500 ms.
Default

lsp-wait 5000

Parameters
lsp-wait

the maximum interval, in milliseconds, between two consecutive occurrences of an LSP being generated

Values

10 to 120000

Default

5000

initial-wait

the initial LSP generation delay, in milliseconds. Values less than 100 ms are internally rounded down to 0, so that there is no added initial LSP generation delay.

Values

10 to 100000

Default

10

second-wait

the hold time, in milliseconds, between the first and second LSP generation

Values

10 to 100000

Default

1000

spf-wait
Syntax

spf-wait spf-wait [spf-initial-wait initial-wait] [spf-second-wait second-wait]

no spf-wait

Context

config>router>isis>timers

Description

This command defines the maximum interval, in milliseconds, between two consecutive SPF calculations. Timers that determine when to initiate the first, second, and subsequent SPF calculations after a topology change occurs can be controlled with this command.

Subsequent SPF runs (if required) will occur at exponentially increasing intervals of the spf-second-wait interval. For example, if the spf-second-wait interval is 1000, the next SPF will run after 2000 ms, the SPF after that will run after 4000 ms, and so on, until it reaches the spf-wait value. The SPF interval will stay at the spf-wait value until there are no more SPF runs scheduled in that interval. After a full interval without any SPF runs, the SPF interval will drop back to the spf-initial-wait value.

Note: The IS-IS timer granularity is 100 ms. Timer values are rounded down to the nearest supported value; for example, a configured value of 550 ms is internally rounded down to 500 ms.
Default

spf-wait 10000

Parameters
spf-wait

the maximum interval, in milliseconds, between two consecutive SPF calculations

Values

10 to 120000

Default

10000

initial-wait

the initial SPF calculation delay, in milliseconds, after a topology change

Values

10 to 100000

Default

1000

second-wait

the hold time, in milliseconds, between the first and second SPF calculation

Values

10 to 100000

Default

1000

traffic-engineering
Syntax

[no] traffic-engineering

Context

config>router>isis

Description

This command enables traffic engineering and determines if IGP shortcuts are required.

The no form of the command disables traffic-engineered route calculations.

Default

no traffic-engineering

unicast-import-disable
Syntax

[no] unicast-import-disable [ipv4]

Context

config>router>isis

Description

This command allows one IGP to import its routes into the multicast RTM (also known as the RPF RTM [Reverse Path Forwarding - Route Table Manager]) while another IGP imports routes only into the unicast RTM. Import policies can redistribute routes from an IGP protocol into the RPF RTM. By default, the IGP routes will not be imported into the RPF RTM because such an import policy must be explicitly configured.

The no form of the command enables importing IGP routes into the RPF RTM.

Default

no unicast-import-disable ipv4

Interface commands
interface
Syntax

[no] interface ip-int-name

Context

config>router>isis

Description

This command enables the context to configure an IS-IS interface.

When an area is defined, the interfaces belong to that area. Interfaces cannot belong to other areas.

If the interface is a POS channel, the OSI Network Layer Control Protocol (OSINLCP) is enabled when the interface is created and removed when the interface is deleted.

The no form of the command deletes the IS-IS interface configuration for this interface. The shutdown command in the config>router>isis>interface context can be used to disable an interface without removing the configuration for the interface.

Default

no interface

Parameters
ip-int-name

the IP interface name. Interface names must be unique within the group of defined IP interfaces for the config>router>interface command. An interface name cannot be in the form of an IP address. Interface names can be any string up to 32 characters long composed of printable, 7-bit ASCII characters. If the string contains special characters (such as #, $, or spaces), the entire string must be enclosed within double quotes.

bfd-enable
Syntax

[no] bfd-enable ipv4

Context

config>router>isis>interface

Description

This command enables the use of bidirectional forwarding (BFD) to control IPv4 adjacencies. By enabling BFD on a given IS-IS interface, the state of the interface is tied to the state of the BFD session between the local node and the remote node. The parameters used for BFD are set via the BFD command under the IP interface.

The no form of this command removes BFD from the associated IPv4 adjacency.

Default

no bfd-enable ipv4

csnp-interval
Syntax

csnp-interval seconds

no csnp-interval

Context

config>router>isis>interface

Description

This command configures the interval, in seconds, to send complete sequence number PDUs (CSNPs) from the interface. IS-IS must send CSNPs periodically.

The no form of the command reverts to the default value.

Default

csnp-interval 10 – CSN PDUs are sent every 10 s for LAN interfaces

csnp-interval 5 – CSN PDUs are sent every 5 s for point-to-point interfaces

Parameters
seconds

the CSNP interval expressed in seconds

Values

1 to 65535

hello-auth-keychain
Syntax

hello-auth-keychain name

no hello-auth-keychain

Context

config>router>isis>interface

config>router>isis>interface>level

Description

This command associates a Hello authentication keychain with the IS-IS interface or interface level. The keychain is a collection of keys used to authenticate IS-IS messages from remote peers. The keychain allows the rollover of authentication keys during the lifetime of a session and also supports stronger authentication algorithms than clear text and MD5.

The keychain must already be defined in the config>system>security>keychain context.

Either the hello-authentication-key command or the hello-auth-keychain command can be used by IS-IS, but both cannot be supported at the same time. If both commands are configured, the hello-auth-keychain configuration will be applied and the hello-authentication-key command will be ignored.

Default

no hello-auth-keychain

Parameters
name

the name of the keychain, up to 32 characters

hello-authentication-key
Syntax

hello-authentication-key {authentication-key | hash-key} [hash | hash2]

no hello-authentication-key

Context

config>router>isis>interface

config>router>isis>interface>level

Description

This command configures the authentication key (password) for Hello PDUs. Neighboring routers use the password to verify the authenticity of Hello PDUs sent from this interface. Both the Hello authentication key and the Hello authentication type on a segment must match. The hello-authentication-type command must also be entered.

To configure the Hello authentication key for all levels configured for the interface, use the hello-authentication-key command in the config>router>isis>interface context.

To configure or override the Hello authentication key for a specific level, use the hello-authentication-key command in the config>router>isis>interface>level context.

If both IS-IS authentication and Hello authentication are configured, Hello messages are validated using Hello authentication. If only IS-IS authentication is configured, it will be used to authenticate all IS-IS protocol PDUs, including Hello PDUs.

Either the hello-authentication-key command or the hello-auth-keychain command can be used by IS-IS, but both cannot be supported at the same time. If both commands are configured, the hello-auth-keychain configuration will be applied and the hello-authentication-key command will be ignored.

The no form of the command removes the hello authentication key from the configuration.

Default

no hello-authentication-key

Parameters
authentication-key

the authentication key can be any combination of ASCII characters up to 254 characters in length (unencrypted). If spaces are used in the string, the entire string must be enclosed within double quotes (‟ ”).

hash-key

the hash key can be any combination of ASCII characters up to 352 characters in length (encrypted) or 451 characters in length (if the hash2 parameter is used). If spaces are used in the string, the entire string must be enclosed within double quotes (‟ ”).

This is useful when a user must configure the parameter, but for security purposes, the actual unencrypted key value is not provided.

hash

specifies that the key is entered in an encrypted form. If the hash parameter is not used, the key is assumed to be in a non-encrypted, clear text form. For security, all keys are stored in encrypted form in the configuration file with the hash parameter specified.

hash2

specifies that the key is entered in a more complex encrypted form. If the hash2 parameter is not used, the less encrypted hash form is assumed.

hello-authentication-type
Syntax

hello-authentication-type {password | message-digest}

no hello-authentication-type

Context

config>router>isis>interface

config>router>isis>interface>level

Description

This command enables Hello authentication at either the interface or level context. Both the hello authentication key and the hello authentication type on a segment must match. The hello-auth-keychain command must also be entered.

To configure the hello authentication type for all levels configured for the interface, use the hello-authentication-type command in the config>router>isis>interface context.

To configure or override the hello authentication type for a specific level, use the hello-authentication-type command in the config>router>isis>interface>level context.

The no form of the command disables Hello PDU authentication.

Default

no hello-authentication-type

Parameters
password

enables simple password (plaintext) authentication. If authentication is enabled and no authentication type is specified in the command, simple password authentication is enabled.

message-digest

enables message-digest MD5 authentication in accordance with RFC 1321. If this option is configured, at least one message-digest-key must be configured.

hello-interval
Syntax

hello-interval seconds

no hello-interval

Context

config>router>isis>interface>level

Description

This command configures the interval between IS-IS Hello PDUs issued on the interface at this level. The hello-interval, along with the hello-multiplier, is used to calculate a hold time, which is communicated to a neighbor in a Hello PDU.

Note: The neighbor hold time is (hello multiplier ✕ hello interval) on non-designated intermediate system broadcast interfaces and point-to-point interfaces and is (hello multiplier ✕ hello interval / 3) on designated intermediate system broadcast interfaces. Hello values can be adjusted for faster convergence, but the hold time should always be > 3 to reduce routing instability.

The no form of this command reverts to the default value.

Default

3 – for designated intermediate system interfaces

9 – for non-designated intermediate system interfaces and point-to-point interfaces

Parameters
seconds

the hello interval, in seconds, expressed as a decimal integer

Values

1 to 20000

hello-multiplier
Syntax

hello-multiplier multiplier

no hello-multiplier

Context

config>router>isis>interface>level

Description

This command configures a hello multiplier. The hello-multiplier, along with the hello-interval, is used to calculate a hold time, which is communicated to a neighbor in a Hello PDU.

The hold time is the time in which the neighbor expects to receive the next Hello PDU. If the neighbor receives a Hello within this time, the hold time is reset. If the neighbor does not receive a Hello within the hold time, it brings the adjacency down.

Note: The neighbor hold time is (hello multiplier ✕ hello interval) on non-designated intermediate system broadcast interfaces and point-to-point interfaces and is (hello multiplier ✕ hello interval / 3) on designated intermediate system broadcast interfaces. Hello values can be adjusted for faster convergence, but the hold time should always be > 3 to reduce routing instability.

The no form of this command reverts to the default value.

Default

3

Parameters
multiplier

the multiplier for the hello interval, in seconds, expressed as a decimal integer

Values

2 to 100

interface-type
Syntax

interface-type {broadcast | point-to-point}

no interface-type

Context

config>router>isis>interface

Description

This command configures the interface type to be either broadcast or point-to-point.

Use this command to set the interface type of an Ethernet link to point-to-point to avoid having to carry the broadcast adjacency maintenance overhead of the Ethernet link, provided the link is used as a point-to-point link.

If the interface type is not known when the interface is added to IS-IS, and the IP interface is subsequently bound (or moved) to a different interface type, this command must be entered manually.

The no form of the command reverts to the default value.

Default

broadcast – if the physical interface is Ethernet or unknown

point-to-point – if the physical interface is T1, E1, or SONET/SDH

Parameters
broadcast

configures the interface to maintain this link as a broadcast network. To significantly improve adjacency forming and network convergence, a network should be configured as point-to-point if only two routers are connected, even if the network is a broadcast media such as Ethernet.

point-to-point

configures the interface to maintain this link as a point-to-point link

ipv4-adjacency-sid
Syntax

ipv4-adjacency-sid label value

no ipv4-adjacency-sid

Context

config>router>isis>interface

Description

This command assigns a static value to an IPv4 adjacency SID in IS-IS segment routing.

The no form of the command removes the adjacency SID.

Default

no ipv4-adjacency-sid

Parameters
value

the static value of the adjacency SID

Values

1 to 1048575 within the segment routing local block (SRLB) range

ipv4-multicast-disable
Syntax

[no] ipv4-multicast-disable

Context

config>router>isis>interface

Description

This command disables IS-IS IPv4 multicast routing for the interface.

The no form of the command enables IS-IS IPv4 multicast routing for the interface.

Default

no ipv4-multicast-disable

ipv4-multicast-metric
Syntax

ipv4-multicast-metric ipv4-multicast-metric

no ipv4-multicast-metric

Context

config>router>isis>interface>level

Description

This command configures the metric to be used for the IS-IS interface in the IPv4 multicast routing topology (MT 3).

The no form of the command returns the setting to the default value. This may be either the system default or the default metric for the associated topology if one is configured.

Default

10

Parameters
ipv4-multicast-metric

specifies the metric to be used for the associated interface in the SPF calculation for the IPv4 multicast routing topology (MT 3)

Values

1 to 16777215

ipv4-node-sid
Syntax

ipv4-node-sid index index-value

ipv4-node-sid label label-value

no ipv4-node-sid

Context

config>router>isis>interface

Description

This command assigns a node SID index or label value to the prefix representing the primary address of an IPv4 network interface of type loopback. Only a single node SID can be assigned to an interface. The secondary address of an IPv4 interface cannot be assigned a node SID index and does not inherit the SID of the primary IPv4 address.

This command fails if the network interface is not of type loopback or if the interface is defined in an IES or a VPRN context.

Assigning the same SID index or label value to the same interface in two different IGP instances is not allowed within the same node.

The value of the label or index SID is taken from the range configured for this IGP instance. When using the global mode of operation, the segment routing module checks that the same index or label value is not assigned to more than one loopback interface address. When using the per-instance mode of operation, this check is not required because the index, and therefore the label ranges, of IGP instances are not allowed to overlap.

Default

no ipv4-node-sid

Parameters
index-value

specifies the index value

Values

0 to 4294967295

label-value

specifies the label value

Values

0 to 4294967295

ipv6-adjacency-sid
Syntax

ipv6-adjacency-sid label value

no ipv6-adjacency-sid

Context

config>router>isis>interface

Description

This command assigns a static value to an IPv6 adjacency SID in IS-IS segment routing.

The no form of the command removes the adjacency SID.

Default

no ipv6-adjacency-sid

Parameters
value

the static value of the adjacency SID

Values

1 to 1048575 within the segment routing label block (SRLB) range

ipv6-multicast-disable
Syntax

[no] ipv6-multicast-disable

Context

config>router>isis>interface

Description

This command disables IS-IS IPv6 multicast routing for the interface.

The no form of the command enables IS-IS IPv6 multicast routing for the interface.

Default

no ipv6-multicast-disable

ipv6-multicast-metric
Syntax

ipv6-multicast-metric ipv6-multicast-metric

no ipv6-multicast-metric

Context

config>router>isis>interface>level

Description

This command configures the metric to be used for the IS-IS interface in the IPv6 multicast routing topology (MT 4).

The no form of the command returns the setting to the default value. This may be either the system default or the default metric for the associated topology if one is configured.

Default

10

Parameters
ipv6-multicast-metric

specifies the metric to be used for the associated interface in the SPF calculation for the IPv6 multicast routing topology (MT 4)

Values

1 to 16777215

ipv6-node-sid
Syntax

ipv6-node-sid index index-value

ipv6-node-sid label label-value

no ipv6-node-sid

Context

config>router>isis>interface

Description

This command assigns a node SID index or label value to the prefix representing the primary address of an IPv6 network interface of type loopback. Only a single node SID can be assigned to an IPv6 interface. When an IPv6 interface has multiple global addresses, the primary address is always the first one in the list, as displayed by the interface info command.

This command fails if the network interface is not of type loopback or if the interface is defined in an IES or a VPRN context.

Assigning the same SID index or label value to the same interface in two different IGP instances is not allowed within the same node.

The value of the label or index SID is taken from the range configured for this IGP instance. When using the global mode of operation, the segment routing module checks that the same index or label value is not assigned to more than one loopback interface address. When using the per-instance mode of operation, this check is not required because the index, and therefore the label ranges, of IGP instances are not allowed to overlap.

Default

no ipv6-node-sid

Parameters
index-value

specifies the index value

Values

0 to 4294967295

label-value

specifies the label value

Values

0 to 4294967295

ipv6-unicast-disable
Syntax

[no] ipv6-unicast-disable

Context

config>router>isis>interface

Description

This command disables IS-IS IPv6 unicast routing for the interface.

By default, IPv6 unicast is enabled on all interfaces. However, IPv6 unicast routing in IS-IS is essentially in a multitopology when the config>router>isis>ipv6-routing mt command is configured.

The no form of the command enables IS-IS IPv6 unicast routing for the interface.

Default

no ipv6-unicast-disable

ipv6-unicast-metric
Syntax

ipv6-unicast-metric ipv6-metric

no ipv6-unicast-metric

Context

config>router>isis>interface>level

Description

This command configures the metric to be used for the IS-IS interface in the IPv6 unicast routing topology (MT 2).

The no form of the command returns the setting to the default value. This may be either the system default or the default metric for the associated topology if one is configured.

Default

10

Parameters
ipv6-metric

specifies the metric to be used for the associated interface in the SPF calculation for the IPv6 unicast routing topology (MT 2)

Values

1 to 16777215

lfa-policy-map
Syntax

lfa-policy-map route-nh-template template-name

no lfa-policy-map

Context

config>router>isis>interface

Description

This command applies a route next-hop policy template to an IS-IS interface. When a route next-hop policy template is applied to an interface in IS-IS, it is applied in both level 1 and level 2.

If the interface has been excluded from LFA with the loopfree-alternate-exclude command, the LFA policy has no effect on the interface.

If the route next-hop policy template is applied to a loopback interface or to the system interface, the command will not be rejected, but the policy will have no effect on the interface.

The no form of the command deletes the mapping of a route next-hop policy template to an IS-IS interface.

Default

no lfa-policy-map

Parameters
template-name

the name of an existing template

lsp-pacing-interval
Syntax

lsp-pacing-interval milliseconds

no lsp-pacing-interval

Context

config>router>isis>interface

Description

This command configures the interval between link-state PDUs (LSPs) sent from this interface. Controlling the time between LSPs ensures that adjacent neighbors are not being bombarded with excessive data.

A value of 0 means that no LSPs are sent from the interface.

The no form of the command reverts to the default value.

Default

100

Parameters
milliseconds

the interval that LSPs can be sent from the interface, expressed as a decimal integer

Values

0 to 65335

mesh-group
Syntax

mesh-group [value | blocked]

no mesh-group

Context

config>router>isis>interface

Description

This command assigns an interface to a mesh group. Mesh groups limit the amount of flooding that occurs when a new or changed LSP is advertised throughout an area.

All routers in a mesh group should be fully meshed. When LSPs need to be flooded, only a single copy is received rather than one copy per neighbor.

To create a mesh group, configure the same mesh group value for each interface that is part of the mesh group. All routers must have the same mesh group value configured for all interfaces that are part of the mesh group.

To prevent an interface from flooding LSPs, the optional blocked parameter can be specified.

Caution: Configure mesh groups carefully. It is easy to create isolated islands that will not receive updates if other links fail.

The no form of the command removes the interface from the mesh group.

Default

no mesh-group

Parameters
value

the unique decimal integer that distinguishes this mesh group from other mesh groups on this router or on other routers

Values

1 to 2000000000

blocked

prevents an interface from flooding LSPs

metric
Syntax

metric metric

no metric

Context

config>router>isis>interface>level

Description

This command configures the metric used for the level on this IS-IS interface.

To calculate the lowest cost to reach a given destination, each configured level on each interface must have a cost. The costs for each level on an interface may be different.

If the metric is not configured, the default value of 10 is used unless the reference-bandwidth is configured.

The no form of the command reverts to the default value.

Default

no metric (10)

Parameters
metric

the metric assigned to this level on this interface, expressed as a decimal integer

Values

1 to 16777215

passive
Syntax

[no] passive

Context

config>router>isis>interface

config>router>isis>interface>level

Description

This command adds the passive attribute to the IS-IS interface, which causes the interface to be advertised as an IS-IS interface without running the IS-IS protocol. Normally, only interface addresses that are configured for IS-IS are advertised as IS-IS interfaces at the level that they are configured.

If the passive mode is enabled, the interface or the interface at the specified level ignores ingress IS-IS protocol PDUs and will not transmit IS-IS protocol PDUs.

The no form of the command removes the passive attribute.

Default

no passive

priority
Syntax

priority number

no priority

Context

config>router>isis>interface>level

Description

This command configures the priority of the IS-IS interface that is used in an election of the designated router (DIS) on a multi-access network.

This parameter is only used if the interface is a broadcast type.

The priority is included in Hello PDUs transmitted by the interface on a multi-access network. The router with the highest priority becomes the designated router. The designated router is responsible for sending LSPs about the network and the routers attached to it.

The no form of the command reverts to the default value.

Default

64

Parameters
number

the priority for this interface at this level, expressed as a decimal integer

Values

0 to 127

retransmit-interval
Syntax

retransmit-interval seconds

no retransmit-interval

Context

config>router>isis>interface

Description

This command specifies the interval, in seconds, that IS-IS will wait before retransmitting an unacknowledged LSP to an IS-IS neighbor.

If the retransmit interval expires and no acknowledgment has been received, the LSP will be retransmitted.

The no form of this command reverts to the default interval.

Default

5

Parameters
seconds

the retransmit interval, in seconds, expressed as a decimal integer

Values

1 to 65335

sid-protection
Syntax

[no] sid-protection

Context

config>router>isis>interface

Description

This command enables or disables adjacency SID protection by LFA and remote LFA.

LFA and remote LFA fast reroute (FRR) protection is enabled for all node SIDs and local adjacency SIDs when the user enables the loopfree-alternate option in IS-IS or OSPF at the LER and LSR. However, there may be applications where the user never wants traffic to divert from the strict hop computed by CSPF for an SR-TE LSP. In this case, the user can disable protection for all adjacency SIDs formed over a particular network IP interface using this command.

The protection state of an adjacency SID is advertised in the B flag of the IS-IS or OSPF Adjacency SID sub-TLV.

Default

sid-protection

Show commands

Note: The following command outputs are examples only; actual displays may differ depending on supported functionality and user configuration.
isis
Syntax

isis all

isis [isis-instance]

Context

show>router

Description

This command enables the context to display IS-IS information.

Parameters
all

enables the context to display all IS-IS instances

isis-instance

enables the context to display the specified IS-IS instance ID. If no isis-instance is specified, instance 0 is used.

Values

0 to 31

adjacency
Syntax

adjacency [ip-int-name | ip-address | nbr-system-id] [detail]

Context

show>router>isis

Description

This command displays information about IS-IS neighbors. If no parameters are specified, adjacencies for the specified IS-IS instance are displayed. If detail is specified, operational and statistical information is displayed.

To display adjacency information for all IS-IS instances, use the show router isis all context.

Parameters
ip-int-name

displays only adjacencies with the specified interface

ip-address

displays only adjacencies with the specified IPv4 or IPv6 address

nbr-system-id

displays only the adjacency with the specified system ID

Values

6-octet system identifier (xxxx.xxxx.xxxx)

detail

displays detailed information about the adjacency

Output

The following output is an example of IS-IS adjacency information, and Adjacency field descriptions describes the fields for both summary and detailed outputs.

Output example
A:ALU-A# show router isis adjacency
===============================================================================
Rtr Base ISIS Instance 0 Adjacency
===============================================================================
System ID           Usage  State Hold Interface                MT-ID            
-------------------------------------------------------------------------------
ALU-B                L1    Up    2    ip-to1                   0
ALU-B                L2    Up    2    ip-to2                   0
ALU-F                L1L2  Up    5    ip-303                   0
-------------------------------------------------------------------------------
Adjacencies : 3
===============================================================================
A:ALU-A#
*A:Sar18 Dut-B>show>router# isis all adjacency
===============================================================================
Rtr Base ISIS Instance 0 Adjacency
===============================================================================
System ID            Usage State Hold Interface                MT-ID
-------------------------------------------------------------------------------
ALU-B                L1    Up    2    ip-to1                   0
ALU-B                L2    Up    2    ip-to2                   0
ALU-F                L1L2  Up    5    ip-303                   0
===============================================================================
===============================================================================
Rtr Base ISIS Instance 1 Adjacency
===============================================================================
System ID                Usage State Hold Interface            MT-ID
-------------------------------------------------------------------------------
No Matching Entries
===============================================================================
===============================================================================
Rtr Base ISIS Instance 2 Adjacency
===============================================================================
System ID                Usage State Hold Interface            MT-ID
-------------------------------------------------------------------------------
No Matching Entries
===============================================================================
Table 7. Adjacency field descriptions

Label

Description

System ID

System ID of the neighbor

Usage/L. Circ Typ

Level on the interface: L1, L2, or L1/2

State

State of the adjacency: up, down, new, one-way, initializing, or rejected

Hold/Hold Time

Hold time remaining for the adjacency

Interface

Interface name associated with the neighbor

MT-ID

The multitopology ID number. The value can be 0, 2, 3, or 4. More than one ID is shown when more than one adjacency is established. An adjacency can be established per topology.

capabilities
Syntax

capabilities [system-id | lsp-id] [level level ]

Context

show>router>isis

Description

This command displays information about the capabilities for the specified IS-IS instance. If no parameters are specified, capabilities for the specified IS-IS instance are displayed. If level is specified, only information for the configured level is displayed.

To display capabilities information for all IS-IS instances, use the show router isis all context.

Parameters
system-id

displays only the LSPs related to the specified system ID

lsp-id

displays only the specified LSP (hostname)

level

displays information only for the specified level (1 or 2)

Output

The following output is an example of IS-IS capabilities information, and IS-IS capabilities field descriptions describes the fields.

Output example
*A:7705:Dut-A# show router isis capabilities 
===============================================================================
Rtr Base ISIS Instance 0 Capabilities
===============================================================================
Displaying Level 1 capabilities
-------------------------------------------------------------------------------
LSP ID    : 7705:Dut-A.00-00                           
  Router Cap : 10.20.1.1, D:0, S:0
    TE Node Cap : B E M  
    SR Cap: IPv4 MPLS-IPv6 
       SRGB Base:20000, Range:10001
    SR Alg: metric based SPF
LSP ID    : 7705:Dut-A.01-00                           
LSP ID    : 7705:Dut-A.02-00                           
LSP ID    : 7705:Dut-C.00-00                           
  Router Cap : 10.20.1.3, D:0, S:0
    TE Node Cap : B E M  
    SR Cap: IPv4 MPLS-IPv6 
       SRGB Base:20000, Range:10001
    SR Alg: metric based SPF
LSP ID    : 7705:Dut-C.02-00                           
LSP ID    : 7705:Dut-C.03-00                           
LSP ID    : 7705:Dut-D.00-00                           
  Router Cap : 10.20.1.4, D:0, S:0
    TE Node Cap : B E M  
    SR Cap: IPv4 MPLS-IPv6 
       SRGB Base:20000, Range:10001
    SR Alg: metric based SPF
LSP ID    : 7705:Dut-B.00-00                           
  Router Cap : 10.20.1.22, D:0, S:0
    TE Node Cap : B E M  
    SR Cap: IPv4 MPLS-IPv6            
       SRGB Base:20000, Range:10001
    SR Alg: metric based SPF
LSP ID    : 7705:Dut-B.01-00                           
Level (1) Capability Count : 9


Displaying Level 2 capabilities
-------------------------------------------------------------------------------
LSP ID    : 7705:Dut-A.00-00                           
  Router Cap : 10.20.1.1, D:0, S:0
    TE Node Cap : B E M  
    SR Cap: IPv4 MPLS-IPv6 
       SRGB Base:20000, Range:10001
    SR Alg: metric based SPF
LSP ID    : 7705:Dut-A.01-00                           
LSP ID    : 7705:Dut-A.02-00                           
LSP ID    : 7705:Dut-C.00-00                           
  Router Cap : 10.20.1.3, D:0, S:0
    TE Node Cap : B E M  
    SR Cap: IPv4 MPLS-IPv6 
       SRGB Base:20000, Range:10001
    SR Alg: metric based SPF
LSP ID    : 7705:Dut-C.02-00                           
LSP ID    : 7705:Dut-C.03-00                           
LSP ID    : 7705:Dut-D.00-00                           
  Router Cap : 10.20.1.4, D:0, S:0
    TE Node Cap : B E M  
    SR Cap: IPv4 MPLS-IPv6 
       SRGB Base:20000, Range:10001
    SR Alg: metric based SPF
LSP ID    : 7705:Dut-B.00-00                           
  Router Cap : 10.20.1.22, D:0, S:0   
    TE Node Cap : B E M  
    SR Cap: IPv4 MPLS-IPv6 
       SRGB Base:20000, Range:10001
    SR Alg: metric based SPF
LSP ID    : 7705:Dut-B.01-00                           
Level (2) Capability Count : 9
===============================================================================
Table 8. IS-IS capabilities field descriptions

Label

Description

LSP ID

The LSP ID of the specified system ID or hostname

Router Cap

The router IP address and capability

TE Node Cap

The TE node capability

SR Cap

The segment routing capability

SRGB Base

The Segment Routing Global Block (SRGB) base index value and range

SR Alg

The type of SR algorithm used for the specified LSP ID

Level (n) Capability Count

The capability count for the specified level

database
Syntax

database [system-id | lsp-id] [detail] [level level]

Context

show>router>isis

Description

This command displays information about the IS-IS link-state database. If the system ID and LSP ID are not specified, database entries for the specified IS-IS instance are listed.

To display database information for all IS-IS instances, use the show router isis all context.

Parameters
system-id

displays only the LSPs related to the specified system ID

lsp-id

displays only the specified LSP (hostname)

detail

displays detailed information for the link-state database entries

level

displays information only for the specified level (1 or 2)

Output

The following outputs are examples of IS-IS database information:

Output example
A:ALU-A# show router isis database
==============================================================================
Rtr Base ISIS Instance 0 Database 
==============================================================================
LSP ID                                  Sequence Checksum Lifetime Attributes
------------------------------------------------------------------------------

Displaying Level 1 database
------------------------------------------------------------------------------
ALU-A.00-00                             0x7      0x51b4   1177     L1L2
Level (1) LSP Count : 1

Displaying Level 2 database
------------------------------------------------------------------------------
ALU-A.00-00                             0x7      0x51b4   1014     L1L2
Level (2) LSP Count : 1
==============================================================================
A:ALU-A#
Table 9. Database summary field descriptions

Label

Description

LSP ID

LSP IDs are auto-assigned by the originating IS-IS node. The LSP ID consists of three sections: the first 6 bytes are the system ID for that node, followed by a single byte value for the pseudonode generated by that router, followed by a fragment byte that starts at 0.

For example, if a router’s system ID is 1800.0000.0029, the first LSP ID is 1800.0000.0029.00-00. If there are too many routes, LSP ID 1800.0000.0029.00-01 is created to contain the excess routes. If the router is the designated router (or designated intermediate system ([DIS]) on a broadcast network, a pseudonode LSP is created. Usually the internal circuit ID is used to determine the ID assigned to the pseudonode. For instance, for circuit 4, an LSP pseudonode with ID 1800.0000.0029.04-00 is created.

Note: The 7705 SAR learns hostnames and uses the hostname in place of the system ID.

Sequence

The sequence number of the LSP that allows other systems to determine if they have received the latest information from the source

Checksum

The checksum of the entire LSP packet

Lifetime

Length of time, in seconds, that the LSP remains valid

Attributes

OV: the overload bit is set

L1: specifies a level 1 router

L2: specifies a level 2 router

L1L2: specifies a level 1/2 router

ATT: the attachment bit is set; when set, the router can act as a level 2 router and can reach other areas

Output example
*A:ALU-A# show router isis database detail
==============================================================================
Rtr Base ISIS Instance 0 Database (detail)
==============================================================================

Displaying Level 1 database
------------------------------------------------------------------------------
LSP ID    : ALU-A.00-00                                 Level     : L1
Sequence  : 0x7                    Checksum  : 0x51b4   Lifetime  : 1079
Version   : 1                      Pkt Type  : 18       Pkt Ver   : 1
Attributes: L1L2                   Max Area  : 3        Alloc Len : 1492
SYS ID    : 0100.1001.0001         SysID Len : 6        Used Len  : 50

TLVs :
  Supp Protocols:
    Protocols     : IPv4
  IS-Hostname   : ALU-A
  Router ID   :
    Router ID   : 10.0.0.0

Level (1) LSP Count : 1

Displaying Level 2 database
------------------------------------------------------------------------------
LSP ID    : ALU-A.00-00                                 Level     : L2
Sequence  : 0x7                    Checksum  : 0x51b4   Lifetime  : 900
Version   : 1                      Pkt Type  : 20       Pkt Ver   : 1
Attributes: L1L2                   Max Area  : 3        Alloc Len : 1492
SYS ID    : 0100.1001.0001         SysID Len : 6        Used Len  : 50


TLVs :
  Supp Protocols:
    Protocols     : IPv4
  IS-Hostname   : ALU-A
  Router ID   :
    Router ID   : 10.0.0.0

Level (2) LSP Count : 1
Table 10. Database detailed field descriptions

Label

Description

LSP ID

LSP IDs are auto-assigned by the originating IS-IS node. The LSP ID consists of three sections: the first 6 bytes are the system ID for that node, followed by a single byte value for the pseudonode generated by that router, followed by a fragment byte that starts at 0.

For example, if a router’s system ID is 1800.0000.0029, the first LSP ID is 1800.0000.0029.00-00. If there are too many routes, LSP ID 1800.0000.0029.00-01 is created to contain the excess routes. If the router is the designated router (or designated intermediate system ([DIS]) on a broadcast network, a pseudonode LSP is created. Usually the internal circuit ID is used to determine the ID assigned to the pseudonode. For instance, for circuit 4, an LSP pseudonode with ID 1800.0000.0029.04-00 is created.

The 7705 SAR learns hostnames and uses the hostname in place of the system ID.

Sequence

The sequence number of the LSP that allows other systems to determine if they have received the latest information from the source

Checksum

The checksum of the entire LSP packet

Lifetime

Length of time, in seconds, that the LSP remains valid

Attributes

OV: the overload bit is set

L1: specifies a level 1 router

L2: specifies a level 2 router

L1L2: specifies a level 1/2 router

ATT: the attachment bit is set; when set, the router can act as a level 2 router and can reach other areas

LSP Count

A sum of all the configured level 1 and level 2 LSPs

LSP ID

A unique identifier for each LSP, consisting of the system ID, pseudonode ID, and LSP name

Version

The version protocol ID extension – always set to 1

Pkt Type

The PDU type number

PkT Ver

The version protocol ID extension – always set to 1

Max Area

The maximum number of area addresses supported

Alloc Len

The amount of memory space allocated for the LSP

SYS ID

The system ID

SysID Len

The length of the system ID field (0 or 6)

Used Len

The actual length of the PDU

Area Address

The area addresses to which the router is connected

Supp Protocols

The supported data protocols

IS-Hostname

The name of the router from which the LSP originated

Virtual Flag

0: level 1 routers report this octet as 0 to all neighbors

1: indicates that the path to a neighbor is a level 2 virtual path used to repair an area partition

Neighbor

The routers running interfaces to which the router is connected

Internal Reach

A 32-bit metric

A bit is added for the up/down transitions resulting from level 2 to level 1 route leaking

IP Prefix

The IP addresses that the router knows about by externally originated interfaces

Metrics

The routing metric used in the IS-IS link-state calculations

hostname
Syntax

hostname

Context

show>router>isis

Description

This command displays the hostname database for the specified IS-IS instance.

To display hostname information for all IS-IS instances, use the show router isis all context.

Output

The following output is an example of hostname database information, and Hostname database field descriptions describes the fields.

Output example
*A:ALU-A show router isis hostname
===============================================================================
Rtr Base ISIS Instance 0 Hostnames 
===============================================================================
System Id                Hostname
-------------------------------------------------------------------------------
2550.0000.0000           7705_custDoc
-------------------------------------------------------------------------------
Hostnames : 1
===============================================================================
Table 11. Hostname database field descriptions

Label

Description

System ID

The system ID mapped to the hostname

Hostname

The hostname for the specified system ID

interface
Syntax

interface [ip-int-name | ip-address] [detail]

Context

show>router>isis

Description

This command displays the details of the IS-IS interface, which can be identified by IP address or IP interface name. If neither is specified, in-service interfaces for the specified IS-IS instance are displayed.

To display interface information for all IS-IS instances, use the show router isis all context.

Parameters
ip-int-name

displays only the interface identified by this interface name

ip-address

displays only the interface identified by this IP address

detail

displays detailed information for the interface

Output

The following outputs are examples of IS-IS interface information:

Output example
A:ALU-A# show router isis interface 
==============================================================================
Rtr Base ISIS Instance 0 Interfaces 
==============================================================================
Interface                        Level CircID  Oper State   L1/L2 Metric
------------------------------------------------------------------------------
system                           L1L2  1       Up           0/0
isis_interface                   L1L2  30      Down         10/10
------------------------------------------------------------------------------
Interfaces : 2
==============================================================================
A:ALU-A#
Table 12. Interface field descriptions

Label

Description

Interface

The interface name

Level

The interface level: L1, L2, or L1L2

CircID

The circuit identifier

Oper State

Up: the interface is operationally up

Down: the interface is operationally down

L1/L2 Metric

Interface metric for level 1 and level 2, if none are set to 0

Output example
A:ALU-A# show router isis interface isis_interface detail
==============================================================================
Rtr Base ISIS Instance 0 Interfaces 
==============================================================================
------------------------------------------------------------------------------
Interface      : isis_interface                  Level Capability: L1L2
Oper State     : Down                            Admin State     : Up
Auth Type      : None
Circuit Id     : 30                              Retransmit Int. : 5
Type           : Broadcast                       LSP Pacing Int. : 100
Mesh Group     : Inactive                        CSNP Int.       : 10
LFA NH Template: None                            Bfd Enabled     : No
Topology       : IPv4-Unicast, IPv6-Unicast
Te Metric      : 0                               Te State        : Down
Admin Groups   : None
Ldp Sync       : outOfService                    Ldp Sync Wait   : Disabled
Ldp Timer State: Disabled                        Ldp Tm Left     : 0
Route Tag      : None                            LFA             : Included

  Level         : 1                              Adjacencies     : 0
  Auth Type     : None                           Metric          : 0
  Hello Timer   : 9                              IPv6-Ucast-Met  : 0
  Priority      : 64
  Passive       : No
  SD-Offset     : 0                              SF-Offset       : 0
  Hello Mult.   : 3

  Level         : 2                              Adjacencies     : 0
  Auth Type     : None                           Metric          : 0
  Hello Timer   : 9                              IPv6-Ucast-Met  : 0
  Priority      : 64
  Passive       : No
  SD-Offset     : 0                              SF-Offset       : 0
  Hello Mult.   : 3

==============================================================================
A:ALU-A#
Table 13. Interface detailed field descriptions

Label

Description

Interface

The interface name

Level Capability

The routing level for the IS-IS routing process

Oper State

Up: the interface is operationally up

Down: the interface is operationally down

Admin State

Up: the interface is administratively up

Down: the interface is administratively down

Auth Type

The authentication type for the interface

Circuit Id

The circuit identifier

Retransmit Int.

The length of time, in seconds, that IS-IS will wait before retransmitting an unacknowledged LSP to an IS-IS neighbor

Type

The interface type: point-to-point or broadcast

LSP Pacing Int.

The interval between LSPs sent from this interface

Mesh Group

Indicates whether a mesh group has been configured

CSNP Int.

The time, in seconds, that complete sequence number PDUs (CSNPs) are sent from the interface

LFA NH Template

Indicates whether an LFA next-hop policy template is applied to this interface

BFD Enabled

Indicates whether BFD is enabled or disabled

Topology

The network topologies enabled on the interface

TE Metric

The TE metric configured for this interface. This metric is flooded out in the TE metric sub-TLV in the IS-IS-TE LSPs. Depending on the configuration, either the TE metric value or the native IS-IS metric value is used in CSPF computations.

TE State

The MPLS interface TE status from the IS-IS standpoint

Admin Groups

The bitmap inherited from the MPLS interface that identifies the admin groups to which this interface belongs

Ldp Sync

Specifies whether the IGP-LDP synchronization feature is enabled or disabled on all interfaces participating in the IS-IS routing protocol

Ldp Sync Wait

The time to wait for the LDP adjacency to come up

Ldp Timer State

The state of the LDP sync time left on the IS-IS interface

LDP TM Left

The time left before IS-IS reverts back to advertising normal metrics for this interface

Route Tag

The route tag for this interface

LFA

Indicates whether the interface is included in the LFA SPF calculation

Level

The interface level

Adjacencies

The number of adjacencies for this interface

Auth Type

The authentication type for the interface level

Metric

Indicates whether a metric has been configured for the interface level

Hello Timer

The interval between IS-IS Hello PDUs issued on the interface at this level

IPv6-Ucast-Met

Not applicable

Priority

The priority of the IS-IS interface that is used in an election of the designated router on a multi-access network

Passive

Indicates if passive mode is enabled or disabled; if enabled, the interface is advertised as an IS-IS interface without running the IS-IS protocol

SD-offset

Not applicable

SF-offset

Not applicable

Hello Mult.

Not applicable

lfa-coverage
Syntax

lfa-coverage

Context

show>router>isis

Description

This command displays IS-IS LFA coverage information for the specified IS-IS instance.

To display LFA coverage information for all IS-IS instances, use the show router isis all context.

Output

The following output is an example of LFA coverage information, and LFA coverage field descriptions describes the fields.

Output example
A:ALU-A# show router isis lfa-coverage
===============================================================================
Rtr Base ISIS Instance 0 LFA Coverage 
===============================================================================
Topology         Level   Node           IPv4                IPv6
-------------------------------------------------------------------------------
IPV4 Unicast     L1      0/0(0%)        0/0(0%)             0/0(0%)
IPV6 Unicast     L1      0/0(0%)        0/0(0%)             0/0(0%)
IPV4 Multicast   L1      0/0(0%)        0/0(0%)             0/0(0%)
IPV6 Multicast   L1      0/0(0%)        0/0(0%)             0/0(0%)
IPV4 Unicast     L2      0/0(0%)        0/0(0%)             0/0(0%)
IPV6 Unicast     L2      0/0(0%)        0/0(0%)             0/0(0%)
IPV4 Multicast   L2      0/0(0%)        0/0(0%)             0/0(0%)
IPV6 Multicast   L2      0/0(0%)        0/0(0%)             0/0(0%)
===============================================================================
A:ALU-A#
Table 14. LFA coverage field descriptions

Label

Description

Topology

The type of network

Level

The IS-IS level in which LFA is enabled

Node

The number of nodes in the level on which LFA is enabled

IPv4

The number of IPv4 interfaces on the nodes on which LFA is enabled

IPv6

The number of IPv6 interfaces on the nodes on which LFA is enabled

mapping-server
Syntax

mapping-server [prefix ip-address [/mask]] [index index] [level level] [flag {s}]

Context

show>router>isis

Description

This command displays IS-IS mapping server information.

Parameters
ip-address [/mask]

specifies the IP address and subnet mask of a prefix that has received a node-sid in a SID/Label Binding TLV

index

specifies the node SID index value for the generated SID/Label Binding TLV

Values

0 to 4294967295

level

specifies a match on the mapping server’s flooding scope for the generated SID/Label Binding TLV

Values

1, 2, 1/2

flag s

specifies a match on the flooding scope of the generated SID/Label Binding TLV that applies to the entire domain

Output

The following output is an example of mapping server information.

Output example
*A:Dut-C# show router isis  mapping-server    
===============================================================================
Rtr Base ISIS Instance 0 Mapping Server
===============================================================================
Index      Prefix             Range Flags Level
-------------------------------------------------------------------------------
1000       10.20.1.4/32       1     -     L1L2
1001       10.20.1.5/32       1     -     L1L2
1002       10.20.1.6/32       1     -     L1L2
-------------------------------------------------------------------------------
No. of Mapping Server Sid-Maps : 3
===============================================================================
prefix-sids
Syntax

prefix-sids [ipv4-unicast | ipv6-unicast | mt mt-id-number] [ip-prefix[/prefix-length]] [sid sid] [adv-router {system-id | hostname}] [srms | no-srms]

Context

show>router>isis

Description

This command displays IS-IS prefix SID information for the specified IS-IS instance.

To display prefix SID information for all IS-IS instances, use the show router isis all context.

Parameters
ipv4-unicast

displays information for the IPv4 unicast prefix SIDs

ipv6-unicast

displays information for the IPv6 unicast prefix SIDs

mt-id-number

displays information for the specified multitopology ID number for the prefix SID

ip-prefix/prefix-length

IPv4 or IPv6 prefix and prefix length

sid

displays information related to the specified segment routing ID

Values

0 to 524287

system-id

displays only the prefix SIDs related to the specified system ID

hostname

displays only the prefix SIDs related to the specified host

srms | no-srms

displays information for the IPv4 unicast prefix SIDs segment routing mapping service (SRMS)

Output

The following output is an example of prefix SIDs information, and Prefix SIDs field descriptions describes the fields.

Output example
*A:7705:Dut-A# show router isis  prefix-sids 
===============================================================================
Rtr Base ISIS Instance 0 Prefix/SID Table
===============================================================================
Prefix                            SID        Lvl/Typ    SRMS   AdvRtr
                                                         MT     Flags
-------------------------------------------------------------------------------
10.20.1.1/32                      2001       1/Int.      N     7705:Dut-A
                                                            0       NnP
10.20.1.1/32                      2001       2/Int.      N     7705:Dut-A
                                                            0       NnP
10.20.1.3/32                      2003       1/Int.      N     7705:Dut-C
                                                            0       NnP
10.20.1.3/32                      2003       2/Int.      N     7705:Dut-C
                                                            0       NnP
10.20.1.4/32                      2004       1/Int.      N     7705:Dut-D
                                                            0       NnP
10.20.1.4/32                      2004       2/Int.      N     7705:Dut-D
                                                            0       NnP
10.20.1.22/32                     2002       1/Int.      N     7705:Dut-B
                                                            0       NnP
10.20.1.22/32                     2002       2/Int.      N     7705:Dut-B
                                                            0       NnP
-------------------------------------------------------------------------------
No. of Prefix/SIDs: 8 (4 unique)
-------------------------------------------------------------------------------
SRMS : Y/N  = prefix SID advertised by SR Mapping Server (Y) or not (N)
       S    = SRMS prefix SID is selected to be programmed
Flags: R    = Re-advertisement
       N    = Node-SID
       nP   = no penultimate hop POP 
       E    = Explicit-Null  
       V    = Prefix-SID carries a value  
       L    = value/index has local significance  
===============================================================================
*A:7705:Dut-A#
Table 15. Prefix SIDs field descriptions

Label

Description

Prefix

The IP prefix for the SID

SID

The segment routing identifier (SID)

Lvl/Typ

The level and type of SR

SRMS

Indicates whether the prefix SID is advertised by the SR mapping service: Y (yes) or N (no)

MT

The multitopology ID number

AdvRtr

The advertised router name

Flags

The flags related to the advertised router:

R = Re-advertisement

N = Node-SID

nP = No penultimate hop POP

E = Explicit-Null

V = Prefix-SID carries a value

L = value/index has local significance

routes
Syntax

routes [ipv4-multicast | ipv6-multicast | ipv4-unicast | ipv6-unicast | mt mt-id-number] [ip-prefix[/prefix-length]] [alternative] [exclude-shortcut] [detail]

Context

show>router>isis

Description

This command displays the routes in the IS-IS routing table for the specified IS-IS instance.

To display route information for all IS-IS instances, use the show router isis all context.

Parameters
ipv4-multicast

displays IPv4 multicast parameters

ipv4-unicast

displays IPv4 unicast parameters

ipv6-multicast

displays IPv6 multicast parameters

ipv6-unicast

displays IPv6 unicast parameters

mt-id-number

displays information for the specified multitopology. The value can be 0, 2, 3, or 4.

ip-prefix/prefix-length

IPv4 or IPv6 prefix and prefix length

alternative

displays the level of protection per prefix

exclude-shortcut

displays routes without shortcuts

detail

displays detailed information for the route

Output

The following outputs are examples of IS-IS route information, and Routing table field descriptions describes the fields.

Output example
A:ALU-A# show router isis routes
============================================================================
Rtr Base ISIS Instance 0 Route Table 
============================================================================
Prefix [Flags]                   Metric     Lvl/Typ    Ver.   SysID/Hostname
  NextHop                                              MT      AdminTag/SID[F]
----------------------------------------------------------------------------
10.20.1.2/32                      0          1/Int.     3      ALU-B
   10.0.0.0                                              0         0
10.20.1.3/32 [L]                  10         2/Int.     2      ALU-C
   10.20.3.3                                             0         0
10.20.1.4/32                      10         2/Int.     3      ALU-D
   10.20.4.4                                             0         0
10.20.1.5/32                      20         2/Int.     3      ALU-C
   10.20.3.3                                             0         0
10.20.1.6/32                      20         2/Int.     3      ALU-D
   10.20.4.4                                             0         0
10.20.3.0/24                      10         1/Int.     3      ALU-B
   10.0.0.0                                              0         0
10.20.4.0/24                      10         1/Int.     3      ALU-B
   10.0.0.0                                              0         0
10.20.5.0/24                      20         2/Int.     2      ALU-C
   10.20.3.3                                             0         0
10.20.6.0/24                      20         2/Int.     4      ALU-D
   10.20.4.4                                             0         0
10.20.9.0/24                      20         2/Int.     3      ALU-D
   10.20.4.4                                             0         0
10.20.10.0/24                     30         2/Int.     3      ALU-C
   10.20.3.3                                             0         0
----------------------------------------------------------------------------
No. of Routes : 11
Flags        : L = Loop-Free Alternate nexthop
Alt-Type     : LP = linkProtection, NP = nodeProtection
SID[F]       : R  = Re-advertisement
               N  = Node-SID
               nP = no penultimate hop POP
               E  = Explicit-Null
               V  = Prefix-SID carries a value
               L  = value/index has local significance
============================================================================
A:ALU-A#
A:ALU-A# show router isis routes alternative
============================================================================
Rtr Base ISIS Instance 0 Route Table (alternative) 
============================================================================
Prefix [Flags]                   Metric     Lvl/Typ    Ver.   SysID/Hostname
  NextHop                                              MT      AdminTag/SID[F]
Alt-Nexthop                                            Alt-    Alt-Type
                                                       Metric
----------------------------------------------------------------------------
10.10.1.0/24                      10         1/Int.     3      ALU-A
   10.0.0.0                                              0         0
10.10.2.0/24                      10         1/Int.     4      ALU-A
   10.0.0.0                                              0         0
10.10.4.0/24                      20         1/Int.     5      ALU-B
   10.10.1.2                                             0         0
10.10.5.0/24                      20         1/Int.     5      ALU-C
   10.10.2.3                                             0         0
10.10.9.0/24                      30         1/Int.     6      ALU-B
   10.10.1.2                                             0         0
   10.20.1.5 (LFA)(LSP:RSVP:3)    50          nodeProtection
10.10.10.0/24                     30         1/Int.     11     ALU-E
   10.20.1.5 (LSP:RSVP:3)                                0         0
10.20.1.1/32                      0          1/Int.     1      ALU-A
   10.0.0.0                                              0         0
10.20.1.2/32                      10         1/Int.     4      ALU-B
   10.10.1.2                                             0         0
10.20.1.3/32                      10         1/Int.     5      ALU-C
   10.10.2.3                                             0         0
10.20.1.4/32                      20         1/Int.     5      ALU-B
   10.10.1.2                                             0         0
   10.20.1.5 (LFA)(LSP:RSVP:3)    40           nodeProtection          
10.20.1.5/32                      20         1/Int.     11     Dut-E
   10.20.1.5 (LSP:RSVP:3)                                0         0
10.20.1.6/32                      30         1/Int.     6      Dut-B_Sparrow
   10.10.1.2                                             0          0
   10.10.2.3 (LFA)                30          nodeProtection
----------------------------------------------------------------------------
No. of Routes: 12
Flags        : L = Loop-Free Alternate nexthop
Alt-Type     : LP = linkProtection, NP = nodeProtection
SID[F]       : R  = Re-advertisement
               N  = Node-SID
               nP = no penultimate hop POP
               E  = Explicit-Null
               V  = Prefix-SID carries a value
               L  = value/index has local significance
============================================================================
A:ALU-A#
Table 16. Routing table field descriptions

Label

Description

Prefix (Flags)

The route prefix and mask, and the L/LFA flag (if applicable)

Metric

The metric of the route

Lvl/Typ

The level (1 or 2) and the route type (internal or external)

Ver.

The SPF version that generated the route

SysID/Hostname

The hostname for the specific system ID

MT

The multitopology ID number

NextHop

The system ID of the next hop (or the hostname, if possible)

AdminTag/SID[F]

The flags related to the SID:

R = Re-advertisement

N = Node SID

nP = No penultimate hop POP

E = Explicit null

V = Prefix-SID carries a value

L = Value/index has local significance

Alt-Nexthop

The backup next hop

Alt-Metric

The metric of the backup route

Alt-Type

The type of backup route

LP = Link protection

NP = Node protection

spf-log
Syntax

spf-log [detail]

Context

show>router>isis

Description

This command displays the last 20 SPF events for the specified IS-IS instance.

To display SPF log information for all IS-IS instances, use the show router isis all context.

Parameters
detail

displays detailed information about the SPF events

Output

The following output is an example of SPF events, and SPF log field descriptions describes the fields.

Output example
A:ALU-A# show router isis spf-log
===============================================================================
Rtr Base ISIS Instance 0 SPF Log 
===============================================================================
When                 Duration     L1 Nodes   L2 Nodes   Event Count  Type
-------------------------------------------------------------------------------
05/23/2018 18:41:06  <0.01s       1          1          1            Reg
05/23/2018 18:41:06  <0.01s       -          -          -            Lfa
-------------------------------------------------------------------------------
Log Entries: 2
===============================================================================
*A:Sar18 Dut-B>show>router# isis spf-log detail
===============================================================================
Rtr Base ISIS Instance 0 SPF Log
===============================================================================
When       : 05/23/2018 18:41:06             Duration    : <0.01s
L1 Nodes   : 1                               L2 Nodes    : 1
Trigger LSP: None                            Event Count : 1
SPF Type   : Reg
Reason     : LFACHANGED
When       : 05/23/2018 18:41:06             Duration    : <0.01s
L1 Nodes   : -                               L2 Nodes    : -
Trigger LSP: None                            Event Count : -
SPF Type   : Lfa
Reason     : LFACHANGED
===============================================================================
Table 17. SPF log field descriptions

Label

Description

When

The timestamp when the SPF run started on the system

Duration

The time (in hundredths of seconds) required to complete the SPF run

L1 Nodes

The number of level 1 nodes involved in the SPF run

L2 Nodes

The number of level 2 nodes involved in the SPF run

Trigger LSP

The LSP that triggered the SPF run

Event Count

The number of SPF events that triggered the SPF calculation

Type

SPF Type

The SPF type: Reg (regular) or Lfa (Loopfree-Alternate)

Reason

The reasons for the SPF run:

ADMINTAGCHANGED: An administrative tag changed

DBCHANGED: The LSP database was cleared by an administrator

ECMPCHANGED: An ECMP path changed

LFACHANGED: The LFS changed

LSPCONTENT: The content of an LSP changed

LSPEXPIRED: An LSP expired

MANUALREQ: An SPF calculation was requested by an administrator

NEWADJ: An adjacency changed

NEWAREA: An area changed

NEWLSP: A new LSP was received

NEWMETRIC: A prefix metric changed

NEWNLPID: The routed protocols (IPv4 or IPv6) changed

NEWPREF: The external route preference changed

NEWREACH: A prefix changed

RESTART: The graceful restart exited

TUNNELCHANGED: An MPLS tunnel changed

Log Entries

The total number of log entries

statistics
Syntax

statistics

Context

show>router>isis

Description

This command displays information about IS-IS traffic statistics for the specified IS-IS instance.

To display statistics information for all IS-IS instances, use the show router isis all context.

Output

The following output is an example of IS-IS statistical information, and IS-IS statistics field descriptions describes the fields.

Output example
A:ALU-A# show router isis statistics
===============================================================================
Rtr Base ISIS Instance 0 Statistics
===============================================================================
ISIS Instance     : 0                       
Purge Initiated   : 0                       LSP Regens.    : 39
SID SRGB errors   : 0                       SID dupl errors: 0

CSPF Statistics
Requests          : 0                       Request Drops  : 0
Paths Found       : 0                       Paths Not Found: 0

SPF Statistics
SPF Runs          : 1
 Last scheduled   : 05/23/2018 18:41:05
Partial SPF Runs  : 3 
 Last scheduled   : 05/23/2018 18:41:03

LFA Statistics
LFA Runs : 1
 Last scheduled   : 05/23/2018 18:41:06
Partial LFA Runs  : 0

RLFA Statistics
RLFA Runs         : 0

TI-LFA Statistics
TI-LFA Runs         : 0

-------------------------------------------------------------------------------
PDU Type   Received   Processed  Dropped    Sent       Retransmitted
-------------------------------------------------------------------------------
LSP        0          0          0          0          0
IIH        0          0          0          0          0
CSNP       0          0          0          0          0
PSNP       0          0          0          0          0
Unknown    0          0          0          0          0
===============================================================================
A:ALU-A# 
Table 18. IS-IS statistics field descriptions

Label

Description

ISIS Instance

The IS-IS instance

Purge Initiated

The number of times that purges have been initiated

LSP Regens

The number of LSP regenerations

SID SRGB errors

The number of SIDs received that are outside of the Segment Routing Global Block (SRGB) label range

SID dupl errors

The number of duplicate SIDs received from IS-IS nodes in the network

CSPF Statistics

Requests

The number of CSPF requests made to the protocol

Request Drops

The number of CSPF requests dropped

Paths Found

The number of responses to CSPF requests for which paths satisfying the constraints were found

Paths Not Found

The number of responses to CSPF requests for which paths not satisfying the constraints were found

SPF Statistics

SPF Runs

The number of times that SPF calculations have been made

Last scheduled

The timestamp of the last SPF run

Partial SPF Runs

The total number of partial SPF runs

Last scheduled

The timestamp of the last partial SPF run

LFA Statistics

LFA Runs

The total number of incremental LFA SPF runs triggered by new or updated LSPs

Last scheduled

The timestamp of the last SPF run

Partial LFA Runs

The total number of partial LFA SPF runs triggered by new or updated LSPs

RLFA Statistics

RLFA Runs

The total number of incremental remote LFA SPF runs triggered by new or updated LSPs

TI-LFA Statistics

TI-LFA Runs

The total number of incremental topology-independent LFA SPF runs triggered by new or updated LSPs

Other Statistics

PDU Type

The PDU (packet) type

Received

The number of LSPs received by this instance of the protocol

Processed

The number of LSPs processed by this instance of the protocol

Dropped

The number of LSPs dropped by this instance of the protocol

Sent

The number of LSPs sent out by this instance of the protocol

Retransmitted

The number of LSPs that had to be retransmitted by this instance of the protocol

status
Syntax

status

Context

show>router>isis

Description

This command displays the general status of IS-IS for the specified IS-IS instance.

To display statistics information for all IS-IS instances, use the show router isis all context.

Output

The following output is an example of IS-IS status information, and IS-IS status field descriptions describes the fields.

Output example
*A:Sar18 Dut-B>show>router# isis status
===============================================================================
Rtr Base ISIS Instance 0 Status
===============================================================================
ISIS Oper System Id          : 2550.0000.0000
ISIS Cfg Router Id           : 0.0.0.0
ISIS Oper Router Id          : 255.0.0.0
ASN                          : 0
Admin State                  : Up
Oper State                   : Up
Ipv4 Routing                 : Enabled
Ipv6 Routing                 : Disabled
Last Enabled                 : 03/01/2024 18:17:20
Level Capability             : L1L2
Authentication Check         : True
Auth Keychain                : Disabled
Authentication Type          : None
CSNP-Authentication          : Enabled
HELLO-Authentication         : Enabled
PSNP-Authentication          : Enabled
Traffic Engineering          : Disabled
Overload-On-Boot Timeout     : 0
Overload Max-Metric          : False
Overload-On-Boot Max-Metric  : False
LSP Lifetime                 : 1200
LSP Wait (ms)                : 5000 (Max)  10 (Initial)  1000 (Second)
LSP MTU Size                 : 1492 (Config)
L1 LSP MTU Size              : 1492 (Config)  1492 (Oper)
L2 LSP MTU Size              : 1492 (Config)  1492 (Oper)
Adjacency Check              : loose
L1 Auth Keychain             : Disabled
L1 Auth Type                 : none
L1 CSNP-Authentication       : Enabled
L1 HELLO-Authentication      : Enabled
L1 PSNP-Authentication       : Enabled
L1 Preference                : 15
L1 Ext. Preference           : 160
L1 Wide Metrics              : Disabled
L1 LSDB Overload             : Manual  (Indefinitely in overload)
L1 LSPs                      : 1
L1 Default Metric            : 10
L1 IPv6 Def Metric           : 10
L1 Mcast IPv4 Def Metric     : 10
L1 Mcast IPv6 Def Metric     : 10
L1 Adv Router Cap            : Enabled
Last SPF                     : 03/01/2024 18:17:47
SPF Wait (ms)                : 10000 (Max)  1000 (Initial)  1000 (Second)
Area Addresses               : None
Total Exp Routes(L1)         : 0
IID TLV                      : Disabled
All-L1-MacAddr (Cfg)         : 01:80:c2:00:00:14
L2 Auth Keychain             : Disabled
L2 Auth Type                 : none
L2 CSNP-Authentication       : Enabled
L2 HELLO-Authentication      : Enabled
L2 PSNP-Authentication       : Enabled
L2 Preference                : 18
L2 Ext. Preference           : 165
L2 Wide Metrics              : Disabled
L2 LSDB Overload             : Manual  (Indefinitely in overload)
L2 LSPs                      : 1
L2 Default Metric            : 10
L2 IPv6 Def Metric           : 10
L2 Mcast IPv4 Def Metric     : 10
L2 Mcast IPv6 Def Metric     : 10
L2 Adv Router Cap            : Enabled
Export Policies              : None
LFA Policies                 : None
Ignore Attached Bit          : Disabled
Suppress Attached Bit        : Disabled
Default Route Tag            : None
Rib Prio List High           : None
Rib Prio Tag High            : None
Ldp Sync Admin State         : Up
LDP-over-RSVP                : Disabled
RSVP-Shortcut                : Disabled
Advertise-Tunnel-Link        : Disabled
Export Limit                 : 0
Exp Lmt Log Percent          : 0
Total Exp Routes(L2)         : 0
All-L2-MacAddr (Cfg)         : 01:80:c2:00:00:15
Loopfree-Alternate           : Disabled
Remote-LFA                   : Disabled
Max PQ Cost                  : 4261412864
Remote-LFA (node-protect)    : Disabled
Max PQ nodes (node-protect)  : 16
TI-LFA                       : Disabled
Max SR FRR Labels            : 2
TI-LFA (node-protect)        : Disabled
L1 LFA                       : Included
L2 LFA                       : Included
Advertise Router Cap         : Disabled
Ignore Lsp Errors            : Disabled
Reference Bandwidth          : 0
Ucast Import Disable         : None
Segment Routing              : Disabled
Mapping Server               : Disabled
Purge Originator Id          : Disabled
Entropy Label                : Enabled
Override ELC                 : Disabled
===============================================================================
* indicates that the corresponding row element may have been truncated.
Table 19. IS-IS status field descriptions

Label

Description

ISIS Oper System Id

The operational system ID mapped to the hostname

ISIS Cfg Router Id

The router ID configured for the router

ISIS Oper Router Id

The operational router ID

ASN

The autonomous system (AS) number

Admin State

Up: IS-IS is administratively up

Down: IS-IS is administratively down

Oper State

Up: IS-IS is operationally up

Down: IS-IS is operationally down

Ipv4 Routing

Enabled: IPv4 routing is enabled

Disabled: IPv4 routing is disabled

Ipv6 Routing

Enabled: IPv6 routing is enabled

Disabled: IPv6 routing is disabled

Last Enabled

The date and time that IS-IS was last enabled on the router

Level Capability

The routing level for the IS-IS routing process

Authentication Check

True: all IS-IS mismatched packets are rejected

False: authentication is performed on received IS-IS protocol packets but mismatched packets are not rejected

Auth Keychain

Enabled: an authentication keychain is enabled

Disabled: an authentication keychain is disabled

Authentication Type

The method of authentication used to verify the authenticity of packets sent by neighboring routers on an IS-IS interface

CSNP-Authentication

Indicates whether authentication of CSNP packets is enabled

HELLO-Authentication

Indicates whether authentication of Hello packets is enabled

PSNP Authentication

Indicates whether authentication of PSNP packets is enabled

Traffic Engineering

Enabled: TE is enabled for the router

Disabled: TE is disabled; TE metrics are not generated and are ignored when received by this node

Overload-on-Boot Timeout

The length of time that IS-IS is in the overload state upon boot-up

Overload Max-Metric

True: the max-metric parameter is enabled

False: the max-metric parameter is disabled

Overload-On-Boot Max-Metric

True: the max-metric parameter is enabled

False: the max-metric parameter is disabled

LSP Lifetime

The length of time that the LSPs originated by the router are to be considered valid by other routers in the domain

LSP Wait (ms)

The length of time that the router will generate the first, second, and subsequent LSPs

LSP MTU Size

The MTU size for LSPs (configured and operational)

L1 LSP MTU Size

The MTU size for level 1 LSPs (derived from the LSP MTU size)

L2 LSP MTU Size

The MTU size for level 2 LSPs (derived from the LSP MTU size)

Adjacency Check

Type of adjacency check – always ‟loose”

L1 Auth Keychain

Enabled: an authentication keychain is enabled on the level 1 router

Disabled: an authentication keychain is disabled on the level 1 router

L1 Auth Type

The method of authentication used to verify the authenticity of packets sent by neighboring routers to an IS-IS level 1 router

L1 CSNP-Authentication

Indicates whether authentication of CSNP packets is enabled on the level 1 router

L1 HELLO-Authentication

Indicates whether authentication of Hello packets is enabled on the level 1 router

L1 PSNP- Authentication

Indicates whether authentication of PSNP packets is enabled on the level 1 router

L1 Preference

The preference level for level 1 internal routes

L1 Ext. Preference

The preference level for level 1 external routes

L1 Wide Metrics

Indicates whether wide metrics are enabled or disabled for level 1 routers

L1 LSDB Overload

Indicates whether link-state database overload is enabled or disabled for level 1 routers

L1 LSPs

Number of LSPs sent on the level 1 router interface

L1 Default Metric

The default metric for the level 1 router interface

L1 IPv6 Def Metric

The default metric for the level 1 router IPv6 interface

L1 Mcast IPv4 Def Metric

The default metric for the level 1 multicast IPv4 interface

L1 Mcast IPv6 Def Metric

The default metric for the level 1 multicast IPv6 interface

L1 Adv Router Cap

The level 1 advertised router capacity

Last SPF

Date and time that the last SPF calculation was performed

SPF Wait (ms)

Length of time that the first, second, and subsequent SPF calculations are initiated after a topology change occurs

Area Addresses

The number of area addresses (area IDs) configured for the router

Total Exp Routes(L1)

Total number of routes exported from the routing table to a level 1 router

IID TLV

Indicates whether the IID TLV is enabled or disabled for this IS-IS instance

All-L1-MacAddr

Indicates the MAC address used by this level 1 router interface. For the default (base) IS-IS instance, the MAC address is 01:80:c2:00:00:14. For all other IS-IS instances, the MAC address is 01:00:5e:90:00:02.

L2 Auth Keychain

Enabled: an authentication keychain is enabled on the level 2 router

Disabled: an authentication keychain is disabled on the level 2 router

L2 Auth Type

The method of authentication used to verify the authenticity of packets sent by neighboring routers to an IS-IS level 2 router

L2 CSNP-Authentication

Indicates whether authentication of CSNP packets is enabled on the level 2 router

L2 HELLO-Authentication

Indicates whether authentication of Hello packets is enabled on the level 2 router

L2 PSNP- Authentication

Indicates whether authentication of PSNP packets is enabled on the level 2 router

L2 Preference

The preference level for level 2 internal routes

L2 Ext. Preference

The preference level for level 2 external routes

L2 Wide Metrics

Indicates whether wide metrics are enabled or disabled for level 2 routers

L2 LSDB Overload

Indicates whether link-state database overload is enabled or disabled for level 2 routers

L2 LSPs

Number of LSPs sent on the level 2 router interface

L2 Default Metric

The default metric for the level 2 router interface

L2 IPv6 Def Metric

The default metric for the level 2 router IPv6 interface

L2 Mcast IPv4 Def Metric

The default metric for the level 2 multicast IPv4 interface

L2 Mcast IPv6 Def Metric

The default metric for the level 2 multicast IPv6 interface

L2 Adv Router Cap

The level 2 advertised router capacity

Export Policies

Indicates if export policies are applied to the router

LFA Policies

Lists the defined LFA policies

Ignore Attached Bit

Indicates whether the ATT bit is ignored on received level 1 LSPs and therefore the level 1 router does not install default routes

Suppress Attached Bit

Indicates whether the ATT bit is suppressed on originating level 1 LSPs to prevent level 1 routers from installing default routes

Default Route Tag

n/a

Rib Prio List High

n/a

Rib Prio Tag High

n/a

Ldp Sync Admin State

Indicates whether the IGP-LDP synchronization feature is enabled or disabled on all interfaces participating in the IS-IS routing protocol

LDP-over-RSVP

Indicates whether LDP over RSVP processing is enabled in IS-IS

RSVP-Shortcut

Indicates whether RSVP-TE shortcuts (IGP shortcuts) are enabled

Advertise-Tunnel-Link

Indicates whether forwarding adjacencies are enabled

Export Limit

The maximum number of routes that can be exported into IS-IS from the route table

Exp Lmt Log Percent

The percentage of the maximum number of routes at which a warning message and SNMP notification is sent

Total Exp Routes(L2)

Total number of routes exported from the routing table to a level 2 router

All-L2-MacAddr (Cfg)

Indicates the MAC address used by this level 2 router interface. For the default (base) IS-IS instance, the MAC address is 01:80:c2:00:00:15. For all other IS-IS instances, the MAC address is 01:00:5e:90:00:03.

Loopfree-Alternate

Indicates whether LFA is enabled

Remote-LFA

Indicates if remote LFA is enabled or disabled under the loopfree-alternate command

Max PQ Cost

Indicates the configured maximum PQ cost under the loopfree-alternate command

TI-LFA (node-protect)

Indicates if TI-LFA is enabled or disabled under the loopfree-alternate command

Max SR FRR Labels

The maximum number of segment routing FRR labels

L1 LFA

Indicates whether interfaces in this level are included in the LFA SPF calculation

L2 LFA

Indicates whether interfaces in this level are included in the LFA SPF calculation

Advertise Router Cap

Indicates whether router capabilities are enabled

Hello Padding

Indicates whether hello padding is enabled

L1 Hello Padding

Indicates whether level 1 hello padding is enabled

L2 Hello Padding

Indicates whether level 2 hello padding is enabled

Ignore Lsp Errors

Indicates whether ignoring LSP errors is enabled

Reference Bandwidth

Indicates configured reference bandwidth for calculating interface metrics

Ucast Import Disable

Indicates whether ISIS is configured to import its routes into RPF RTM (the multicast routing table)

Segment Routing

Indicates whether segment routing is enabled

Mapping Server

Indicates whether server mapping is enabled

Purge Originator Id

Indicates whether the Purge Originator Identification (POI) TLV is enabled

Entropy Label

Indicates whether entropy label is enabled

Override ELC

Indicates whether entropy label capability is enabled for BGP tunnels

summary-address
Syntax

summary-address [ip-prefix[/prefix-length]]

Context

show>router>isis

Description

This command displays IS-IS summary addresses for the specified IS-IS instance.

To display statistics information for all IS-IS instances, use the show router isis all context.

Parameters
ip-prefix/prefix-length

IPv4 or IPv6 prefix and prefix length

Output

The following output is an example of IS-IS summary address information, and Summary address field descriptions describes the fields.

Output example
A:ALU-A# show router isis summary-address
===============================================================================
Rtr Base ISIS Instance 0 Summary Address
===============================================================================
Address                                           Level               Tag
10.0.0.0/8                                         L1                  None   
10.3.3.3/32                                        L2                  None   
-------------------------------------------------------------------------------
A:ALU-A# 
Table 20. Summary address field descriptions

Label

Description

Address

The IP address

Level

The IS-IS level from which the prefix should be summarized

Tag

The IS-IS tag (if any) assigned to this summary address

topology
Syntax

topology [ipv4-multicast | ipv6-multicast | ipv4-unicast | ipv6-unicast | mt mt-id-number] [lfa] [detaill]

Context

show>router>isis

Description

This command displays IS-IS topology information for the specified IS-IS instance.

To display topology information for all IS-IS instances, use the show router isis all context.

Parameters
ipv4-multicast

displays IPv4 multicast parameters

ipv4-unicast

displays IPv4 unicast parameters

ipv6-multicast

displays IPv6 multicast parameters

ipv6-unicast

displays IPv6 unicast parameters

mt-id-number

displays information for the specified multitopology. The value can be 0, 2, 3, or 4.

lfa

displays LFA information

detail

displays detailed topology information

Output

The following outputs are examples of IS-IS topology information, and IS-IS topology field descriptions describes the fields.

Output example
A:ALU-A# show router isis topology 
===============================================================================
Rtr Base ISIS Instance 0 Topology Table 
===============================================================================
Node                                Interface                  Nexthop
-------------------------------------------------------------------------------
-------------------------------------------------------------------------------
IS-IS IP paths (MT-ID 0),   Level 1
-------------------------------------------------------------------------------
7705:ALU-A.00                       ip-10.20.1.2               7705:ALU-A
7705:ALU-A.00                       ip-10.20.3.2               7705:ALU-A
-------------------------------------------------------------------------------
IS-IS IP paths (MT-ID 0),   Level 2
-------------------------------------------------------------------------------
7705:ALU-C.00                       ip-10.20.4.1               7705:ALU-C
7705:ALU-C.00                       ip-10.20.6.1               7705:ALU-C
7705:ALU-D.00                       ip-10.20.4.1               7705:ALU-C
7705:ALU-D.00                       ip-10.20.6.1               7705:ALU-C
7705:ALU-D.01                       ip-10.20.4.1               7705:ALU-C
7705:ALU-D.01                       ip-10.20.6.1               7705:ALU-C
7705:ALU-F.00                       ip-10.20.13.1              7705:ALU-F
===============================================================================
A:ALU-A# show router isis topology detail 
===============================================================================
Rtr Base ISIS Instance 0 Topology Table 
===============================================================================
-------------------------------------------------------------------------------
IS-IS IP paths (MT-ID 0),   Level 1
-------------------------------------------------------------------------------
Node      : 7705:ALU-A.00                    Metric      : 10
Interface : ip-10.20.1.2                     SNPA        : none
Nexthop   : 7705:ALU-A 
 
Node      : 7705:ALU-A.00                    Metric      : 10
Interface : ip-10.20.3.2                     SNPA        : none
Nexthop   : 7705:ALU-A 
 
-------------------------------------------------------------------------------
IS-IS IP paths (MT-ID 0),   Level 2
-------------------------------------------------------------------------------
Node      : 7705:ALU-C.00                    Metric      : 10
Interface : ip-10.20.4.1                     SNPA        : none
Nexthop   : 7705:ALU-C                       
 
Node      : 7705:ALU-C.00                    Metric      : 10
Interface : ip-10.20.6.1                     SNPA        : none
Nexthop   : 7705:ALU-C 
 
Node      : 7705:ALU-D.00                    Metric      : 20
Interface : ip-10.20.4.1                     SNPA        : none
Nexthop   : 7705:ALU-C 
 
Node      : 7705:ALU-D.00                    Metric      : 20
Interface : ip-10.20.6.1                     SNPA        : none
Nexthop   : 7705:ALU-C 
 
Node      : 7705:ALU-D.01                    Metric      : 20
Interface : ip-10.20.4.1                     SNPA        : none
Nexthop   : 7705:ALU-C 
 
Node      : 7705:ALU-D.01                    Metric      : 20
Interface : ip-10.20.6.1                     SNPA        : none
Nexthop   : 7705:ALU-C 
 
Node      : 7705:ALU-F.00                    Metric      : 10
Interface : ip-10.20.13.1                    SNPA        : none
Nexthop   : 7705:ALU-F 
 
===============================================================================
A:ALU-A#
*A:Sar18 Dut-B>show>router# isis topology lfa
===============================================================================
Rtr Base ISIS Instance 0 Topology Table
===============================================================================
Node                                Interface                  Nexthop
                                       LFA Interface              LFA Nexthop
-------------------------------------------------------------------------------
No Matching Entries
===============================================================================
*A:Sar18 Dut-B>show>router#
A:ALU-A# show router isis topology lfa detail
===============================================================================
Rtr Base ISIS Instance 0 Topology Table
===============================================================================
-------------------------------------------------------------------------------
IS-IS IP paths (MT-ID 0),   Level 1
-------------------------------------------------------------------------------
Node      : 7705:ALU-A.00                    Metric      : 10
Interface : ip-10.20.1.2                     SNPA        : none
Nexthop   : 7705:ALU-A 
 
Node      : 7705:ALU-A.00                    Metric      : 10
Interface : ip-10.20.3.2                     SNPA        : none
Nexthop   : 7705:ALU-A 
 
Node      : 7705:ALU-D.00                    Metric      : 20
Interface : ip-10.20.6.1                     SNPA        : 00:00:00:00:00:02
Nexthop   : 7705:ALU-B

LFA intf  : to_ALU-C1                        LFA Metric  : 40
LFA nh    : 7705:ALU-E                       LFA type    : nodeProtection

-------------------------------------------------------------------------------
IS-IS IP paths (MT-ID 0),   Level 2
-------------------------------------------------------------------------------
Node      : 7705:ALU-C.00                    Metric      : 10
Interface : ip-10.20.4.1                     SNPA        : none
Nexthop   : 7705:ALU-C                       
 
Node      : 7705:ALU-C.00                    Metric      : 10
Interface : ip-10.20.6.1                     SNPA        : none
Nexthop   : 7705:ALU-C 
 
Node      : 7705:ALU-D.00                    Metric      : 20
Interface : ip-10.20.4.1                     SNPA        : none
Nexthop   : 7705:ALU-C 
 
Node      : 7705:ALU-D.00                    Metric      : 20
Interface : ip-10.20.6.1                     SNPA        : none
Nexthop   : 7705:ALU-C 
 
Node      : 7705:ALU-D.01                    Metric      : 20
Interface : ip-10.20.4.1                     SNPA        : none
Nexthop   : 7705:ALU-C 
 
Node      : 7705:ALU-D.01                    Metric      : 20
Interface : ip-10.20.6.1                     SNPA        : none
Nexthop   : 7705:ALU-C 
 
Node      : 7705:ALU-F.00                    Metric      : 10
Interface : ip-10.20.13.1                    SNPA        : none
Nexthop   : 7705:ALU-F 
 
===============================================================================
A:ALU-A#
Table 21. IS-IS topology field descriptions

Label

Description

Node

The IP address

Interface

The interface name

Nexthop

The next-hop IP address

Metric

The route metric for the route

SNPA

The subnetwork points of attachment (SNPA) where a router is physically attached to a subnetwork

LFA intf

LFA interface

The LFA interface name

LFA Metric

The route metric for the LFA backup route

LFA nh

LFA nexthop

The LFA next hop

LFA type

The LFA protection type: link protection or node protection

Clear commands

isis
Syntax

isis [isis-instance]

Context

clear>router

Description

This command enables the context to clear IS-IS information.

Parameters
isis-instance

the IS-IS instance ID. If no isis-instance is specified, instance 0 is used.

Values

0 to 31

adjacency
Syntax

adjacency [system-id]

Context

clear>router>isis

Description

This command clears and resets the entries from the IS-IS adjacency database.

Parameters
system-id

6-octet system identifier in the form xxxx.xxxx.xxxx

database
Syntax

database [system-id]

Context

clear>router>isis

Description

This command removes the entries from the IS-IS link-state database that contains information about PDUs.

Parameters
system-id

6-octet system identifier in the form xxxx.xxxx.xxxx

export
Syntax

export

Context

clear>router>isis

Description

This command re-evaluates the route policies for IS-IS.

spf-log
Syntax

spf-log

Context

clear>router>isis

Description

This command clears the SPF log.

statistics
Syntax

statistics

Context

clear>router>isis

Description

This command clears and resets all IS-IS statistics.

Monitor commands

isis
Syntax

isis [isis-instance]

Context

monitor>router

Description

This command enables the context to monitor IS-IS information.

Parameters
isis-instance

the IS-IS instance ID; if no isis-instance is specified, instance 0 is used

Values

0 to 31

statistics
Syntax

statistics [interval seconds] [repeat repeat] [absolute | rate]

Context

monitor>router>isis

Description

This command monitors statistics for IS-IS instances.

Parameters
seconds

specifies the interval for each display in seconds

Values

3 to 60

Default

10

repeat

specifies the number of times the command is repeated

Values

1 to 999

Default

10

absolute

specifies that raw statistics are displayed, without processing. No calculations are performed on the delta or rate statistics.

rate

specifies the rate per second for each statistic instead of the delta

Output

The following output is an example of statistics information for a router IS-IS instance.

Output example
A:7705custDoc:Sar18>monitor>router>isis# statistics
===============================================================================
ISIS Statistics
===============================================================================
-------------------------------------------------------------------------------
At time t = 0 sec (Base Statistics)
-------------------------------------------------------------------------------
ISIS Instance     : 0                       SPF Runs       : 0
Purge Initiated   : 0                       LSP Regens.    : 73
CSPF Statistics
Requests          : 0                       Request Drops  : 0
Paths Found       : 0                       Paths Not Found: 0
-------------------------------------------------------------------------------
PDU Type   Received   Processed  Dropped    Sent       Retransmitted
-------------------------------------------------------------------------------
LSP        0          0          0          0          0
IIH        0          0          0          0          0
CSNP       0          0          0          0          0
PSNP       0          0          0          0          0
Unknown    0          0          0          0          0
-------------------------------------------------------------------------------
At time t = 10 sec (Mode: Delta)
-------------------------------------------------------------------------------
ISIS Instance     : 0                       SPF Runs       : 0
Purge Initiated   : 0                       LSP Regens.    : 0
CSPF Statistics
Requests          : 0                       Request Drops  : 0
Paths Found       : 0                       Paths Not Found: 0
-------------------------------------------------------------------------------
PDU Type   Received   Processed  Dropped    Sent       Retransmitted
-------------------------------------------------------------------------------
LSP        0          0          0          0          0
IIH        0          0          0          0          0
CSNP       0          0          0          0          0
PSNP       0          0          0          0          0
Unknown    0          0          0          0          0
-------------------------------------------------------------------------------
At time t = 20 sec (Mode: Delta)
-------------------------------------------------------------------------------
ISIS Instance     : 0                       SPF Runs       : 0
Purge Initiated   : 0                       LSP Regens.    : 0
CSPF Statistics
Requests          : 0                       Request Drops  : 0
Paths Found       : 0                       Paths Not Found: 0
-------------------------------------------------------------------------------
PDU Type   Received   Processed  Dropped    Sent       Retransmitted
-------------------------------------------------------------------------------
LSP        0          0          0          0          0
IIH        0          0          0          0          0
CSNP       0          0          0          0          0
PSNP       0          0          0          0          0
Unknown    0          0          0          0          0
-------------------------------------------------------------------------------

Debug commands

isis
Syntax

isis [isis-instance]

Context

debug>router

Description

This command enables the context to debug IS-IS information.

Parameters
isis-instance

the IS-IS instance ID. If no isis-instance is specified, instance 0 is used.

Values

0 to 31

adjacency
Syntax

[no] adjacency [ip-int-name | ip-address | nbr-system-id]

Context

debug>router>isis

Description

This command enables or disables debugging for IS-IS adjacency.

Parameters
ip-int-name

debugs only adjacencies with the specified interface

ip-address

debugs only adjacencies with the specified IPv4 or IPv6 address

nbr-system-id

debugs only the adjacency with the specified system ID

cspf
Syntax

[no] cspf

Context

debug>router>isis

Description

This command enables or disables debugging for an IS-IS constraint-based shortest path first (CSPF).

interface
Syntax

interface [ip-int-name | ip-address]

no interface

Context

debug>router>isis

Description

This command enables or disables debugging for an IS-IS interface.

Parameters
ip-int-name

the IP interface name. An interface name cannot be in the form of an IP address. Interface names can be any string up to 32 characters long composed of printable, 7-bit ASCII characters. If the string contains special characters (such as #, $, or spaces), the entire string must be enclosed within double quotes.

ip-address

the interface IPv4 or IPv6 address

leak
Syntax

leak [ip-address]

no leak

Context

debug>router>isis

Description

This command enables or disables debugging for IS-IS leaks.

Parameters
ip-address

the IPv4 or IPv6 address to debug for IS-IS leaks

lsdb
Syntax

[no] lsdb [level-number] [system-id | lsp-id]

Context

debug>router>isis

Description

This command enables or disables debugging for the IS-IS link-state database.

Parameters
level-number

1 or 2

system-id

6-octet system identifier in the form xxxx.xxxx.xxxx

lsp-id

the hostname (38 characters maximum)

misc
Syntax

[no] misc

Context

debug>router>isis

Description

This command enables or disables debugging for miscellaneous IS-IS events.

packet
Syntax

[no] packet [packet-type] [ip-int-name | ip-address | ipv6-address] [detail]

Context

debug>router>isis

Description

This command enables or disables debugging for IS-IS packets.

Parameters
packet-type

the IS-IS packet type to debug

Values

ptop-hello | l1-hello | l2-hello | l1-psnp | l2-psnp |  l1-csnp | l2- csnp | l1-lsp | l2-lsp

ip-int-name

the IP interface name. An interface name cannot be in the form of an IP address. Interface names can be any string up to 32 characters long composed of printable, 7-bit ASCII characters. If the string contains special characters (such as #, $, or spaces), the entire string must be enclosed within double quotes.

ip-address

the IPv4 address to debug

ipv6-address

the IPv6 address to debug

detail

provides detailed debugging information

rtm
Syntax

rtm [ip-address]

no rtm

Context

debug>router>isis

Description

This command enables or disables debugging for the IS-IS routing table manager.

Parameters
ip-address

the IPv4 or IPv6 address to debug

spf
Syntax

[no] spf [level-number] [system-id]

Context

debug>router>isis

Description

This command enables or disables debugging for IS-IS SPF calculations.

Parameters
level-number

1 or 2

system-id

6-octet system identifier in the form xxxx.xxxx.xxxx